LEMON Manuals: Even more car manuals for everyone: 1960-2025
Home >> Pontiac >> 2004 >> Vibe GT >> Repair and Diagnosis >> Engine Performance >> System >> Engine Control System (Introduction) -- 1.8L (LNK) >> Description and Operation >> Air Intake System Description >> Auxiliary Intake Air Control System
April 5, 2026: LEMON Manuals is launched! Read the announcement.

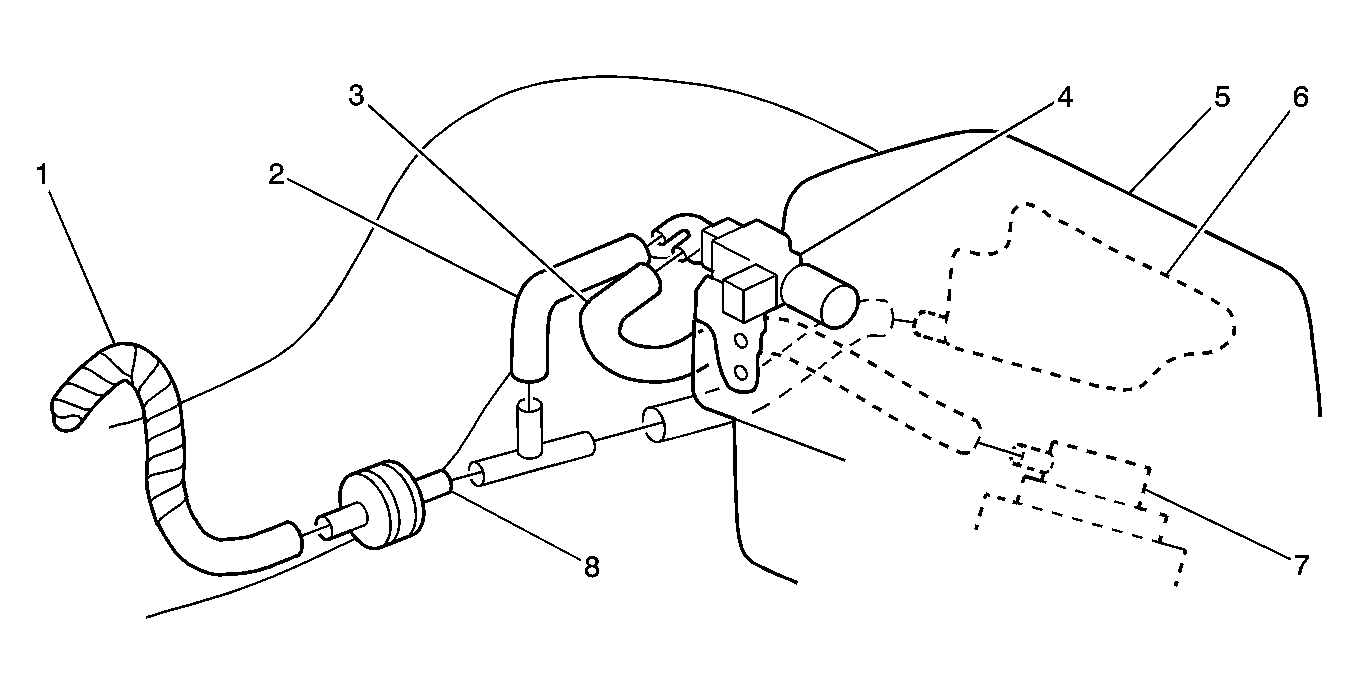
Auxiliary Intake Air Control System

Fig 1: Auxiliary Intake Air Control System Component View
GM833868Courtesy of GENERAL MOTORS CORP.
Callout Component Name
1 Vacuum Supply Hose
2 Manifold Vacuum to Solenoid
3 Manifold Vacuum to Intake Air Door
4 Auxiliary Intake Air Control Solenoid
5 Upper Air Cleaner Housing
6 Vacuum Storage Chamber
7 Intake Air Door Motor
8 Vacuum Check Valve

The auxiliary intake air control system supplies additional air to the engine during hard acceleration and when operating under high engine loads. The lower air cleaner (ACL) housing has two inlet air ducts. The auxiliary inlet air duct is opened or closed by a vacuum operated door. Manifold vacuum is supplied to the door motor (7) by a vacuum solenoid (4). The solenoid is low side controlled by the powertrain control module (PCM). A constant supply of vacuum pressure is assured by the use of a vacuum check valve (8) and a vacuum storage chamber (6). The auxiliary intake air door is open when there is no vacuum applied. The PCM closes the door for most driving conditions. For diagnosis of the auxiliary intake air system refer to Auxiliary Intake Air System Diagnosis .