LEMON Manuals: Even more car manuals for everyone: 1960-2025
Home >> Pontiac >> 2005 >> Aztek Base, AWD >> Repair and Diagnosis >> Electrical >> Body Electrical >> OEM Connector End Views >> Connector End Views >> Inflatable Restraint I/P Module Connector End View - Aztek
April 5, 2026: LEMON Manuals is launched! Read the announcement.

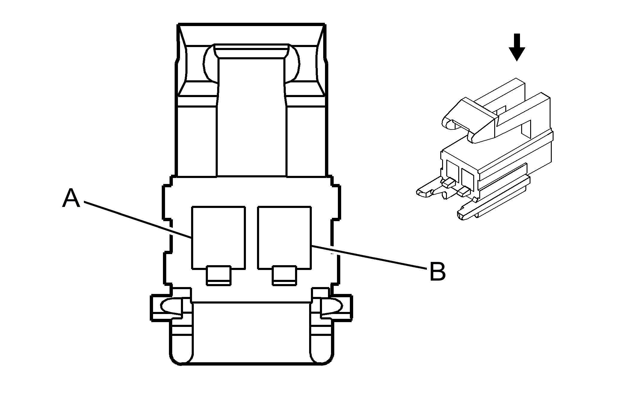
Inflatable Restraint I/P Module Connector End View - Aztek

Inflatable Restraint I/P Module Connector End View - Aztek

GM295469Courtesy of GENERAL MOTORS CORP.
Connector Part Information
  • 12110505
  • 2-Way F Metri-Pack 150 Series (YE)
Pin Wire Color Circuit No. Function
A D- GN/
WH
1404 I/P Module Low Control
B WH/BK 1403 I/P Module High Control