LEMON Manuals: Even more car manuals for everyone: 1960-2025
Home >> Pontiac >> 2005 >> Aztek Base, AWD >> Repair and Diagnosis >> Quick Lookups >> Wiring Diagrams >> OEM Connector End Views >> Connector End Views >> Inflatable Restraint Sensing and Diagnostic Module (SDM) Connector End View - Aztek
April 5, 2026: LEMON Manuals is launched! Read the announcement.

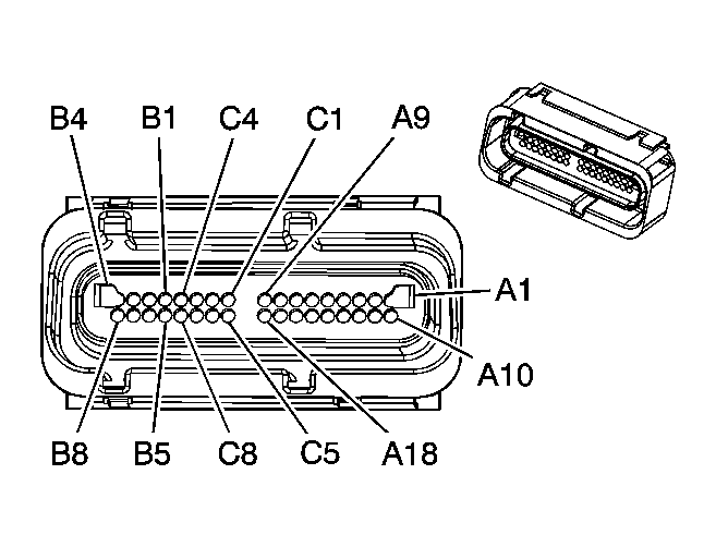
Inflatable Restraint Sensing and Diagnostic Module (SDM) Connector End View - Aztek

Inflatable Restraint Sensing and Diagnostic Module (SDM) Connector End View - Aztek

GM1394178Courtesy of GENERAL MOTORS CORP.
Connector Part Information
  • 15354773
  • 34-Way F Micro-Pack (YE)
Pin Wire Color Circuit No. Function
A1 WH 347 Steering Wheel Module High Control
A2 D- GN 348 Steering Wheel Module Low Control
A3 D- GN/
WH
1404 I/P Module Low Control
A4 WH/BK 1403 I/P Module High Control
A5 BN 2137 Side Impact Module - LF High Control (AJ7)
A6 YE/BK 2138 Side Impact Module - LF Low Control (AJ7)
A7 L- GN 2136 Side Impact Module - RF Low Control (AJ7)
A8 BK/WH 2135 Side Impact Module - RF High Control (AJ7)
A9 BK/WH 1751 Ground
A10 YE 1139 Ignition 1 Voltage
A11 D- BU 1128 Class 2 Serial Data
A12-A13 - - Not Used
A14 BK/WH 238 Seat Belt Switch - Left
A15-A18 - - Not Used
B1-B8 - - Not Used
C1-C4 - - Not Used
C5 YE 2131 Side Impact Sensing Module - Left - Voltage (AJ7)
C6 WH 2132 Side Impact Sensing Module - Left - Signal (AJ7)
C7 D- GN 2134 Side Impact Sensing Module - Right - Signal (AJ7)
C8 TN 2133 Side Impact Sensing Module - Right - Voltage (AJ7)