LEMON Manuals: Even more car manuals for everyone: 1960-2025
Home >> Pontiac >> 2005 >> Aztek Base, FWD >> Repair and Diagnosis >> Engine Performance >> System >> Engine Controls - 3.4L - Introduction >> Repair Instructions >> Fuel Injector Replacement >> Installation Procedure
April 5, 2026: LEMON Manuals is launched! Read the announcement.

Installation Procedure

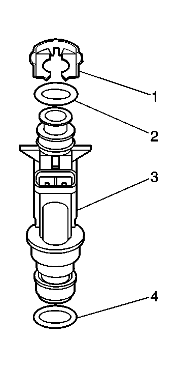
    Fig 1: Exploded View Of Fuel Injector & Components
    GM537311Courtesy of GENERAL MOTORS CORP.
  1. Install the fuel injector upper O-ring (2).
  2. Install the fuel injector lower O-ring (4).
  3. Install the fuel injector (3) to the fuel rail.
  4. Install the fuel injector retaining clip (1).
  5. Install the fuel rail. Refer to Fuel Rail Assembly Replacement .
  6. Inspect for fuel leaks with the following procedure:
    1. Turn ON the ignition for 2 seconds.
    2. Turn OFF the ignition for 10 seconds.
    3. Turn ON the ignition.
    4. Inspect for fuel leaks.