Engine Control Module (ECM) Connectors
WARNING: This page is about a different car, the 2005 Chevrolet Corvette. However, it is still accessible from the selected car via links, so may be relevant.
Engine Control Module (ECM) - C1 (MM6)
| Connector Part Information |
|
||
|---|---|---|---|
| Pin | Wire Color | Circuit No. | Function |
| 1 | TN/BK | 2500 | High Speed GMLAN Serial Data Bus+ |
| 2 | TN | 2501 | High Speed GMLAN Serial Data Bus- |
| 3 | - | - | Not Used |
| 4 | BN/WH | 419 | MIL Control |
| 5-6 | - | - | Not Used |
| 7 | BN | 1271 | Low Reference |
| 8 | PU | 1272 | Low Reference |
| 9 | - | - | Not Used |
| 10 | WH/BK | 448 | Ignition 1 Relay Control |
| 11-12 | - | - | Not Used |
| 13 | YE/BK | 625 | Starter Enable Relay Control |
| 14 | PK | 439 | Ignition 1 Voltage |
| 15-17 | - | - | Not Used |
| 18 | YE | 43 | Accessory Voltage |
| 19 | PK | 1439 | Ignition 1 Voltage |
| 20 | RD/WH | 2440 | Battery Positive Voltage |
| 21 | D-GN/WH | 817 | Vehicle Speed Signal |
| 22 | D-BU | 1161 | APP Sensor 1 Signal |
| 23 | - | - | Not Used |
| 24 | D-GN | 890 | Fuel Tank Pressure Sensor Signal |
| 25 | - | - | Not Used |
| 26 | OG/BK | 380 | A/C Refrigerant Pressure Sensor Signal |
| 27-28 | - | - | Not Used |
| 29 | TN | 1274 | 5-Volt Reference |
| 30 | GY | 2700 | 5-Volt Reference |
| 31 | GY | 2709 | 5-Volt Reference |
| 32 | WH | 17 | Stop Lamp Switch Signal |
| 33-34 | - | - | Not Used |
| 35 | WH/BK | 1164 | 5-Volt Reference |
| 36 | D-GN | 335 | Cooling Fan Speed Control |
| 37 | D-BU | 1936 | Fuel Level Sensor Signal - Primary |
| 38 | - | - | Not Used |
| 39 | L-BU | 1937 | Fuel Level Sensor Signal - Secondary |
| 40 | - | - | Not Used |
| 41 | L-BU | 1162 | APP Sensor 2 Signal |
| 42 | L-GN | 1652 | Reverse Lockout Solenoid Control |
| 43 | GY | 48 | CPP Switch Signal |
| 44 | - | - | Not Used |
| 45 | D-GN/WH | 465 | Fuel Pump Relay Control - Primary |
| 46-47 | - | - | Not Used |
| 48 | WH | 121 | Engine Speed Signal |
| 49-50 | - | - | Not Used |
| 51 | PU/WH | 1035 | Starter Relay Coil Supply Voltage |
| 52-53 | - | - | Not Used |
| 54 | WH | 1310 | EVAP Canister Vent Solenoid Control |
| 55 | BK/WH | 2751 | Low Reference |
| 56 | - | - | Not Used |
Engine Control Module (ECM) - C1 (M32)
| Connector Part Information |
|
||
|---|---|---|---|
| Pin | Wire Color | Circuit No. | Function |
| 1 | TN/BK | 2500 | High Speed GMLAN Serial Data Bus+ |
| 2 | TN | 2501 | High Speed GMLAN Serial Data Bus- |
| 3 | - | - | Not Used |
| 4 | BN/WH | 419 | MIL Control |
| 5-6 | - | - | Not Used |
| 7 | BN | 1271 | Low Reference |
| 8 | PU | 1272 | Low Reference |
| 9 | - | - | Not Used |
| 10 | WH/BK | 448 | Ignition 1 Relay Control |
| 11-12 | - | - | Not Used |
| 13 | YE/BK | 625 | Starter Enable Relay Control |
| 14 | PK | 439 | Ignition 1 Voltage |
| 15-17 | - | - | Not Used |
| 18 | YE | 43 | Accessory Voltage |
| 19 | PK | 1439 | Ignition 1 Voltage |
| 20 | RD/WH | 2440 | Battery Positive Voltage |
| 21 | D-GN/WH | 817 | Vehicle Speed Signal |
| 22 | D-BU | 1161 | APP Sensor 1 Signal |
| 23 | - | - | Not Used |
| 24 | D-GN | 890 | Fuel Tank Pressure Sensor Signal |
| 25 | - | - | Not Used |
| 26 | OG/BK | 380 | A/C Refrigerant Pressure Sensor Signal |
| 27-28 | - | - | Not Used |
| 29 | TN | 1274 | 5-Volt Reference |
| 30 | GY | 2700 | 5-Volt Reference |
| 31 | GY | 2709 | 5-Volt Reference |
| 32 | WH | 17 | Stop Lamp Switch Signal |
| 33-34 | - | - | Not Used |
| 35 | WH/BK | 1164 | 5-Volt Reference |
| 36 | D-GN | 335 | Cooling Fan Speed Control |
| 37 | D-BU | 1936 | Fuel Level Sensor Signal - Primary |
| 38 | - | - | Not Used |
| 39 | L-BU | 1937 | Fuel Level Sensor Signal - Secondary |
| 40 | - | - | Not Used |
| 41 | L-BU | 1162 | APP Sensor 2 Signal |
| 42-44 | - | - | Not Used |
| 45 | D-GN/WH | 465 | Fuel Pump Relay Control - Primary |
| 46-47 | - | - | Not Used |
| 48 | WH | 121 | Engine Speed Signal |
| 49-53 | - | - | Not Used |
| 54 | WH | 1310 | EVAP Canister Vent Solenoid Control |
| 55 | BK/WH | 2751 | Low Reference |
| 56 | - | - | Not Used |
Engine Control Module (ECM) - C2
| Connector Part Information |
|
||
|---|---|---|---|
| Pin | Wire Color | Circuit No. | Function |
| 1 | L-GN | 3212 | HO2S Heater Low Control - Bank 2 Sensor 1 |
| 2 | GY/WH | 3113 | HO2S Heater Low Control - Bank 1 Sensor 1 |
| 3 | - | - | Not Used |
| 4 | D-BU/WH | 878 | Fuel Injector 8 Control |
| 5 | TN | 1744 | Fuel Injector 1 Control |
| 6 | L-GN/BK | 1745 | Fuel Injector 2 Control |
| 7 | OG/BK | 877 | Fuel Injector 7 Control |
| 8 | L-BU/BK | 844 | Fuel Injector 4 Control |
| 9 | PK/BK | 1746 | Fuel Injector 3 Control |
| 10 | TN/WH | 845 | Fuel Injector 5 Control |
| 11-12 | - | - | Not Used |
| 13 | YE/BK | 846 | Fuel Injector 6 Control |
| 14 | YE/BK | 1868 | Low Reference |
| 15 | PK/BK | 632 | Low Reference |
| 16 | BN | 2129 | Low Reference |
| 17-19 | - | - | Not Used |
| 20 | OG/BK | 469 | Low Reference |
| 21 | BK | 2755 | Low Reference |
| 22-23 | - | - | Not Used |
| 24 | TN/WH | 331 | Oil Pressure Sensor Signal |
| 25 | - | - | Not Used |
| 26 | BN/WH | 633 | CMP Sensor Signal |
| 27 | BN | 1174 | Oil Level Switch Signal |
| 28 | - | - | Not Used |
| 29 | PU | 486 | TP Sensor 2 Signal |
| 30 | - | - | Not Used |
| 31 | D-GN | 485 | TP Sensor 1 Signal |
| 32-34 | - | - | Not Used |
| 35 | GY | 2704 | 5-Volt Reference |
| 36 | TN/WH | 1704 | Low Reference |
| 37 | GY | 2705 | 5-Volt Reference |
| 38-40 | - | - | Not Used |
| 41 | L-BU/BK | 1688 | 5-Volt Reference |
| 42 | - | - | Not Used |
| 43 | L-GN | 1867 | 12-Volt Reference |
| 44 | OG | 631 | 12-Volt Reference |
| 45 | GY | 23 | Generator Field Duty Cycle Signal |
| 46 | L-GN | 432 | MAP Sensor Signal |
| 47 | - | - | Not Used |
| 48 | PU/WH | 1665 | HO2S High Signal - Bank 1 Sensor 1 |
| 49 | TN | 1664 | HO2S Low Signal - Bank 1 Sensor 1 |
| 50 | D-GN/WH | 428 | EVAP Canister Purge Solenoid Control |
| 51 | PU | 1666 | HO2S High Signal - Bank 2 Sensor 1 |
| 52 | TN | 2761 | Low Reference |
| 53 | OG | 2127 | IC 7 Control |
| 54 | PU | 2121 | IC 1 Control |
| 55 | YE | 410 | ECT Sensor Signal |
| 56 | OG | 225 | Generator Turn On Signal |
| 57 | L-BU/WH | 2126 | IC 6 Control |
| 58 | D-GN/WH | 2124 | IC 4 Control |
| 59 | D-GN | 2125 | IC 5 Control |
| 60 | BN | 582 | TAC Motor Control - 2 |
| 61 | L-BU | 2123 | IC 3 Control |
| 62 | D-BU/WH | 1869 | CKP Sensor Signal |
| 63 | YE | 581 | TAC Motor Control - 1 |
| 64 | BN/WH | 2130 | Low Reference |
| 65 | PU/WH | 2128 | IC 8 Control |
| 66 | OG/WH | 2122 | IC 2 Control |
| 67 | - | - | Not Used |
| 68 | D-BU | 496 | Knock Sensor 1 Signal |
| 69 | GY | 1716 | Low Reference |
| 70 | TN | 1667 | HO2S Low Signal - Bank 2 Sensor 1 |
| 71 | GY | 2303 | Low Reference |
| 72 | L-BU | 1876 | Knock Sensor 2 Signal |
| 73 | BK/WH | 451 | Ground |
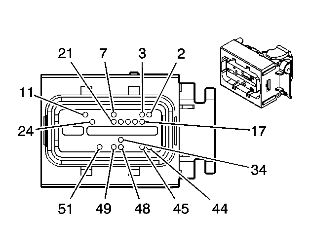
Engine Control Module (ECM) - C3 (MM6)
| Connector Part Information |
|
||
|---|---|---|---|
| Pin | Wire Color | Circuit No. | Function |
| 1 | - | - | Not Used |
| 2 | BN | 2391 | HO2S Heater Low Control - Bank 1 Sensor 2 |
| 3 | OG/WH | 3223 | HO2S Heater Low Control - Bank 2 Sensor 2 |
| 4-6 | - | - | Not Used |
| 7 | YE/BK | 1227 | Low Reference |
| 8-10 | - | - | Not Used |
| 11 | YE | 492 | MAF Sensor Signal |
| 12-16 | - | - | Not Used |
| 17 | TN | 452 | Low Reference |
| 18 | TN/WH | 1669 | HO2S Low Signal Bank 1 Sensor 2 |
| 19 | PU/WH | 1668 | HO2S High Signal Bank 1 Sensor 2 |
| 20 | PU | 1670 | HO2S High Signal Bank 2 Sensor 2 |
| 21 | TN | 1671 | HO2S Low Signal Bank 2 Sensor 2 |
| 22-23 | - | - | Not Used |
| 24 | TN | 2760 | Low Reference |
| 25-33 | - | - | Not Used |
| 34 | TN | 472 | IAT Sensor Signal |
| 35-43 | - | - | Not Used |
| 44 | PU | 401 | VSS Low Signal |
| 45 | YE | 400 | VSS High Signal |
| 46-47 | - | - | Not Used |
| 48 | GY | 587 | Skip/Shift Solenoid Control |
| 49 | TN | 2759 | Low Reference |
| 50 | - | - | Not Used |
| 51 | D-GN/WH | 459 | A/C Compressor Clutch Relay Control |
| 52-56 | - | - | Not Used |
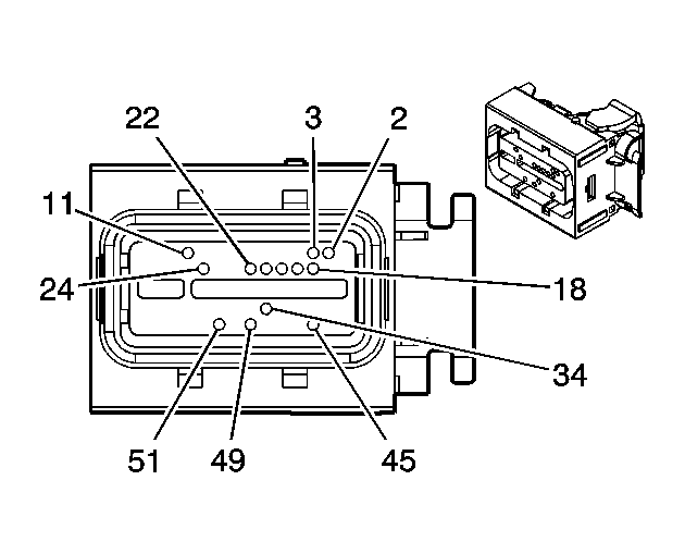
Engine Control Module (ECM) - C3 (M32)
| Connector Part Information |
|
||
|---|---|---|---|
| Pin | Wire Color | Circuit No. | Function |
| 1 | - | - | Not Used |
| 2 | BN | 2391 | HO2S Heater Low Control - Bank 1 Sensor 2 |
| 3 | OG/WH | 3223 | HO2S Heater Low Control - Bank 2 Sensor 2 |
| 4-10 | - | - | Not Used |
| 11 | YE | 492 | MAF Sensor Signal |
| 12-17 | - | - | Not Used |
| 18 | TN/WH | 1669 | HO2S Low Signal Bank 1 Sensor 2 |
| 19 | PU/WH | 1668 | HO2S High Signal Bank 1 Sensor 2 |
| 20 | PU | 1670 | HO2S High Signal Bank 2 Sensor 2 |
| 21 | TN | 1671 | HO2S Low Signal Bank 2 Sensor 2 |
| 22 | OG/BK | 1786 | Park/Neutral Signal |
| 23 | - | - | Not Used |
| 24 | TN | 2760 | Low Reference |
| 25-33 | - | - | Not Used |
| 34 | TN | 472 | IAT Sensor Signal |
| 35-44 | - | - | Not Used |
| 45 | OG | 381 | Vehicle Speed Signal |
| 46-48 | - | - | Not Used |
| 49 | TN | 2759 | Low Reference |
| 50 | - | - | Not Used |
| 51 | D-GN/WH | 459 | A/C Compressor Clutch Relay Control |
| 52-56 | - | - | Not Used |