Powertrain Control Module (PCM) Connector End Views
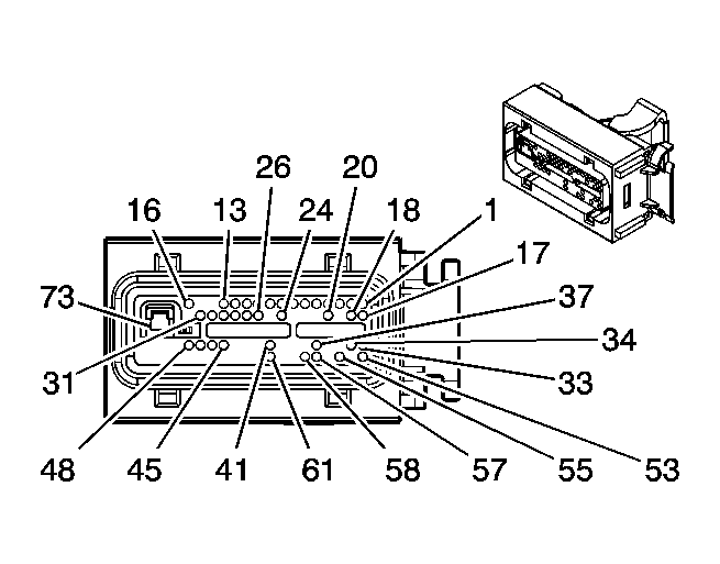
Powertrain Control Module (PCM) C1 (NU3) Connector End View
| Connector Part Information |
|
||
|---|---|---|---|
| Pin | Wire Color | Circuit No. | Function |
| 1-3 | - | - | Not Used |
| 4 | GY | 2700 | 5-Volt Reference |
| 5 | - | - | Not Used |
| 6 | BN/WH | 419 | MIL Control |
| 7 | BK | 2751 | Low Reference |
| 8 | BK | 2759 | Low Reference |
| 9 | - | - | Not Used |
| 10 | WH | 1310 | EVAP Canister Vent Solenoid Control |
| 11 | - | - | Not Used |
| 12 | BK | 476 | Low Reference |
| 13-14 | - | - | Not Used |
| 15 | D-GN | 1049 | PCM Class 2 Serial Data |
| 16-17 | - | - | Not Used |
| 18 | BN | 1141 | Ignition 3 Voltage |
| 19 | PK | 439 | Ignition 1 Voltage |
| 20 | OG | 540 | Battery Positive Voltage |
| 21 | WH | 121 | Engine Speed Signal (ABS) |
| 22 | D-GN | 389 | Vehicle Speed Signal |
| 23 | YE/BK | 625 | Starter Enable Relay Control |
| 24 | BN | 5069 | Powertrain Relay Control |
| 25 | - | - | Not Used |
| 26 | D-GN | 890 | Fuel Tank Pressure Sensor Signal |
| 27-30 | - | - | Not Used |
| 31 | RD/BK | 380 | A/C Refrigerant Pressure Sensor Signal |
| 32 | WH | 17 | Stop Lamp Switch Signal |
| 33 | D-GN/WH | 459 | A/C Compressor Clutch Relay Control |
| 34 | BN | 436 | Air Pump Relay Control |
| 35-36 | - | - | Not Used |
| 37 | D-GN/WH | 465 | Fuel Pump Relay Control |
| 38-42 | - | - | Not Used |
| 43 | PU | 1589 | Fuel Level Sensor Signal |
| 44 | GY | 1884 | Cruise Control Switch Signal |
| 45-47 | - | - | Not Used |
| 48 | D-GN | 335 | Low Speed Cooling Fan Relay Control |
| 49 | - | - | Not Used |
| 50 | D-BU | 473 | High Speed Cooling Fan Relay Control |
| 51-52 | - | - | Not Used |
| 53 | GY | 2709 | 5-Volt Reference |
| 54-56 | - | - | Not Used |
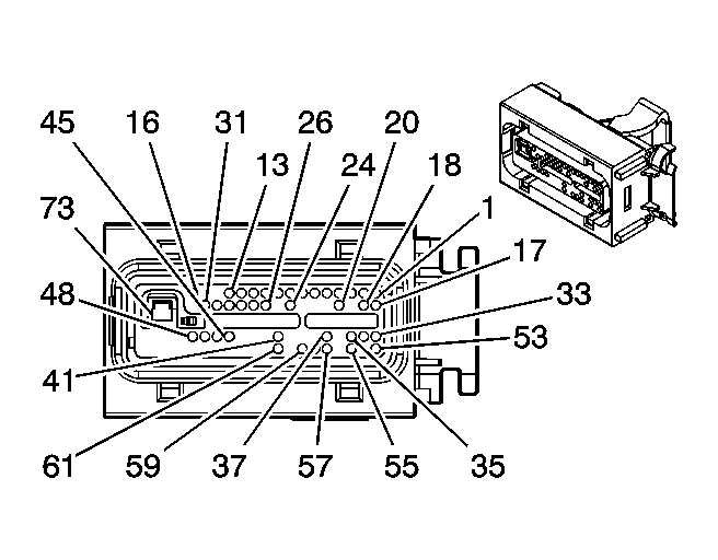
Powertrain Control Module (PCM) C1 (w/o NU3) Connector End View
| Connector Part Information |
|
||
|---|---|---|---|
| Pin | Wire Color | Circuit No. | Function |
| 1-3 | - | - | Not Used |
| 4 | GY | 2700 | 5-Volt Reference |
| 5 | - | - | Not Used |
| 6 | BN/WH | 419 | MIL Control |
| 7 | BK | 2751 | Low Reference |
| 8 | BK | 2759 | Low Reference |
| 9 | - | - | Not Used |
| 10 | WH | 1310 | EVAP Canister Vent Solenoid Control |
| 11-14 | - | - | Not Used |
| 15 | D-GN | 1049 | PCM Class 2 Serial Data |
| 16-17 | - | - | Not Used |
| 18 | BN | 1141 | Ignition 3 Voltage |
| 19 | PK | 439 | Ignition 1 Voltage |
| 20 | OG | 540 | Battery Positive Voltage |
| 21 | WH | 121 | Engine Speed Signal (ABS) |
| 22 | D-GN | 389 | Vehicle Speed Signal |
| 23 | YE/BK | 625 | Starter Enable Relay Control |
| 24 | BN | 5069 | Powertrain Relay Control |
| 25 | - | - | Not Used |
| 26 | D-GN | 890 | Fuel Tank Pressure Sensor Signal |
| 27-30 | - | - | Not Used |
| 31 | RD/BK | 380 | A/C Refrigerant Pressure Sensor Signal |
| 32 | WH | 17 | Stop Lamp Switch Signal |
| 33 | D-GN/WH | 459 | A/C Compressor Clutch Relay Control |
| 34-36 | - | - | Not Used |
| 37 | D-GN/WH | 465 | Fuel Pump Relay Control |
| 38-42 | - | - | Not Used |
| 43 | PU | 1589 | Fuel Level Sensor Signal |
| 44 | GY | 1884 | Cruise Control Switch Signal |
| 45 | YE | 1996 | Remote Shift Selector Signal (L32) |
| 46-47 | - | - | Not Used |
| 48 | D-GN | 335 | Low Speed Cooling Fan Relay Control |
| 49 | - | - | Not Used |
| 50 | D-BU | 473 | High Speed Cooling Fan Relay Control |
| 51-52 | - | - | Not Used |
| 53 | GY | 2709 | 5-Volt Reference |
| 54-56 | - | - | Not Used |
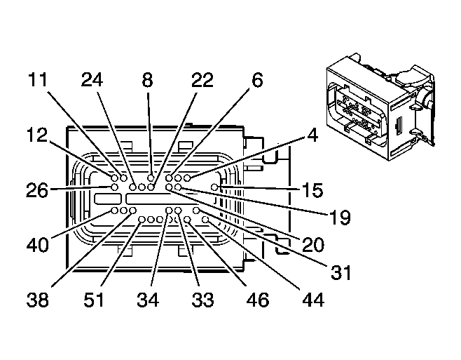
Powertrain Control Module (PCM) C2 (NU3) Connector End View
| Connector Part Information |
|
||
|---|---|---|---|
| Pin | Wire Color | Circuit No. | Function |
| 1 | BN | 1456 | EGR Valve Position Signal |
| 2 | OG/BK | 1061 | UART Serial Data Secondary |
| 3 | TN | 800 | UART Serial Data Primary |
| 4 | BK/WH | 845 | Fuel Injector 5 Control |
| 5 | BK | 1744 | Fuel Injector 1 Control |
| 6 | YE/BK | 846 | Fuel Injector 6 Control |
| 7 | PK/BK | 1746 | Fuel Injector 3 Control |
| 8 | BK | 2753 | Low Reference |
| 9 | L-GN/BK | 1745 | Fuel Injector 2 Control |
| 10 | L-BU/BK | 844 | Fuel Injector 4 Control |
| 11 | TN/BK | 424 | IC Timing Signal |
| 12 | BK/WH | 3112 | HO2S Heater Low Control Sensor 1 |
| 13 | RD | 1676 | EGR Solenoid High Control |
| 14-15 | - | - | Not Used |
| 16 | GY | 435 | EGR Solenoid Low Control |
| 17 | - | - | Not Used |
| 18 | L-GN | 432 | MAP Sensor Signal |
| 19-25 | - | - | Not Used |
| 26 | BK | 630 | Camshaft Position Signal |
| 27 | PU/WH | 430 | Low Resolution Engine Speed Signal |
| 28 | L-BU/BK | 647 | Medium Resolution Engine Speed Signal |
| 29 | BK | 2761 | Low Reference |
| 30 | OG/BK | 469 | Low Reference |
| 31 | BN | 1174 | Oil Level Switch Signal |
| 32 | - | - | Not Used |
| 33 | GY | 2702 | 5-Volt Reference |
| 34 | GY | 2704 | 5-Volt Reference |
| 35 | GY | 474 | 5-Volt Reference |
| 36 | - | - | Not Used |
| 37 | RD/BK | 453 | Low Reference |
| 38-40 | - | - | Not Used |
| 41 | D-GN/WH | 428 | EVAP Canister Purge Solenoid Control |
| 42-44 | - | - | Not Used |
| 45 | GY | 23 | Generator Field Duty Cycle Signal |
| 46 | D-BU | 496 | Knock Sensor 1 Signal |
| 47 | TN/WH | 3111 | HO2S Low Signal |
| 48 | PU/WH | 3110 | HO2S High Signal |
| 49-52 | - | - | Not Used |
| 53 | RD | 225 | Generator Turn On Signal |
| 54 | - | - | Not Used |
| 55 | YE | 410 | ECT Sensor Signal |
| 56 | - | - | Not Used |
| 57 | TN/BK | 231 | Oil Pressure Switch Signal |
| 58 | L-BU | 1876 | Knock Sensor 2 Signal |
| 59 | PK/BK | 429 | AIR Solenoid Control |
| 60 | - | - | Not Used |
| 61 | WH | 423 | IC Timing Control |
| 62-72 | - | - | Not Used |
| 73 | BK/WH | 451 | Ground |
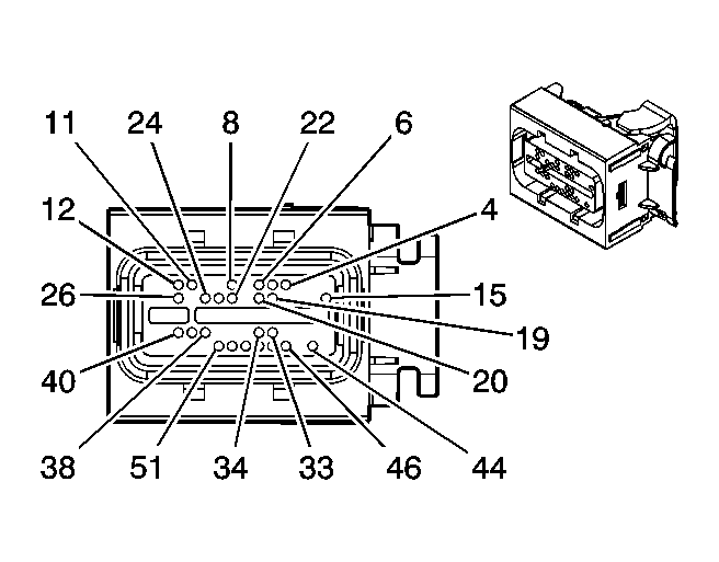
Powertrain Control Module (PCM) C2 (w/o NU3) Connector End View
| Connector Part Information |
|
||
|---|---|---|---|
| Pin | Wire Color | Circuit No. | Function |
| 1 | BN | 1456 | EGR Valve Position Signal |
| 2 | OG/BK | 1061 | UART Serial Data Secondary |
| 3 | TN | 800 | UART Serial Data Primary |
| 4 | BK/WH | 845 | Fuel Injector 5 Control |
| 5 | BK | 1744 | Fuel Injector 1 Control |
| 6 | YE/BK | 846 | Fuel Injector 6 Control |
| 7 | PK/BK | 1746 | Fuel Injector 3 Control |
| 8 | BK | 2753 | Low Reference |
| 9 | L-GN/BK | 1745 | Fuel Injector 2 Control |
| 10 | L-BU/BK | 844 | Fuel Injector 4 Control |
| 11 | TN/BK | 424 | IC Timing Signal |
| 12 | BK/WH | 3112 | HO2S Heater Low Control Sensor 1 |
| 13 | RD | 1676 | EGR Solenoid High Control |
| 14-15 | - | - | Not Used |
| 16 | GY | 435 | EGR Solenoid Low Control |
| 17 | GY | 597 | 5-Volt Reference (L32) |
| 18 | L-GN | 432 | MAP Sensor Signal |
| 19 | - | - | Not Used |
| 20 | BK | 476 | Low Reference (L32) |
| 21-23 | - | - | Not Used |
| 24 | GY/BK | 433 | BARO Sensor Signal (L32) |
| 25 | - | - | Not Used |
| 26 | BK | 630 | Camshaft Position Signal |
| 27 | PU/WH | 430 | Low Resolution Engine Speed Signal |
| 28 | L-BU/BK | 647 | Medium Resolution Engine Speed Signal |
| 29 | BK | 2761 | Low Reference |
| 30 | OG/BK | 469 | Low Reference |
| 31 | BN | 1174 | Oil Level Switch Signal |
| 32 | - | - | Not Used |
| 33 | GY | 2702 | 5-Volt Reference |
| 34 | GY | 2704 | 5-Volt Reference |
| 35-36 | - | - | Not Used |
| 37 | RD/BK | 453 | Low Reference |
| 38-40 | - | - | Not Used |
| 41 | D-GN/WH | 428 | EVAP Canister Purge Solenoid Control |
| 42-44 | - | - | Not Used |
| 45 | GY | 23 | Generator Field Duty Cycle Signal |
| 46 | D-BU | 496 | Knock Sensor 1 Signal |
| 47 | TN/WH | 3111 | HO2S Low Signal |
| 48 | PU/WH | 3110 | HO2S High Signal |
| 49-52 | - | - | Not Used |
| 53 | RD | 225 | Generator Turn On Signal |
| 54 | - | - | Not Used |
| 55 | YE | 410 | ECT Sensor Signal |
| 56 | - | - | Not Used |
| 57 | TN/BK | 231 | Oil Pressure Switch Signal |
| 58 | L-BU | 1876 | Knock Sensor 2 Signal |
| 59-60 | - | - | Not Used |
| 61 | WH | 423 | IC Timing Control |
| 62-72 | - | - | Not Used |
| 73 | BK/WH | 451 | Ground |
Powertrain Control Module (PCM) C3 (NU3) Connector End View
| Connector Part Information |
|
||
|---|---|---|---|
| Pin | Wire Color | Circuit No. | Function |
| 1-3 | - | - | Not Used |
| 4 | TN/WH | 3121 | HO2S Low Signal |
| 5 | YE/BK | 1227 | TFT Sensor Signal |
| 6 | YE | 492 | MAF Sensor Signal |
| 7 | - | - | Not Used |
| 8 | BK/WH | 3122 | HO2S Heater Low Control - Sensor 2 |
| 9-10 | - | - | Not Used |
| 11 | RD/BK | 1230 | AT ISS High Signal |
| 12 | YE | 400 | Signal High - Front |
| 13-14 | - | - | Not Used |
| 15 | GY | 773 | Transmission Range Switch Signal C |
| 16-18 | - | - | Not Used |
| 19 | PU | 3120 | HO2S High Signal |
| 20-21 | - | - | Not Used |
| 22 | YE | 772 | Transmission Range Switch Signal B |
| 23 | WH | 776 | Transmission Range Switch Signal P |
| 24 | WH | 1804 | TCC Release Switch Signal |
| 25 | - | - | Not Used |
| 26 | TN | 472 | IAT Sensor Signal |
| 27-30 | - | - | Not Used |
| 31 | WH | 5268 | Air Pressure Sensor |
| 32 | - | - | Not Used |
| 33 | L-GN | 1222 | 1-2 Shift Solenoid Valve Control |
| 34 | BK/WH | 771 | Transmission Range Switch Signal A |
| 35-38 | - | - | Not Used |
| 39 | TN/BK | 422 | TCC Solenoid Valve Control |
| 40-43 | - | - | Not Used |
| 44 | PU | 401 | Signal Low - Front |
| 45 | - | - | Not Used |
| 46 | YE/BK | 1223 | 2-3 Shift Solenoid Valve Control |
| 47 | RD/BK | 1228 | PC Solenoid Valve High Control (Sol. A) |
| 48 | BK | 452 | Low Reference |
| 49 | D-BU/WH | 1231 | AT ISS Low Signal |
| 50 | BK | 2760 | Low Reference |
| 51 | L-BU/WH | 1229 | PC Solenoid Valve Low Control (Sol. A) |
| 52-56 | - | - | Not Used |
Powertrain Control Module (PCM) C3 (w/o NU3) Connector End View
| Connector Part Information |
|
||
|---|---|---|---|
| Pin | Wire Color | Circuit No. | Function |
| 1-3 | - | - | Not Used |
| 4 | TN/WH | 3121 | HO2S Low Signal |
| 5 | YE/BK | 1227 | TFT Sensor Signal |
| 6 | YE | 492 | MAF Sensor Signal |
| 7 | - | - | Not Used |
| 8 | BK/WH | 3122 | HO2S Heater Low Control - Sensor 2 |
| 9-10 | - | - | Not Used |
| 11 | RD/BK | 1230 | AT ISS High Signal |
| 12 | YE | 400 | Signal High - Front |
| 13-14 | - | - | Not Used |
| 15 | GY | 773 | Transmission Range Switch Signal C |
| 16-18 | - | - | Not Used |
| 19 | PU | 3120 | HO2S High Signal |
| 20 | TN/BK | 464 | Delivered Torque Signal (L32) |
| 21 | - | - | Not Used |
| 22 | YE | 772 | Transmission Range Switch Signal B |
| 23 | WH | 776 | Transmission Range Switch Signal P |
| 24 | WH | 1804 | TCC Release Switch Signal |
| 25 | - | - | Not Used |
| 26 | TN | 472 | IAT Sensor Signal |
| 27-32 | - | - | Not Used |
| 33 | L-GN | 1222 | 1-2 Shift Solenoid Valve Control |
| 34 | BK/WH | 771 | Transmission Range Switch Signal A |
| 35-37 | - | - | Not Used |
| 38 | GY | 1724 | Boost Control Solenoid Control (L32) |
| 39 | TN/BK | 422 | TCC Solenoid Valve Control |
| 40 | OG/BK | 463 | Requested Torque Signal (L32) |
| 41-43 | - | - | Not Used |
| 44 | PU | 401 | Signal Low - Front |
| 45 | - | - | Not Used |
| 46 | YE/BK | 1223 | 2-3 Shift Solenoid Valve Control |
| 47 | RD/BK | 1228 | PC Solenoid Valve High Control (Sol. A) |
| 48 | BK | 452 | Low Reference |
| 49 | D-BU/WH | 1231 | AT ISS Low Signal |
| 50 | BK | 2760 | Low Reference |
| 51 | L-BU/WH | 1229 | PC Solenoid Valve Low Control (Sol. A) |
| 52-56 | - | - | Not Used |