LEMON Manuals: Even more car manuals for everyone: 1960-2025
Home >> Pontiac >> 2005 >> Sunfire Automatic >> Repair and Diagnosis >> Engine Performance >> System >> Engine Controls - 2.2L - Introduction >> Component Locator >> Powertrain Control Module (PCM) Connectors
April 5, 2026: LEMON Manuals is launched! Read the announcement.

Powertrain Control Module (PCM) Connectors

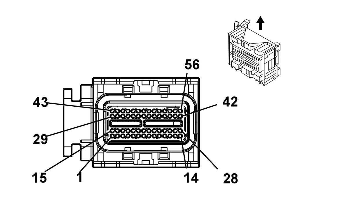
Powertrain Control Module (PCM) C1

GM784851Courtesy of GENERAL MOTORS CORP.
Connector Part Information
  • 15357150
  • 56-Way F Micro-Pack 064 Series (BLU)
Pin Wire Color Circuit No. Function
1-3 - - Not Used
4 PPL 420 TCC Brake Switch/Cruise Control Release Signal
5-6 - - Not Used
7 BLK 2760 Low Reference
8-10 - - Not Used
11 BLK 2759 Low Reference
12-14 - - Not Used
15 PPL 1807 Class 2 Serial Data
16 PPL 1807 Class 2 Serial Data
17-18 - - Not Used
19 PNK 639 Ignition 1 Voltage
20 ORN 480 Battery Positive Voltage
21 TAN 472 IAT Sensor Signal
22 PPL 1589 Fuel Level Sensor Signal
23 GRY 2700 5-Volt Reference
24 - - Not Used
25 GRY 2709 5-Volt Reference
26-32 - - Not Used
33 BRN/WHT 419 MIL Control
34 DK GRN/WHT 817 Vehicle Speed Signal
35-36 - - Not Used
37 RED/BLK 380 A/C Refrigerant Pressure Sensor Signal
38 - - Not Used
39 DK GRN 890 Fuel Tank Pressure Sensor Signal
40-42 - - Not Used
43 DK GRN 335 Cooling Fan Relay Control
44 - - Not Used
45 WHT 1310 EVAP Canister Vent Solenoid Control
46 DK GRN/WHT 465 Fuel Pump Relay Control
47 DK GRN/WHT 459 A/C Compressor Clutch Relay Control
48 - - Not Used
49 DK GRN 83 Cruise Control Inhibit Signal
50 - - Not Used
51 BLK 2751 Low Reference
52-56 - - Not Used
Powertrain Control Module (PCM) C2

GM784850Courtesy of GENERAL MOTORS CORP.
Connector Part Information
  • 15357133
  • 73-Way F Micro-Pack 064 Series (BLK)
Pin Wire Color Circuit No. Function
1 LT BLU/BLK 1748 IAC Coil A Low Control
2 LT BLU/WHT 1747 IAC Coil A High Control
3-4 - - Not Used
5 DK GRN/WHT 428 EVAP Canister Purge Solenoid Control
6 RED/BLK 1228 PC Solenoid Valve High Control - Sol. A Automatic Transmission Only
7 LT BLU/WHT 1229 PC Solenoid Valve Low Control - Sol. A - Automatic Transmission Only
8-9 - - Not Used
10 LT GRN 1222 1-2 Shift Solenoid Valve Control - Automatic Transmission Only
11 YEL/BLK 1223 2-3 Shift Solenoid Valve Control - Automatic Transmission Only
12 BRN 418 TCC PWM Solenoid Valve Control - Automatic Transmission Only
13 PPL/WHT 1668 HO2S High Signal Sensor 2
14 TAN/WHT 1669 HO2S Low Signal Sensor 2
15 TAN 1667 HO2S Low Signal Sensor 1
16 PPL 1666 HO2S High Signal Sensor 1
17 LT GRN/WHT 1749 IAC Coil B High Control
18 LT GRN/BLK 444 IAC Coil B Low Control
19 WHT 423 IC Timing Control
20 ORN 406 IC Timing Control B
21-25 - - Not Used
26 BRN/WHT 633 Camshaft Position Signal
27 YEL 573 CKP Sensor 1 Signal
28 PPL 574 Low Reference
29 LT GRN 432 MAP Sensor Signal
30 - - Not Used
31 DK BLU 417 TP Sensor Signal
32-33 - - Not Used
34 WHT 776 Transmission Range Switch Signal P
35 GRY 773 Transmission Range Switch Signal C
36 YEL 772 Transmission Range Switch Signal B
37 BLK/WHT 771 Transmission Range Switch Signal A
38 - - Not Used
39 BLK 2761 Low Reference
40 BLK 2762 Low Reference
41 DK BLU/WHT 1231 AT ISS Low Signal - Automatic Transmission Only
42 PPL 401 Signal Low - Front
43 - - Not Used
44 GRY 1716 Low Reference
45 ORN/BLK 469 Low Reference
46 - - Not Used
47 BLK 2752 Low Reference
48 - - Not Used
49 GRY 23 Generator Field Duty Cycle Signal
50 RED 225 Generator Turn On Signal
51 BLK 1744 Fuel Injector 1 Control
52 LT GRN/BLK 1745 Fuel Injector 2 Control
53 LT BLU/BLK 396 Cruise Control Engaged Signal
54 TAN/BLK 231 Oil Pressure Switch Signal
55 PNK 1224 Transmission Fluid Pressure Switch Signal A - Automatic Transmission Only
56 DK BLU 1225 Transmission Fluid Pressure Switch Signal B - Automatic Transmission Only
57 RED 1226 Transmission Fluid Pressure Switch Signal C - Automatic Transmission Only
58 YEL 657 TCC Release Switch Signal - Automatic Transmission Only
59 YEL 410 ECT Sensor Signal
60 YEL/BLK 1227 TFT Sensor Signal - Automatic Transmission Only
61 RED/BLK 1230 AT ISS High Signal - Automatic Transmission Only
62 YEL 400 Signal - High Front
63 - - Not Used
64 DK BLU 496 Knock Sensor Signal
65 GRY 2704 5-Volt Reference
66 - - Not Used
67 GRY 2701 5-Volt Reference
68 - - Not Used
69 DK GRN 676 HO2S Heater Low Control Sensor 1
70 BLK/WHT 1423 HO2S Heater Low Control
71 LT BLU/BLK 844 Fuel Injector 4 Control
72 PNK/BLK 1746 Fuel Injector 3 Control
73 BLK/WHT 451 Ground