LEMON Manuals: Even more car manuals for everyone: 1960-2025
Home >> Pontiac >> 2005 >> Sunfire Standard >> Repair and Diagnosis >> Engine Performance >> System >> Engine Controls - 2.2L - Introduction >> Component Locator >> Engine Controls Connectors
April 5, 2026: LEMON Manuals is launched! Read the announcement.

Engine Controls Connectors

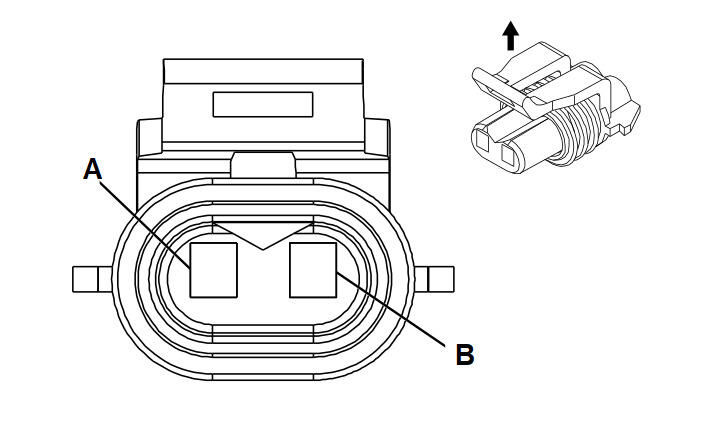
Crankshaft Position (CKP) Sensor

GM232831Courtesy of GENERAL MOTORS CORP.
Connector Part Information
  • 12162194
  • 2-Way F Metri-Pack 150.2 Series (BLK)
Pin Wire Color Circuit No. Function
A PPL 574 Low Reference
B YEL 573 CKP Sensor (1) Signal
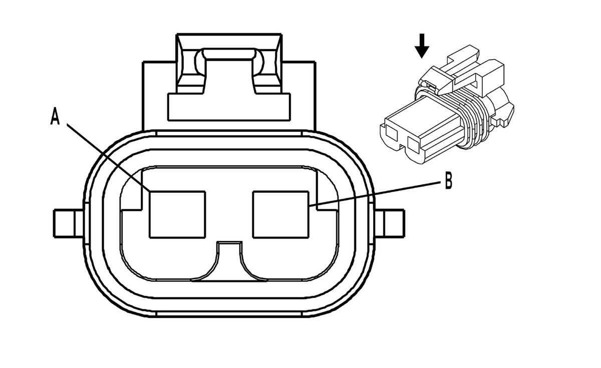
Engine Coolant Temperature (ECT) Sensor

GM68719Courtesy of GENERAL MOTORS CORP.
Connector Part Information
  • 12162195
  • 2-Way F Metri-Pack 150.2 Series Pull to Seat Sealed (BLK)
Pin Wire Color Circuit No. Function
A BLK 2761 Low Reference
B YEL 410 ECT Sensor Signal
Evaporative Emission Canister Purge (EVAP) Solenoid

GM684795Courtesy of GENERAL MOTORS CORP.
Connector Part Information
  • 12052643
  • 2-Way F Metri-Pack 150 Series (RED)
Pin Wire Color Circuit No. Function
A PNK 439 Ignition 1 Voltage
B DK GRN/WHT 428 EVAP Canister Purge Solenoid Control
Evaporative Emission Canister Vent (EVAP) Solenoid

GM684795Courtesy of GENERAL MOTORS CORP.
Connector Part Information
  • 12052643
  • 2-Way F Metri-Pack 150 Series Sealed (RED)
Pin Wire Color Circuit No. Function
A PNK 439 Ignition 1 Voltage
B WHT 1310 EVAP Canister Vent Solenoid Control
Fuel Injector 1

GM366123Courtesy of GENERAL MOTORS CORP.
Connector Part Information
  • 15326181
  • 2-Way F Micro-Pack 64 Series Sealed (BLK)
Pin Wire Color Circuit No. Function
A PNK 139 Ignition 1 Voltage
B BLK 1744 Fuel Injector 1 Control
Fuel Injector 2

GM366123Courtesy of GENERAL MOTORS CORP.
Connector Part Information
  • 15326181
  • 2-Way F Micro-Pack 64 Series Sealed (BLK)
Pin Wire Color Circuit No. Function
A PNK 139 Ignition 1 Voltage
B LT GRN/BLK 1745 Fuel Injector 2 Control
Fuel Injector 3

GM366123Courtesy of GENERAL MOTORS CORP.
Connector Part Information
  • 15326181
  • 2-Way F Micro-Pack 64 Series Sealed (BLK)
Pin Wire Color Circuit No. Function
A PNK 139 Ignition 1 Voltage
B PNK/BLK 1746 Fuel Injector 3 Control
Fuel Injector 4

GM366123Courtesy of GENERAL MOTORS CORP.
Connector Part Information
  • 15326181
  • 2-Way F Micro-Pack 64 Series Sealed (BLK)
Pin Wire Color Circuit No. Function
A PNK 139 Ignition 1 Voltage
B LT BLU/BLK 844 Fuel Injector 4 Control
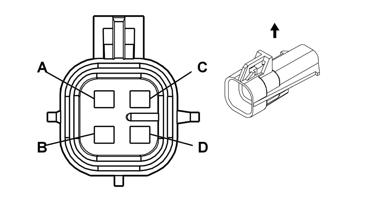
Fuel Tank Module

GM258300Courtesy of GENERAL MOTORS CORP.
Connector Part Information
  • 12160482
  • 4-Way F Metri-Pack 150 Series Sealed (BLK)
Pin Wire Color Circuit No. Function
A PPL 1589 Fuel Level Sensor Signal
B GRY 120 Fuel Pump Supply Voltage
C BLK 150 Ground
D BLK/WHT 2759 Low Reference
Fuel Tank Pressure (FTP) Sensor

GM62453Courtesy of GENERAL MOTORS CORP.
Connector Part Information
  • 12059595
  • 3-Way F Metri-Pack 150 Series Sealed (BLK)
Pin Wire Color Circuit No. Function
A ORN/BLK 2759 Low Reference
B DK GRN 890 Fuel Tank Pressure Sensor Signal
C GRY/BLK 2709 5 Volt Reference
Heated Oxygen Sensor (HO2S) Sensor 1

GM456551Courtesy of GENERAL MOTORS CORP.
Connector Part Information
  • 12160482
  • 4-Way F Metri-Pack 150 Series Sealed (BLK)
Pin Wire Color Circuit No. Function
A TAN 1667 HO2S Low Signal Sensor 1
B PPL 1666 HO2S High Signal Sensor 2
C DK GRN 676 HO2S Heater Low Control Sensor 1
D PNK 439 Ignition 1 Voltage
Heated Oxygen Sensor (HO2S) Sensor 2

GM280761Courtesy of GENERAL MOTORS CORP.
Connector Part Information
  • 12160825
  • 4-Way M Metri-Pack 150 Series Sealed (BLK)
Pin Wire Color Circuit No. Function
A TAN/WHT 1669 HO2S Low Signal Sensor 2
B PPL/WHT 1668 HO2S High Signal Sensor 2
C BLK/WHT 1423 HO2S Heater Low Control
D BRN 241 Ignition 3 Voltage
Idle Air Control (IAC) Valve

GM38608Courtesy of GENERAL MOTORS CORP.
Connector Part Information
  • 12162190
  • 4-Way F Metri-Pack 150.2 Series Pull to Seat (BLK)
Pin Wire Color Circuit No. Function
A LT GRN/BLK 444 IAC Coil B Low Control
B LT GRN/WHT 1749 IAC Coil B High Control
C LT BLU/BLK 1748 IAC Coil A Low Control
D LT BLU/WHT 1747 IAC Coil A High Control
Ignition Control Module (ICM)

GM877917Courtesy of GENERAL MOTORS CORP.
Connector Part Information
  • 15329032
  • 9-Way F GT 150 (BLK)
Pin Wire Color Circuit No. Function
A PNK 239 Ignition 1 Voltage
B WHT 423 IC Timing Control
C-D - - Not Used
E BLK/WHT 451 Ground
F BRN/WHT 633 Camshaft Position Signal
G ORN 406 IC Timing Control B
H-J - - Not Used
Intake Air Temperature (IAT) Sensor

GM646180Courtesy of GENERAL MOTORS CORP.
Connector Part Information
  • 12162199
  • 2-Way F Metri-Pack 150.2 Series Pull to Seat (GRY)
Pin Wire Color Circuit No. Function
A BLK 2760 Low Reference
B TAN 472 IAT Sensor Signal
Knock Sensor (KS)

GM684799Courtesy of GENERAL MOTORS CORP.
Connector Part Information
  • 12077900
  • 2-Way F Metri-Pack 280 Series Sealed (BLK)
Pin Wire Color Circuit No. Function
A DK BLU 496 Knock Sensor Signal
B GRY 1716 Low Reference
Manifold Absolute Pressure (MAP) Sensor

GM684840Courtesy of GENERAL MOTORS CORP.
Connector Part Information
  • 12129946
  • 3-Way F Metri-Pack 150 Series (MD GRY)
Pin Wire Color Circuit No. Function
A
 
ORN/BLK 469 Low Reference
B LT GRN 432 MAP Sensor Signal
C GRY 2704 5 Volt Reference
Throttle Position (TP) Sensor

GM646415Courtesy of GENERAL MOTORS CORP.
Connector Part Information
  • 15326808
  • 3-Way F Metri-Pack 150 Series Pull To Seat (BLK)
Pin Wire Color Circuit No. Function
A GRY 2701 5 Volt Reference
B BLK 2752 Low Reference
C DK BLU 417 TP Sensor Signal