LEMON Manuals: Even more car manuals for everyone: 1960-2025
Home >> Pontiac >> 2005 >> Vibe Base, AWD >> Repair and Diagnosis >> Engine Performance >> System >> Engine Control System - 1.8L (LV6) - Introduction >> Description and Operation >> Fuel System Description >> Fuel Sender Assembly
April 5, 2026: LEMON Manuals is launched! Read the announcement.

Fuel Sender Assembly

The fuel sender assembly is located in the fuel tank. The fuel sender assembly contains the electric fuel pump, the fuel level sensor, the fuel pressure regulator, and the fuel filter. Most of the fuel sender assembly components can be serviced separately.

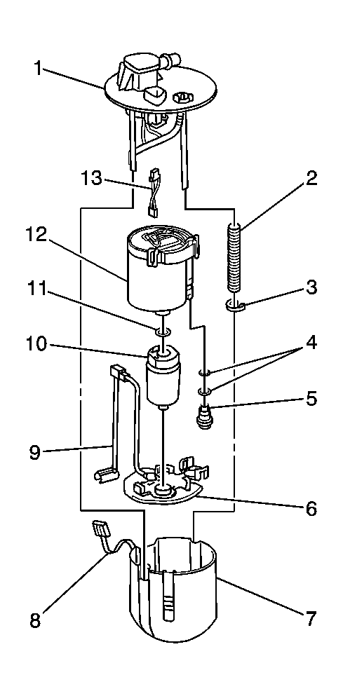
Fig 1: Fuel Sender Assembly-FWD
GM1464200Courtesy of GENERAL MOTORS CORP.
Callout Component Name
1 Fuel Sender Assembly - Upper Support
2 Spring
3 Retaining E-Clip
4 Fuel Pressure Regulator O-rings
5 Fuel Pressure Regulator
6 Fuel Pump Strainer
7 Fuel Sender Assembly - Lower Housing
8 Fuel Level Sensor
9 Fuel Pump Jet Tube
10 Fuel Pump
11 Fuel Pump O-ring
12 Fuel Filter and Housing
13 Fuel Pump Electrical Jumper Harness
Fig 2: Fuel Pump Components (AWD)
GM828362Courtesy of GENERAL MOTORS CORP.
Callout Component Name
1 Fuel Tank Pressure (FTP) Sensor
2 Fuel Sender Assembly Housing - Support
3 Fuel Level Sensor
4 Fuel Level Sender Wire Harness
5 Fuel Pressure Regulator O-ring
6 Fuel Pressure Regulator
7 Fuel Pump Strainer
8 Lower Cushion
9 Fuel Sender Assembly End Cap - Support
10 Retaining Clip
11 Fuel Pump
12 Fuel Pump O-ring
13 Fuel Filter and Housing
14 FTP Sensor Retaining Clip