LEMON Manuals: Even more car manuals for everyone: 1960-2025
Home >> Pontiac >> 2007 >> G5 Base, Standard >> Repair and Diagnosis >> Brakes >> Traction Control >> Anti-Lock Brake System & Engine Traction System >> Repair Instructions >> Electronic Brake Control Module Replacement >> Installation Procedure
April 5, 2026: LEMON Manuals is launched! Read the announcement.

Installation Procedure

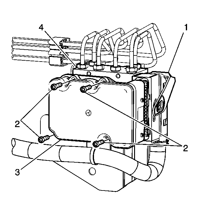
    Fig 1: View Of Electronic Brake Control Module (EBCM) & Brake Pressure Modulator Valve (BPMV)
    GM1641120Courtesy of GENERAL MOTORS CORP.
  1. Clean the EBCM mating surface of the BPMV (4), with denatured alcohol, or equivalent.
  2. Ensure that the EBCM (3) to BPMV (4) seal is fully seated in the groove on the EBCM (3).
  3. Install the EBCM (3) to the BPMV (4). Use care when aligning the EBCM (3) to the BPMV electrical terminals (4).
  4. Connect the electrical connector (1) to the EBCM (3).
  5. NOTE: Refer to Fastener Notice .
  6. Install the 4 EBCM-to-BPMV retaining bolts (2). Tighten the bolts in a criss-cross pattern.

    Tighten:  Tighten the bolts to 4.5 N.m (40 lb in).

  7. If equipped with RPO LSJ, install the throttle body air snorkel.
  8. If a new EBCM was installed, the EBCM must be programmed. Refer to DIAGNOSTIC SYSTEM CHECK - VEHICLE .
  9. Turn the ignition switch to the ON position. DO NOT start engine.
  10. Perform the DIAGNOSTIC SYSTEM CHECK - VEHICLE .
  11. Refer to Control Module References for programming and setup information.