LEMON Manuals: Even more car manuals for everyone: 1960-2025
Home >> Pontiac >> 2007 >> Grand Prix Base >> Repair and Diagnosis >> Accessories & Equipment >> Entertainment Systems >> Cellular System, Entertainment System, And Navigation System >> Component Locator >> Entertainment/Communication Component Views
April 5, 2026: LEMON Manuals is launched! Read the announcement.

Entertainment/Communication Component Views

Fig 1: Front Center Of Roof Component View
GM1318845Courtesy of GENERAL MOTORS CORP.
Callout Component Name
1 Front Windshield
2 Right Front A-Pillar
3 Cellular Antenna
Fig 2: View Of Roof/Headliner Components
GM1206302Courtesy of GENERAL MOTORS CORP.
Callout Component Name
1 Inside Rearview Mirror
Fig 3: Center of the I/P Component View
GM1215122Courtesy of GENERAL MOTORS CORP.
Callout Component Name
1 Cellular Antenna
2 Vehicle Communications Interface Module (VCIM) - C1
3 Vehicle Communications Interface Module (VCIM) - C2
4 Vehicle Communications Interface Module (VCIM)
5 Navigation Antenna
Fig 4: Top Left Side Of Rear Package Shelf Component Views
GM1317459Courtesy of GENERAL MOTORS CORP.
Callout Component Name
1 Electronic Compass Module
2 Navigation Antenna
Fig 5: Instrument Panel
GM1524217Courtesy of GENERAL MOTORS CORP.
Callout Component Name
1 Multifunction Turn Signal Lever
2 TAP Shift Switch - Left
3 Hazard Warning Switch
4 Instrument Panel Cluster (IPC)
5 TAP Shift Switch - Right
6 Windshield Wiper/Washer Switch
7 Ignition Switch
8 Driver Information Center (DIC)
9 Radio
10 Navigation Radio Antenna
11 HVAC Control Module
12 Heated Seat Switch - Front Passenger
13 Rear Defogger Switch
14 Heated Seat Switch - Driver
15 Steering Wheel Controls - Right
16 Cruise Control Switch
17 Inflatable Restraint Steering Wheel Module
18 Tilt Steering Wheel Lever
19 Steering Wheel Controls - Left
20 Interior Lamp Switch
Fig 6: Top of I/P
GM1549713Courtesy of GENERAL MOTORS CORP.
Callout Component Name
1 Speaker - Center (U87)
2 Ambient Light Sensor (C67), Sunload Sensor Assembly (CJ2)
3 Theft LED
Fig 7: Center Of Instrument Panel Component Views
GM1215408Courtesy of GENERAL MOTORS CORP.
Callout Component Name
1 Radio Antenna Coaxial
2 Radio - C2
3 Radio - C1
4 Radio
Fig 8: I/P Components
GM1758089Courtesy of GENERAL MOTORS CORP.
Callout Component Name
1 Multifunction Turn Signal Lever
2 TAP Shift Switch - Left
3 Hazard Warning Switch
4 Instrument Panel Cluster (IPC)
5 TAP Shift Switch - Right
6 Windshield Wiper/Washer Switch
7 Ignition Switch
8 Driver Information Center (DIC)
9 Radio
10 HVAC Control Module
11 Heated Seat Switch - Front Passenger
12 Rear Defogger Switch
13 Heated Seat Switch - Driver
14 Steering Wheel Controls - Right
15 Inflatable Restraint Steering Wheel Module
16 Tilt Steering Wheel Lever
17 Steering Wheel Controls - Left
18 Interior Lamp Switch
Fig 9: Driver Door Component Views
GM1211800Courtesy of GENERAL MOTORS CORP.
Callout Component Name
1 Door Lock - Driver
2 Inflatable Restraint Side Impact Sensor - Left (AY1)
3 Window Motor - Driver
4 Outside Rearview Mirror - Driver
5 Speaker - LF Door
6 C303
7 S305
Fig 10: Driver Door Trim Component Views
GM1211801Courtesy of GENERAL MOTORS CORP.
Callout Component Name
1 Outside Rearview Mirror Switch
2 Window Switch - Driver
3 Door Lock Switch - Driver
4 C303
5 Speaker - LF Door Tweeter Connector
6 S304
Fig 11: Front Passenger Door Component Views
GM1211803Courtesy of GENERAL MOTORS CORP.
Callout Component Name
1 Outside Rearview Mirror - Passenger
2 C304
3 Inflatable Restraint Side Impact Sensor - Right (AY1)
4 Door Lock - Front Passenger
5 Window Motor - Front Passenger
6 S604
7 Speaker - RF Door
Fig 12: Front Passenger Door Trim Component Views
GM1211804Courtesy of GENERAL MOTORS CORP.
Callout Component Name
1 Door Lock Switch - Front Passenger
2 Window Switch - Front Passenger
3 S605
4 Speaker - RF Door Tweeter
5 C304
Fig 13: Center Rear Of Roof Component Views
GM1318811Courtesy of GENERAL MOTORS CORP.
Callout Component Name
1 Radio Antenna Module
2 Digital Radio Antenna
3 Radio Rear Window Antenna
Fig 14: Left Side Of The Rear Window Shelf Component Views
GM1215411Courtesy of GENERAL MOTORS CORP.
Callout Component Name
1 Speaker - LR (Speaker - RR Similar)
2 Rear Compartment Courtesy Lamp
3 Audio Amplifier (U87)
4 Audio Amplifier - C2 (U87)
5 Audio Amplifier - C1 (U87)
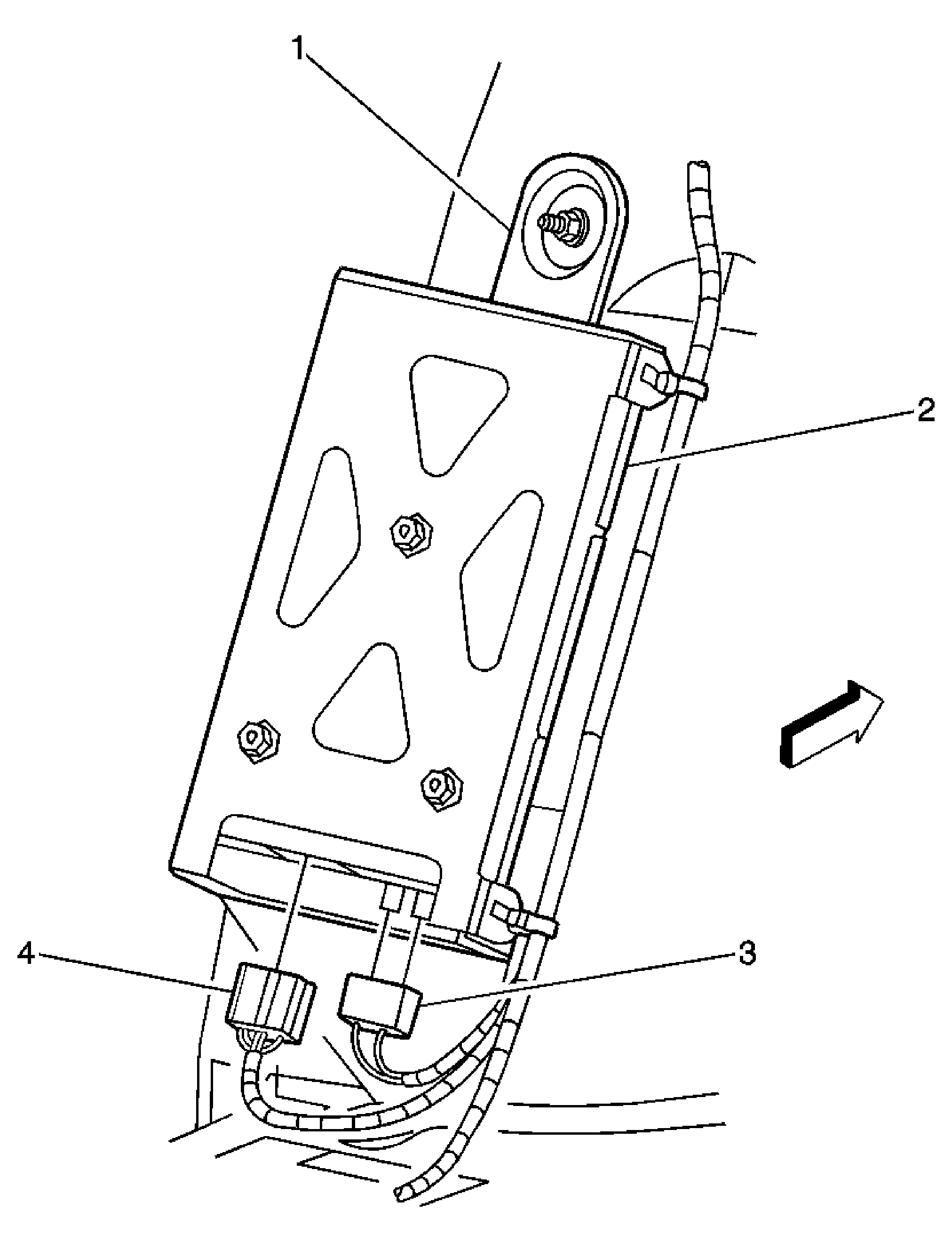
Fig 15: Left Side Of Rear Compartment Component Views
GM1321115Courtesy of GENERAL MOTORS CORP.
Callout Component Name
1 Left Rear Wheel Well
2 Digital Radio Receiver
3 Digital Radio Receiver Connector - C2
4 Digital Radio Receiver Connector - C1
Fig 16: Rear Of Vehicle Component Views
GM1320648Courtesy of GENERAL MOTORS CORP.
Callout Component Name
1 Digital Radio Antenna
2 Center High Mounted Stop Lamp (CHMSL)
3 Backup Lamp - Right
4 License Lamp - Right
5 License Lamp - Left
6 Backup Lamp - Left