LEMON Manuals: Even more car manuals for everyone: 1960-2025
Home >> Pontiac >> 2007 >> Solstice Base, Standard >> Repair and Diagnosis (Single Page) >> Quick Lookups >> Wiring Diagrams >> OEM Connector End Views >> SIR Connector End Views >> Inflatable Restraint I/P Module Connector End View C1
April 5, 2026: LEMON Manuals is launched! Read the announcement.

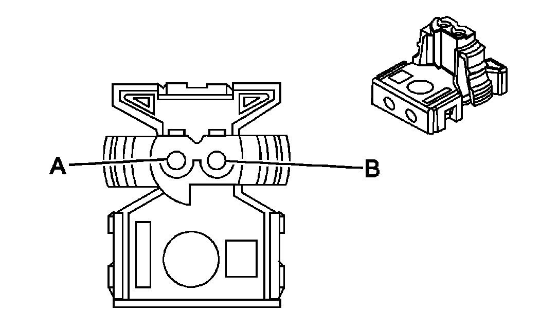
Inflatable Restraint I/P Module Connector End View C1

Fig 1: I/P Module C1 Connector End View
GM966373Courtesy of GENERAL MOTORS CORP.
I/P Module C1 Connector Part Information

Connector Part Information 
  • OEM: 15359118
  • Service: Service By Complete Passenger Air Bag Jumper Harness
  • Description: 2-Way F Micro-Pack 100 Series (GY) With (YE) Case
Terminal Part Information 
  • Terminal/Tray: Serviced w/Pigtail
  • Core/Insulation Crimp: N/A
  • Release Tool/Test Probe: N/A
I/P Module C1 Connector Terminal Identification

Pin Wire Color Circuit No. Function
A PK/BK 3024 I/P Module - Stage 1 - Low Control
B L-BU/RD 3025 I/P Module - Stage 1 - High Control