LEMON Manuals: Even more car manuals for everyone: 1960-2025
Home >> Pontiac >> 2007 >> Solstice L4-2.4L >> Repair and Diagnosis >> Diagrams >> Connector Views >> Engine Control Module
April 5, 2026: LEMON Manuals is launched! Read the announcement.

Engine Control Module



Engine Control Module Connector End Views

Engine Control Module (ECM) C1














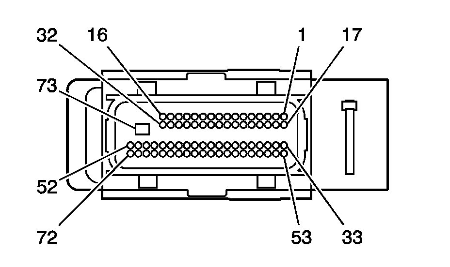
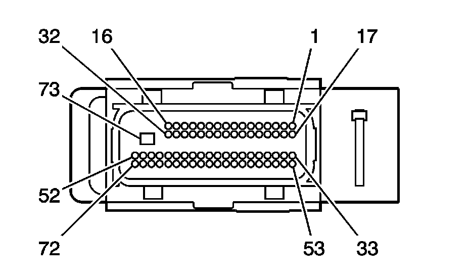
Engine Control Module (ECM) C2









Engine Control Module (ECM) C2 (Pin 1 To 55):





Engine Control Module (ECM) C2 (Pin 56 To 73):






Engine Control Module (ECM) C3