LEMON Manuals: Even more car manuals for everyone: 1960-2025
Home >> Pontiac >> 2007 >> Torrent AWD V6-3.4L >> Repair and Diagnosis >> Diagrams >> Exploded Views >> Automatic Transmission/Transaxle >> System Diagram >> Control Valve Body Assembly
April 5, 2026: LEMON Manuals is launched! Read the announcement.

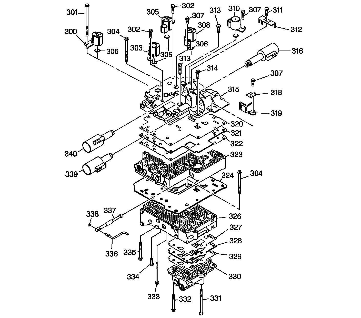
Control Valve Body Assembly



Disassembled Views

Control Valve Body Assembly

Control Valve Body Assembly:




300 - 1-2, 2-3, Reverse Shift Solenoid Valve Assembly (S3) - Dark Gray
301 - Control Valve Body Bolt/Screw (M5 x 0.8 x 62)
302 - Control Valve Body Bolt/Screw (M5 x 0.8 x 28) (2)
302 - Control Valve Body Bolt/Screw (M5 x 0.8 x 28) (2)
302 - Control Valve Body Bolt/Screw (M5 x 0.8 x 28) (2)
303 - 3-4, 4-5 Shift Solenoid Valve Assembly (S4) - Blue
304 - Control Valve Body Bolt/Screw (M5 x 0.8 x 50) (2)
304 - Control Valve Body Bolt/Screw (M5 x 0.8 x 50) (2)
305 - Reverse Shift Solenoid Valve Assembly (S5) - Brown
306 - Shift Solenoid Valve O-ring Seal (5)
306 - Shift Solenoid Valve O-ring Seal (5)
306 - Shift Solenoid Valve O-ring Seal (5)
307 - Control Valve Body Bolt/Screw (M5 x 0.8 x 10) (3)
307 - Control Valve Body Bolt/Screw (M5 x 0.8 x 10) (3)
307 - Control Valve Body Bolt/Screw (M5 x 0.8 x 10) (3)
308 - 2-3, 3-4 Shift Solenoid Valve Assembly (S2) - Black
310 - Reverse, 1st Shift Solenoid Valve Assembly (S1) - Black
311 - Control Valve Body Bolt/Screw (M5 x 0.8 x 13)
312 - Control Valve Body Solenoid Valve Retainer
313 - Control Valve Body Bolt/Screw (M5 x 0.8 x 20) (5)
313 - Control Valve Body Bolt/Screw (M5 x 0.8 x 20) (5)
314 - Control Valve Body Bolt/Screw (M5 x 0.8 x 16) (2)
315 - Front Control Valve Body Assembly
316 - Line Pressure Control Solenoid Valve Assembly (SLT) - Blue
318 - Automatic Transmission Wiring Harness Clip
319 - TCC Lock Up Control Solenoid Valve Retainer (SLU)
320 - Front Control Valve Body to Front Control Valve Body Spacer Plate Gasket
321 - Front Control Valve Body Spacer Plate
322 - Front Control Valve Body Spacer Plate to Middle Control Valve Body Gasket
323 - Middle Control Valve Body Assembly
324 - Middle Control Valve Body Assembly to Rear Control Valve Body Spacer Plate and Gasket Assembly
326 - Rear Control Valve Body Assembly
327 - Rear Control Valve Body to Rear Control Valve Body Spacer Plate Gasket
328 - Rear Control Valve Body Assembly Spacer Plate
329 - Rear Control Valve Body Assembly Spacer Plate to No. 2 Rear Control Valve Body Assembly Gasket
330 - No. 2 Rear Control Valve Body Assembly
331 - Control Valve Body Bolt/Screw (M5 x 0.8 x 76)
332 - Control Valve Body Bolt/Screw (M5 x 0.8 x 49.5) (4)
333 - Control Valve Body Bolt/Screw (M5 x 0.8 x 40)
334 - Control Valve Body Assembly Pressure Test Hole Bolt/Screw Pressure Tap (M6 x 1.0 x 12) (1)
335 - Control Valve Body Bolt/Screw (M5 x 0.8 x 35) (2)
336 - Manual Valve Link
337 - Manual Valve
338 - Manual Valve Link Retainer
339 - TCC Lock Up Pressure Control Solenoid Valve Assembly (SLU) - Black
340 - Shift Pressure Control Solenoid Valve Assembly (SLS) - Green