LEMON Manuals: Even more car manuals for everyone: 1960-2025
Home >> Pontiac >> 2008 >> G8 Base >> Repair and Diagnosis (Single Page) >> Accessories & Equipment >> Entertainment Systems >> Cellular System, Entertainment System, And Navigation System >> Repair Instructions >> Communication Interface Module Replacement >> Removal Procedure
April 5, 2026: LEMON Manuals is launched! Read the announcement.

Removal Procedure

    Fig 1: Identifying VCIM Fascia Cover & Retaining Clips
    GM2040497Courtesy of GENERAL MOTORS CORP.
  1. Unclip the VCIM fascia cover (1) at the retaining clips (2) and remove the VCIM fascia cover (1) from the vehicle.
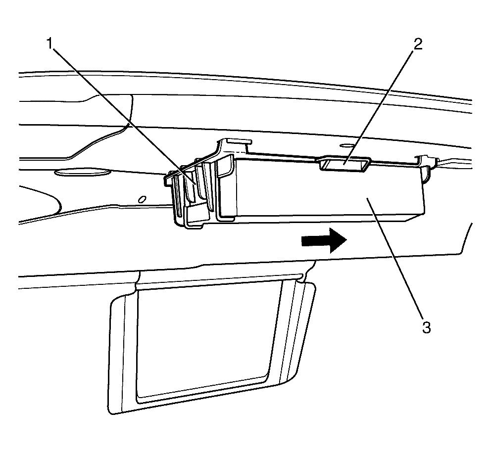
  2. Fig 2: Identifying Antenna Connectors, Wiring Harness Connectors & VCIM
    GM2040505Courtesy of GENERAL MOTORS CORP.
  3. Disconnect the antenna connectors (1) and the harness connectors (2) from the VCIM (3).
  4. Fig 3: Identifying VCIM, Supporting Bracket & Retaining Clip
    GM2040506Courtesy of GENERAL MOTORS CORP.
  5. Remove the VCIM (3) by pressing up on the retaining clip (2) and sliding the VCIM (3) out of the supporting bracket (1).