LEMON Manuals: Even more car manuals for everyone: 1960-2025
Home >> Pontiac >> 2009 >> G8 Base >> Repair and Diagnosis (Single Page) >> Quick Lookups >> Electrical Component Locations >> Wiring Systems And Power Management - Electrical Center, Ground & Component Connector End Views >> Component Connector End Views >> Window Control Module
April 5, 2026: LEMON Manuals is launched! Read the announcement.

Window Control Module

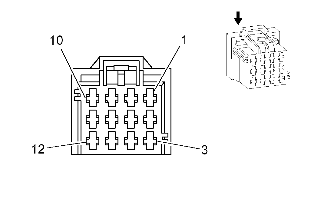
Fig 1: Window Control Module Connector End View
GM1989613Courtesy of GENERAL MOTORS CORP.
Window Control Module

Pin Wire Color Circuit No. Function
1 2 BU/WH 666 Power Window Motor Right Front Up Control
2 2 BN/OG 165 Power Window Motor Left Front Down Control
3 0.5 L-BU 166 Power Window Master Switch Right Front Up Signal
4 - - Not Used
5 2 BK 1350 Ground
6 0.5 BN 1300 Power Window Master Switch Left Front Up Signal
7 - - Not Used
8 2 D-GN 1001 RAP Supply Voltage
9 0.5 D-GN/BK 167 Power Window Master Switch Right Front Down Signal
10 2 BN 667 Power Window Motor Right Front Down Control
11 2 D-BU 164 Power Window Motor Left Front Up Control
12 0.5 GY/BU 1136 Power Window Master Switch Left Front Down Control Signal
Connector Part Information 
  • OEM: 7283-4417-60
  • Service: See Catalog
  • Description: 12-Way F (GN)
Terminal Part Information 
  • Terminal/Tray: See Terminal Repair Kit
  • Core/Insulation Crimp: See Terminal Repair Kit
  • Release Tool/Test Probe: See Terminal Repair Kit