LEMON Manuals: Even more car manuals for everyone: 1960-2025
Home >> Pontiac >> 2009 >> G8 Base >> Repair and Diagnosis >> Engine Performance >> System >> Engine Control System & Fuel System - 3.6L - Introduction >> Repair Instructions >> Secondary Fuel Tank Module Replacement >> Installation Procedure
April 5, 2026: LEMON Manuals is launched! Read the announcement.

Installation Procedure

    Fig 1: Identifying Primary/Secondary Fuel Tank Module Seal
    GM1949847Courtesy of GENERAL MOTORS CORP.
  1. Install a NEW secondary fuel tank module seal (1) to the fuel tank assembly.
  2. Fig 2: Secondary Fuel Tank Module & Transfer Tube
    GM2193198Courtesy of GENERAL MOTORS CORP.
    NOTE: Do not to damage the fuel level sensor float rod when installing the secondary fuel tank module (1) to the fuel tank assembly.
    NOTE: Make sure the fuel level float is free from binding while inserting the secondary fuel tank module (1).
  3. Carefully install the secondary fuel tank module (1) to the fuel tank assembly just enough to connect the transfer tube (2) to the secondary fuel tank module (1).
  4. NOTE: Listen for an audible click to confirm the correct installation of the transfer tube (2) to the secondary fuel tank module (1).
  5. Connect the transfer tube (2) to the secondary fuel tank module (1).
  6. Carefully install the secondary fuel tank module (1) to the fuel tank assembly.
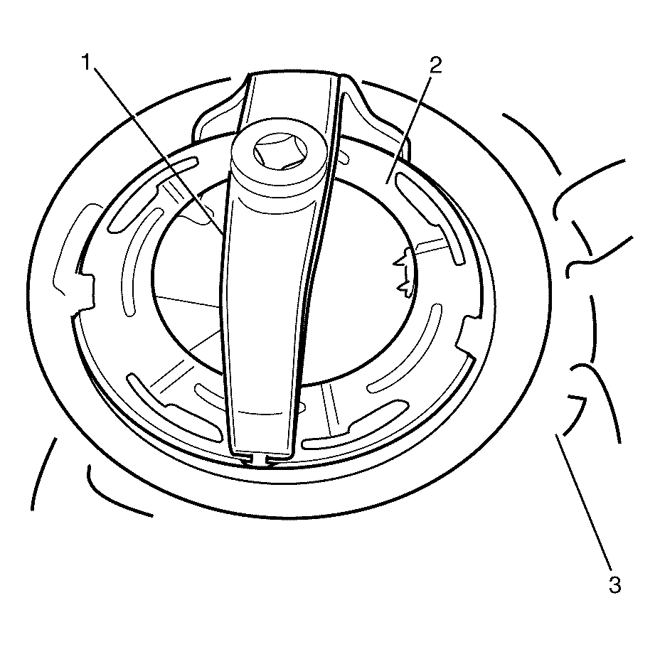
  7. Fig 3: Primary Fuel Tank Module, Cam Lock Ring & Special Tool
    GM2193197Courtesy of GENERAL MOTORS CORP.
    NOTE: The secondary fuel tank module is spring loaded when installed in the fuel tank assembly. Apply suitable pressure to the secondary fuel tank module while installing the NEW cam lock ring (2)
  8. Install a NEW cam lock ring (2) to the fuel tank (3).
  9. Rotate the NEW cam lock ring (2) clockwise using CH-48482  (1) until the NEW cam lock ring (2) is fully seated. See Special Tools .
  10. Fig 4: Identifying Secondary Fuel Tank Module Electrical Connector
    GM1949849Courtesy of GENERAL MOTORS CORP.
    NOTE: Listen for an audible click to confirm the correct installation of the secondary fuel tank module electrical connector (1).
  11. Connect the secondary fuel tank module electrical connector (1) to the secondary fuel tank module assembly.
  12. Install the fuel tank assembly. Refer to Fuel Tank Replacement .
  13. Lower the vehicle to the ground.
  14. Connect the battery negative cable. Refer to Battery Negative Cable Disconnection and Connection .