LEMON Manuals: Even more car manuals for everyone: 1960-2025
Home >> Pontiac >> 2009 >> G8 V6-3.6L >> Repair and Diagnosis >> Powertrain Management >> Relays and Modules - Powertrain Management >> Relays and Modules - Computers and Control Systems >> Body Control Module >> Service and Repair >> Front Door Module Replacement
April 5, 2026: LEMON Manuals is launched! Read the announcement.

Front Door Module Replacement




Front Door Module Replacement

Removal Procedure

Warning: Refer to Safety Glasses Warning (Safety Glasses Warning).

1. Disconnect the negative battery cable. Refer to Battery Negative Cable Disconnection and Connection (Service and Repair).
2. Remove the closeout/insulator panel. Refer to Instrument Panel Insulator Panel Replacement - Right Side (LHD) (Service and Repair).
3. Remove the knee bolster. Refer to Knee Bolster Replacement (Service and Repair).
4. Remove the hinge pillar trim panel. Refer to Body Hinge Pillar Trim Panel Replacement (Service and Repair).




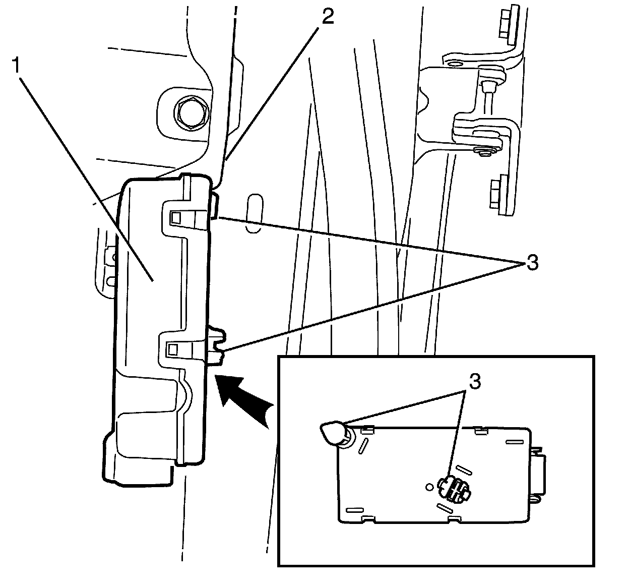
5. Disconnect the door module electrical connector (1).





Note: The door module is located on the right side just under the instrument panel attached to the body.

Note: Pry the door module (1) with a suitable flat bladed tool then manoeuvre to release top locating retainer (3).

6. Pry the door module (1) with a suitable flat bladed tool to release the retainers (3).
7. Remove the door module (1) from the vehicle (2).

Installation Procedure




1. Position the door module (1) to the vehicle (2).

Note: Locate the top retainer first then press to engage the lower retainer.

2. Install the door module (1) and push to secure the retainers (3).




3. Connect the door module electrical connector (1).
4. Install the hinge pillar trim panel. Refer to Body Hinge Pillar Trim Panel Replacement (Service and Repair).
5. Install the knee bolster. Refer to Knee Bolster Replacement (Service and Repair).
6. Install the closeout/insulator panel. Refer to Instrument Panel Insulator Panel Replacement - Right Side (LHD) (Service and Repair).
7. Connect the negative battery cable. Refer to Battery Negative Cable Disconnection and Connection (Service and Repair).
8. If re-programming is required. Refer to Control Module References (Programming and Relearning).