LEMON Manuals: Even more car manuals for everyone: 1960-2025
Home >> Pontiac >> 2009 >> G8 V6-3.6L >> Repair and Diagnosis >> Powertrain Management >> Relays and Modules - Powertrain Management >> Relays and Modules - Computers and Control Systems >> Engine Control Module >> Diagrams >> Engine Control Module (ECM) X2
April 5, 2026: LEMON Manuals is launched! Read the announcement.

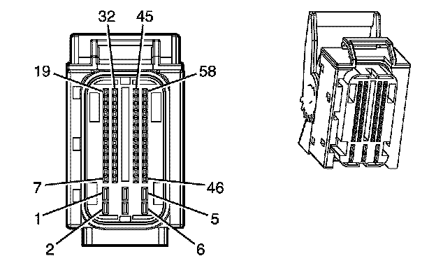
Engine Control Module (ECM) X2




Component Connector End Views

Engine Control Module (ECM) (LY7) X2