LEMON Manuals: Even more car manuals for everyone: 1960-2025
Home >> Pontiac >> 2009 >> Torrent Base, FWD >> Repair and Diagnosis >> Engine Performance >> System >> Data Communication System >> Schematic and Routing Diagrams >> Body Control System Schematics
April 5, 2026: LEMON Manuals is launched! Read the announcement.

Body Control System Schematics

Fig 1: Power and Ground, Starting and Charging Schematic
GM2085695Courtesy of GENERAL MOTORS CORP.
Fig 2: Exterior Lights, Radio, ABS, Automatic Transmission and Data Communications Schematic
GM2085697Courtesy of GENERAL MOTORS CORP.
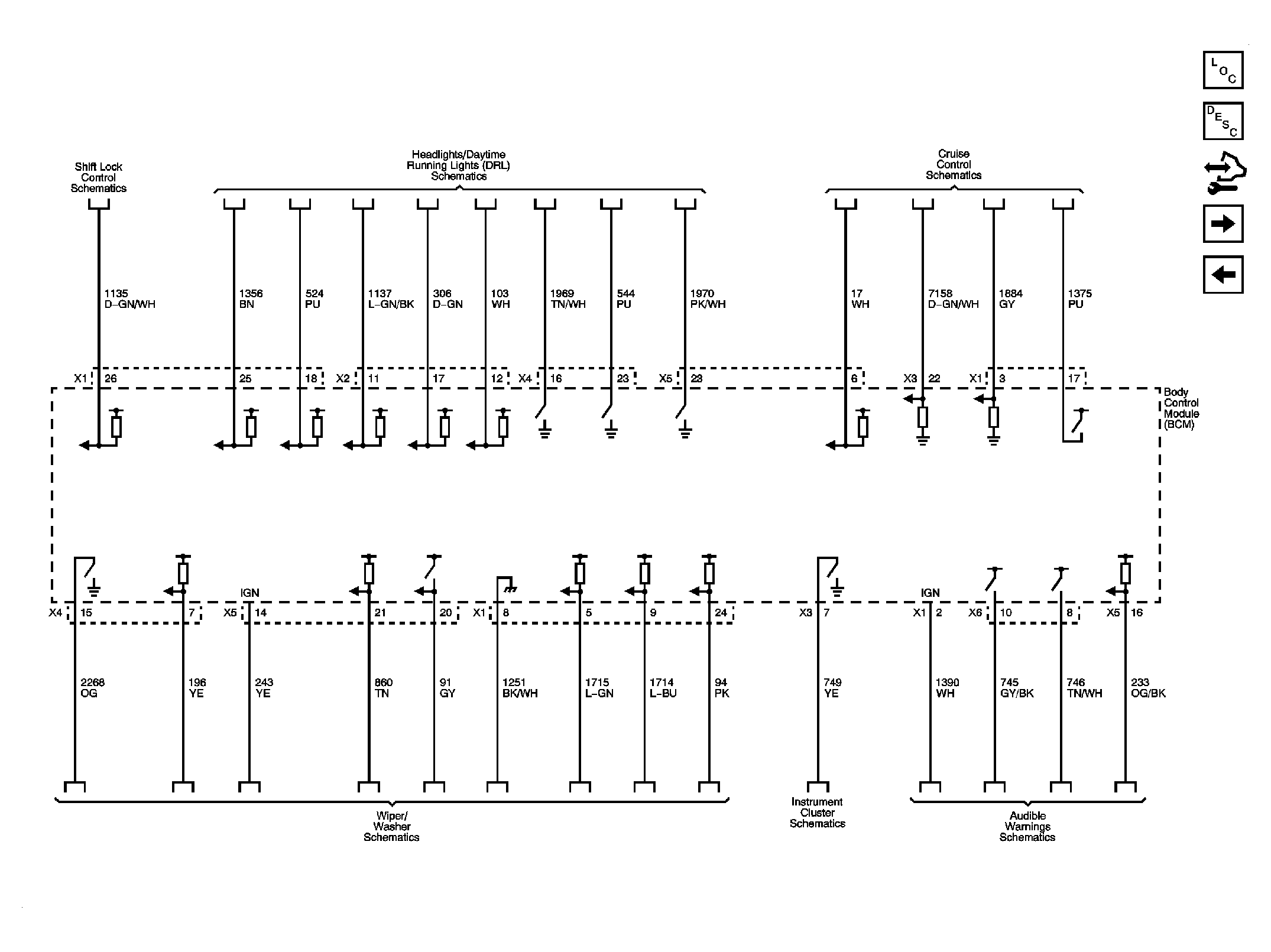
Fig 3: Shift Lock, Headlights, Cruise, Wipers, I/P and Audible Warnings Schematic
GM2085700Courtesy of GENERAL MOTORS CORP.
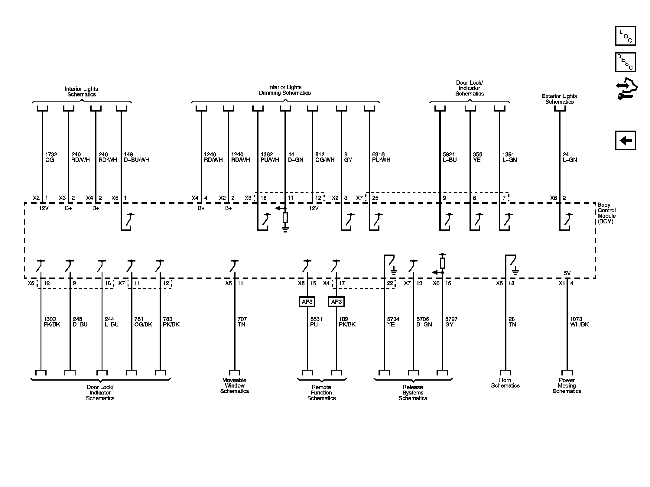
Fig 4: Interior Lights, Door Locks, Exterior Lights, Release Systems, Movable Windows, Remote Functions and Horns Schematic
GM2085704Courtesy of GENERAL MOTORS CORP.