LEMON Manuals: Even more car manuals for everyone: 1960-2025
Home >> Porsche >> 2000 >> Boxster (986) F6-2.7L >> Repair and Diagnosis >> Diagrams >> Connector Views >> Power Seat Control Module
April 5, 2026: LEMON Manuals is launched! Read the announcement.

Power Seat Control Module



Connector assignment







Plug 1, 5-pole

Pin No.
1,2 Electric motor for backrest adjustment
Load circuit
2,3 Backrest Hall-effect sensor
Signal circuit

Plug 2, 5-pole

Pin No.
1,2 Electric motor for rear height adjustment
Load circuit
2,3 Hall-effect sensor for rear height adjustment
Signal circuit

Plug 3, 5-pole

Pin No. Designation
1,2 Electric motor for front height adjustment
Load circuit
2,3 Hall-effect sensor for front height adjustment
Signal circuit

Plug 4, 5-pole

Pin No. Designation
1,2 Electric motor for seat adjustment (longitudinal)
Load circuit
2,3 Hall-effect sensor for seat adjustment
Signal circuit

Plug 5, 9-pole

Pin No. Designation
Switch for seat adjustment

Plug 6, 8-pole

Pin No. Designation
Colour black
1 Term. 31 load
2 Term. 30 load

Pin No. Designation
Colour black
1 Term. 30 electronics
2 Term. 15
3 Term. 31 electronics

Pin No. Designation
Colour blue
1 Diagnosis
2 Door contact
3 Not used

Plug 7, 26-pole

Pin No. Designation
1 Switch for memory seat adjustment (P3)
2 Switch for memory seat adjustment (MEM)
3 GFM connection
4 System ground pot. rearview mirror
5 +5V pot. rearview mirror
6 Voltage pot. right (left/right)

Pin No. Designation
7 Voltage pot. right (up/down)
8 Not used
9 Not used
10 Voltage pot. left (left/right)
11 Voltage pot. left (up/down)
12 Reverse-gear signal
13 Common rearview mirror motor connection
14 Switch for memory seat adjustment (P2)
15 Switch for memory seat adjustment (P1)
16 Not used
17 Not used
18 Not used
19 Not used
20 Not used
21 Left motor (left/right)
22 Left motor (up/down)
23 Not used
24 Not used
25 Right motor (left/right)
26 Right motor (up/down)

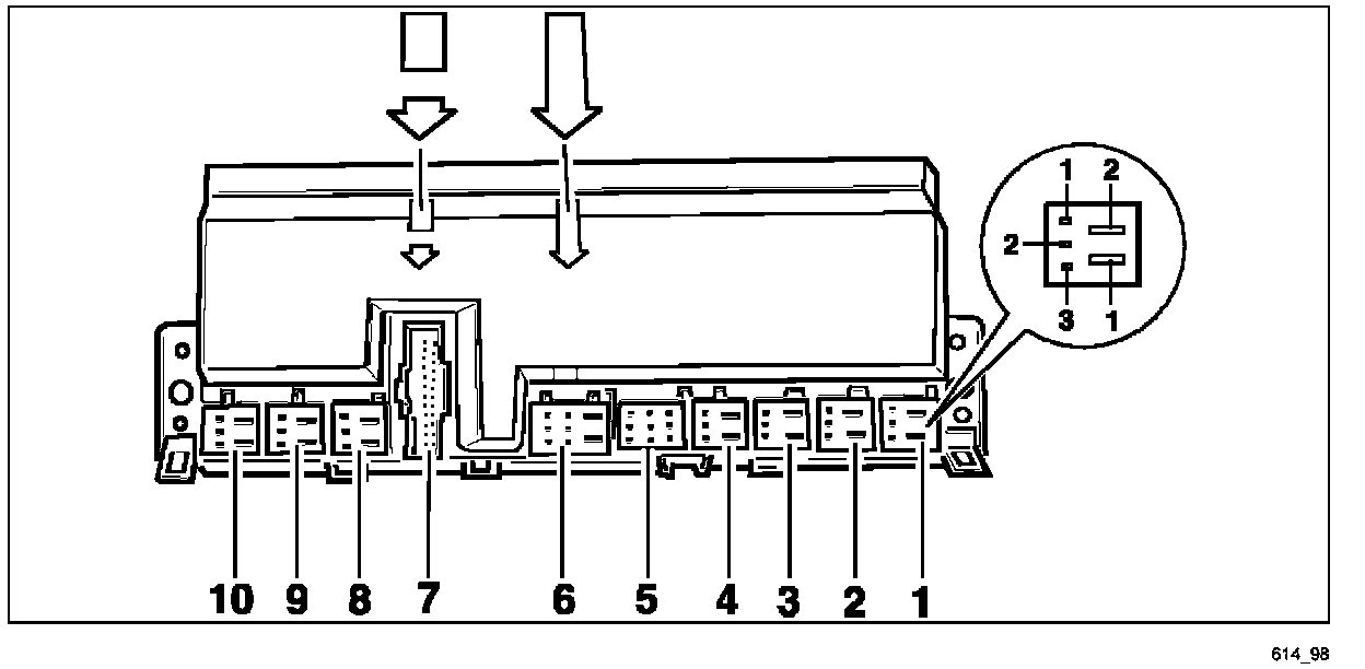
Connector overview

Plug Nos. 1 to 4
The plugs each consist of two individual plugs which are clipped together (Figure 134_99). The 2-pole plug is intended for the load circuit (motor). The 3-pole plug is the signal circuit connection (Hall-effect sensor). When they are clipped together, plug nos. 1 to 4 each have 5 poles.







Plug No. 5
The plug consists of three individual plugs which are clipped together (Figure 132_99). Each individual plug has 3 poles. When it is clipped together, plug no. 5 has 9 poles.

Sequence of the individual plugs
The sequence of the individual plugs from left to right is as follows:

natural blue black







See the 3-pole plug in Figure 133_99 for pin assignment. The pin numbers are printed on the side of the plugs.

Plug No. 6
The plug consists of three individual plugs which are clipped together (Figure 133_99). Two individual plugs have 3 poles each, the third has 2 poles. When it is clipped together, plug no. 6 has 8 poles.







Sequence of the individual plugs
The sequence of the individual plugs from left to right is as follows:

blue black black

Plug No. 7
Plug No. 7 has 26 poles. The pin assignment is shown in Figure 131_99.







Plug Nos. 8 to 10
See Plug Nos. 1 to 4