LEMON Manuals: Even more car manuals for everyone: 1960-2025
Home >> Porsche >> 2000 >> Boxster (986) F6-2.7L >> Repair and Diagnosis >> Powertrain Management >> Computers and Control Systems >> Relays and Modules - Computers and Control Systems >> Body Control Module >> Testing and Inspection >> Control Module Function >> CDR23
April 5, 2026: LEMON Manuals is launched! Read the announcement.

CDR23



PCM2/CDR23

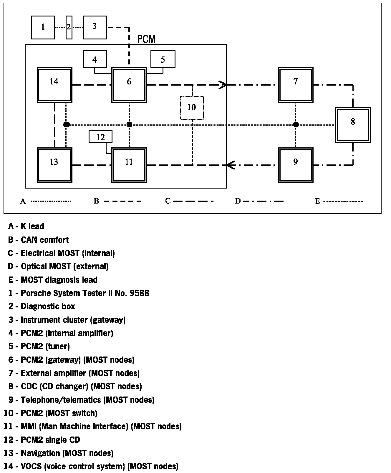
CDR23 control module function

Terminating resistors on the CAN
Terminating resistors are fitted to each end of the wiring to prevent reflection on the wiring. These terminating resistors are integrated into each control module. The interconnection prevents the resistors from being measured with the ohmmeter from the outside.

CAN comfort
Communication between the Porsche System Tester II No. 9588 and the MOST control modules only takes place via the K lead to the instrument cluster. The data is transferred from the instrument cluster gateway to the MOST control units via CAN comfort to the CDR23 gateway and via the optical MOST outside the CDR23.

CD changer (CDC)
The CDC is available as an optional feature and is linked to the CDR23 via the optical waveguide.

Coding table


Part 1:




Part 2:






Coding
Coding of the CDR23 can be performed using the "Modify coding" menu item.

Menu item Function
- CDR23 code Under this menu item, the CDR23 code can be entered after replacing the CDR23.
- Connect and start the Porsche System Tester II No. 9588 and switch on the ignition
- Select "Boxster" in the Vehicle type menu and confirm with the [>>] key
- Select "PCM" in the Control units menu and confirm with the[>>] key
- Select "CDR23" in the Boxster function selection menu and confirm with the [>>] key
- Select "Coding" in the CDR23 function selection menu and confirm with the [>>] key
- Select "CDR23 code" in the CDR23 coding menu and confirm with the [>>] key
- Enter the CDR23 code and code with the [F8] key

- Country coding Using this menu item, you can code the country code.
- Connect and start the Porsche System Tester II No. 9588 and switch on the ignition
- Select vehicle type Boxster (986) and the PCM2 GW control unit and press the [>>] key
- Select the "Coding" menu item and press the [>>] key
- Select the "Country coding" menu item and press the [>>] key
- Select "RoW or USA" and code with the [F8] key

Data transfer fault
If faults are detected when the data is decoded, this is known as a data transfer fault. The faults can arise when the data is coded, when the data is transferred through an input level that is optically too low or when the data is decoded. A fault entry is not recorded.

Extended identification
Additional data present in the control unit can be read out using this menu item.

1. Connect and start the Porsche System Tester II No. 9588 and switch on the ignition
2. Select "Boxster (986)" in the Vehicle type menu and confirm with the [>>] key
3. Select "PCM" in the control modules selection and confirm with the [>>] key
4. Select "CDR23" in the PCM2 function selection and confirm with the [>>] key
5. Select the "Identification" menu item and press the [>>] key
6. "Diagnosis software number; PCM2 part number." appears on the display
7. Confirm PCM2 GW extended identification with the [F8] key or the [>>] key

The following data can be read out:
- CRIN (Car Radio Identification Number)
- Date of ECU Manufacturing (YYYY;MM;DD)
- Repair Shop Code or Tester Serial Number
- System Supplier ECU Hardware Number (cw, year)
- System Supplier ECU Hardware Version Number
- System Supplier ECU Software Number (cw, year)
- System Supplier ECU Software Version Number
- Vehicle Manufacturer Diagnostic Index
- Vehicle Manufacturer ECU Hardware Number
- VIN (Vehicle Identification Number)

Function of the components







Gateway
The gateway is integrated in the CDR23. It is a fixed component of each CDR23. It provides a connection from the CAN Comfort to the MOST via its node. Diagnostic and useful data is exchanged with the CAN via these nodes. It creates links to the following systems:
- CAN Comfort
- Media Oriented Systems Transport (MOST), internal (electrical) Single CD
- Media Oriented Systems Transport (MOST), external bus (optical)

Identification
The diagnosis software number and the part numbers for the PCM2 can be read out under this menu item.
1. Connect and start the Porsche System Tester II No. 9588 and switch on the ignition
2. Select "Boxster" in the Vehicle type menu and confirm with the [>>] key
3. Select "PCM" in the control modules selection and confirm with the [>>] key
4. Select "CDR23" in the Boxster CDR23 function selection and confirm with the [>>] key
5. Select the menu item"Identification" and confirm with the [>>] key
6. The message "Diagnosis software number; CDR23 part number." appears on the display
7. Extended identification can be called up with the [F8] key. The following data are displayed:
- CRIN (Car Radio Identification Number)
- VIN (Vehicle Identification Number)
- Part number
- System Supplier ECU Hardware Number (cw, year)
- System Supplier ECU Hardware Version Number
- System Supplier ECU Software Number (cw, year)
- System Supplier ECU Software Version Number
- Porsche workshop number
- Diagnosis software number
- Date of ECU Manufacturing (YYYY;MM;DD).

Actual values
It is possible to read out the unlock counter under the "Actual values" menu item.

Menu item Function
- Unlock counter Under this menu item, it is possible to check the electrical and optical MOST during troubleshooting.

- Connect and start the Porsche System Tester II No. 9588 and switch on the ignition
- Select vehicle type Boxster (986) and the PCM2 GW control unit and press the [>>] key
- Select the Actual values menu item and press the [>>] key
- Select the "Unlock counter" menu item using the [>] key and press the [>>] key
- Read out values from the display field

Lock/unlock
A lock occurs when the signal sent from the CDR23 via the MOST optical/electrical is understood and answered by the connected MOST control modules. This applies a correct optical MOST signal.

The lock is maintained until the signal is no longer detectable for a longer period of time (several micro seconds) "unlock".

MOST actual and required installed components lists
All MOST control modules that are connected to the PCM2 are entered via diagnostic tester in the required installed components list. Only the MOST control units recorded in the MOST required installed components list are activated. An "actual installed components list" of detected devices is written and saved when the PCM2 is started.

Menu item Function

- MOST actual installed Under this menu item, the components identified
components list by the system as operational and entered in the MOST actual installed components list can be displayed.
- Connect and start the Porsche System Tester II No. 9588 and switch on the ignition
- Select "Boxster (986)" in the Vehicle type menu and confirm with the [>>] key
- Select "PCM" in the Control units selection menu and confirm with the [>>] key
- Select "CDR23" in the Boxster (986) CDR23 function selection menu and confirm with the [>>] key
- Select "MOST actual installed components list" in the CDR23 function selection menu and start it with the [>>] key
- The components identified by the system are listed (depending on the equipment)

- MOST required installed You can code the MOST required installed
components list components list via diagnostic tester using this menu item.
- Connect and start the Porsche System Tester II No. 9588 and switch on the ignition
- Select "Boxster (986)" in the Vehicle type menu and confirm with the [>>] key
- Select "PCM" in the Control units selection menu and confirm with the [>>] key
- Select "CDR23" in the Boxster (986) CDR23 function selection menu and confirm with the [>>] key
- Select "MOST required installed components list" in the Boxster (986) CDR23 function selection menu and confirm with the [>>] key
- Select "Components from selection list corresponding to vehicle equipment" in the CDR23 MOST required installed components list menu and code with the [F8] key

MOST component check
The following checks are available under this menu item:
- MOST system check
- Ring break diagnosis
- Ring break diagnosis line
- Optical performance check

NOTE: The engine must not be started during the automatic check. Follow the instructions of the Porsche System Tester II No. 9588:

Test sequences are automatic. The test results are displayed.

Menu item Function

- MOST system check Using this menu item, an automatic MOST system check can be carried out.
- Connect and start the Porsche System Tester II No. 9588 and switch on the ignition
- Select "Boxster (986)" in the Vehicle type menu and confirm with the [>>] key
- Select "PCM" in the Control units selection menu and confirm with the [>>] key
- Select "MOST component check" in the Boxster (986) CDR23 function selection menu and confirm with the [>>] key
- Select "MOST system check" in the CDR23 MOST component check menu and confirm with the [>>] key
- The test result is displayed
Before replacing control units, the optical waveguide and the ring break diagnosis line must be checked.


- Ring break diagnosis Using this menu item, an automatic ring break diagnosis can be carried out.
- Connect and start the Porsche System Tester II No. 9588 and switch on the ignition
- Select "Boxster (986)" in the Vehicle type menu and confirm with the [>>] key
- Select "PCM" in the Control units selection menu and confirm with the [>>] key
- Select "MOST component check" in the Boxster (986) CDR23 function selection menu and confirm with the [>>] key
- Select "MOST ring break diagnosis" in the Boxster (986) CDR23 MOST component check menu and confirm with the [>>] key
- The test result is displayed
Before replacing control units, the optical waveguide and the ring break diagnosis line must be checked.

- Ring break diagnosis Using this menu item, an automatic
line check of the ring break diagnosis line can be carried out.
- Connect and start the Porsche System Tester II No. 9588 and switch on the ignition
- Select "Boxster (986)" in the Vehicle type menu and confirm with the [>>] key
- Select "PCM" in the Control units selection menu and confirm with the [>>] key
- Select "MOST component check" in the Boxster (986) CDR23 function selection menu and confirm with the [>>] key
- Select "MOST ring break diagnosis line" in the Boxster (986) CDR23 MOST component check menu and confirm with the [>>] key
- The test result is displayed
Before replacing control units, the optical waveguide and the ring break diagnosis line must be checked.

- Optical performance Using this menu item, the transmission
check errors can be read out.
- Connect and start the Porsche System Tester II No. 9588 and switch on the ignition
- Select "Boxster (986)" in the Vehicle type menu and confirm with the [>>] key
- Select "PCM" in the Control units selection menu and confirm with the [>>] key
- Select "MOST component check" in the Boxster (986) CDR23 function selection menu and confirm with the [>>] key
- Select "Optical performance check" in the Boxster (986) CDR23 MOST component check menu and confirm with the [>>] key
- The test result is displayed
Before replacing control units, the optical waveguide and the ring break diagnosis line must be checked.

MOST - optical
MOST signals are transferred optically via the optical waveguide to the MOST control modules that are installed externally.

The CDR23 gateway node constitutes the connection to CAN Comfort. The optical waveguide creates the connection to the nodes in the external MOST control modules such as external amplifiers and/ or CD changers (depending on the equipment).

Ring break diagnosis line
The ring break diagnosis line is an electrical lead, which, as a stub cable, connects the individual MOST control modules in the system with one another.

The existing MOST control modules and wiring of the ring break diagnosis line are checked at regular intervals.

Input signals
The following queries can be run using this menu item:
- Key code
- Status of the optical performance check
- Tuner parameters
- GAL (noise-dependent loudspeaker boost - NLB)

NOTE: Deactivate the "automatic traffic announcement" before performing the diagnosis on the CDR23. If this is not done, the system will crash.

Menu item Function

- Key code Under this menu item, the function of the CDR23 operating buttons can be checked.
- Connect and start the Porsche System Tester II No. 9588 and switch on the ignition
- Select "Boxster (986)" in the Vehicle type menu and confirm with the [>>] key
- Select "PCM" in the Control units selection menu and confirm with the [>>] key
- Select "CDR23" in the Boxster (986) CDR23 function selection menu and confirm with the [>>] key
- Select "Input signals" in the Boxster (986) CDR23 function selection menu and confirm with the [>>] key
- Select "Key code" in the Boxster (986) CDR23 input signals menu and confirm with the [>>] key
- By operating the buttons of the CDR23, the correct function of each key code is displayed

- Status of the optical Using this menu item, the result of the
performance check optical performance check can be read out.
- Connect and start the Porsche System Tester II No. 9588 and switch on the ignition
- Select "Boxster (986)" in the Vehicle type menu and confirm with the [>>] key
- Select "PCM" in the Control units selection menu and confirm with the [>>] key
- Select "CDR23" in the Boxster (986) CDR23 function selection menu and confirm with the [>>] key
- Select "Input signals" in the Boxster (986) CDR23 function selection menu and confirm with the [>>] key
- Select "Status of optical performance check" in the Boxster (986) CDR23 input signals menu, mark with the [>] key and confirm with the [>>] key
- The result can be read out

- Tuner parameters Using this menu item, each country coding of the tuner can be read out.
- Connect and start the Porsche System Tester II No. 9588 and switch on the ignition
- Select "Boxster (986)" in the Vehicle type menu and confirm with the [>>] key
- Select "PCM" in the Control units selection menu and confirm with the [>>] key
- Select "CDR23" in the Boxster (986) CDR23 function selection menu and confirm with the [>>] key
- Select "Input signals" in the Boxster (986) CDR23 function selection menu and confirm with the [>>] key
- Select "Tuner parameters" in the Boxster (986) CDR23 input signals menu using the [>] key and confirm with the [>>] key
- In the Boxster (986) CDR23 tuner parameters menu the current country code is displayed

- GAL (noise-dependent Using this menu item, the codes NLB
loudspeaker boost value can be read out.
- NLB)
- Connect and start the Porsche System Tester II No. 9588 and switch on the ignition
- Select "Boxster (986)" in the Vehicle type menu and confirm with the [>>] key
- Select "PCM" in the Control units selection menu and confirm with the [>>] key
- Select "CDR23" in the Boxster (986) CDR23 function selection menu and confirm with the [>>] key
- Select "Input signals" in the Boxster (986) CDR23 function selection menu and confirm with the [>>] key
- Select and mark "NLB (noise-dependent loudspeaker boost)" in the Boxster (986) CDR23 input signals menu with the [>] key and confirm with the [>>] key
- In the Boxster (986) CDR23 noise-dependent loudspeaker control menu the current coded value is displayed

Single CD
The CD player is part of the CDR23.

Drive links
Drive links of the CDR23 can be activated with this menu item. This allows the function of the drive links to be assessed very quickly using the Porsche System Tester II No. 9588.

The following drive links can be activated:
- All On display test
- Display check

Menu item Function

- All On display test Under this menu item, the function of the CDR23 display segments can be checked.
- Connect and start the Porsche System Tester II No. 9588 and switch on the ignition
- Select "Boxster (986)" in the Vehicle type menu and confirm with the [>>] key
- Select "PCM" in the Control units selection menu and confirm with the [>>] key
- Select "CDR23" in the Boxster (986) CDR23 function selection menu and confirm with the [>>] key
- Select "Drive links" in the Boxster (986) CDR23 function selection menu and confirm with the [>>] key
- Select "All On display test" in the Boxster (986) CDR23 drive links menu using the [>] key and confirm with the [>>] key
- Press the [F8] key to start the test
- All segments of the CDR23 display are activated and can be checked for operation

CDR23 control module
The CDR23 is installed in the vehicle with and without amplifier (internal).

The CDR23 with amplifier (internal) is used if no external amplifier (Harman or BOSE) is installed.

The CDR23 without amplifier (internal) is used if a sound package is installed.

NOTE: If the the CDR23 has no external amplifier (Harman or BOSE) and there is no CD changer installed, an optical waveguide bridge must be fitted to the optical waveguide socket.

The CDR23 control module includes the following components:

Internal:
CDR23 GW
Optional amplifier (internal)
Tuner
Single CD
Controller Area Network (CAN) Comfort

External:
External amplifier (optional, Harman or BOSE)
CD changer (CDC), (optional)

Tuner
The tuner is part of the CDR23.

Unlock counter
Interruptions occur in the system if perfect communication is no longer possible. If the relevant threshold values are exceeded, an entry is recorded in the appropriate control module and the "unlock counter" is incremented.

External amplifier
The external amplifier (Harman or BOSE) is available as an optional feature and is linked to the CDR23 via the optical waveguide.

Internal amplifier
The internal amplifier (optional depending on equipment) is part of the CDR23 and is installed in the CDR23.

Wake-up function
All control units connected to the MOST are in sleep mode if the PCM2 is deactivated. When the PCM2 is switched on, a 'light' is switched on via the MMI. It is reinforced and passed on by the MOST control modules that are connected.