LEMON Manuals: Even more car manuals for everyone: 1960-2025
Home >> Porsche >> 2008 >> Cayenne Base, Standard >> Repair and Diagnosis >> External Pages >> Different car >> Section 60 (Level Control - Diagnostics) >> Fault code 1776 >> Selector switch (level control module) >> Affected pins >> Bushing on selector switch
April 5, 2026: LEMON Manuals is launched! Read the announcement.

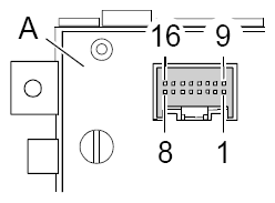
Bushing on selector switch

WARNING: This page is about a different car, the 2006 Porsche Cayenne, 2005 Porsche Cayenne, 2004 Porsche Cayenne, and 2003 Porsche Cayenne. However, it is still accessible from the selected car via links, so may be relevant.
Fig 1: Identifying Level Control Module, Plug A Connector Pins
G05373556Courtesy of PORSCHE OF NORTH AMERICA, INC.