LEMON Manuals: Even more car manuals for everyone: 1960-2025
Home >> Porsche >> 2021 >> 718 Boxster Base, Standard Trans >> Repair and Diagnosis (Single Page) >> Collision >> General Collision Information >> 5X - Body General >> WM, 5X00IN33 Thread Repairs For Threaded Bushes With Collar >> Thread Repairs For Threaded Bushes With Collar
April 5, 2026: LEMON Manuals is launched! Read the announcement.

Thread Repairs For Threaded Bushes With Collar

Information 

Information 

Information 

  1. Drill out the old thread fully using a drill bit (contained in the set) -B-  .
    G14269719Courtesy of PORSCHE CARS NORTH AMERICA, INC.

    Thread

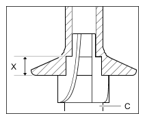
  2. Mill in shoulder using countersink tool -C-  .
    G14269720Courtesy of PORSCHE CARS NORTH AMERICA, INC.

    Shoulder

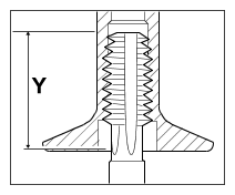
  3. Cut thread.
    1. 3.1  Cut thread to dimension -Y-  using a cutting tool.
    2. 3.2  Clean the thread.
      1. 3.2.1  Blow drill chips out of the thread with compressed air.
      2. 3.2.2  Clean thread with brake cleaner.
      3. 3.2.3  Dry thread by blowing it with compressed air.
        Fig 1: Checking Thread Cutting Dimension
        G14269721Courtesy of PORSCHE CARS NORTH AMERICA, INC.

        Thread

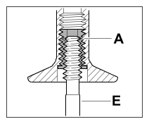
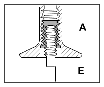
  4. Position threaded bush on screw-in tool.
    1. 4.1  Clean thread on bush and on screw-in tool.
    2. 4.2  Oil the screw-in tool -E-  .
    3. 4.3  Screw threaded bush -A-  onto the screw-in tool -E-  by hand.
      G14269722Courtesy of PORSCHE CARS NORTH AMERICA, INC.

      Threaded bush on screw-in tool

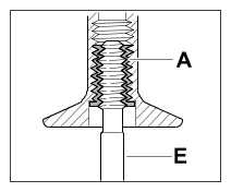
  5. Screw in threaded bush -A-  fully using the screw-in tool -E-  .
    G14269723Courtesy of PORSCHE CARS NORTH AMERICA, INC.

    Threaded bush

  6. Form and press the threaded bush by turning further with the screw-in tool -E-  in the base thread.
    G14269724Courtesy of PORSCHE CARS NORTH AMERICA, INC.

    Threaded bush

  7. Unscrew and remove screw-in tool -E- from threaded bush.
    G14269725Courtesy of PORSCHE CARS NORTH AMERICA, INC.

    Screw-in tool