LEMON Manuals: Even more car manuals for everyone: 1960-2025
Home >> Renault >> 1983 >> LeCar 2D Hatchback >> Repair and Diagnosis >> Engine Performance >> System >> Feedback Carburetor System >> Testing >> Electronic Control Unit
April 5, 2026: LEMON Manuals is launched! Read the announcement.

Electronic Control Unit

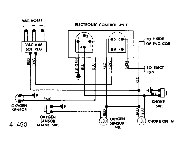
  1. Pull back rubber sleeves to expose wire terminals, but do not disconnect wires. Connect a 20,000 ohms/volt multimeter to the following wires:
    Fig 1: Feedback Carburetor Wiring Diagram
    G41490
  2. At pin 1 (Black/Green wire), there should be continuity with ground. Pin 2 is not used. Pin 3 (Pink) is connected to oxygen sensor. With engine warm and choke knob pulled out, there should be more than 600mv at Pink wire. With choke in, accelerate engine quickly several times. Voltage should vary between zero and more than 600mv.
  3. Pin 4 (Blue) is connected to choke. With knob in, 12 volts should be present. With knob out, no voltage. Pin 5 (Red) should show battery voltage.
  4. Connect a tachometer to pin 6 (Green). Engine speed should be shown. Pin 7 is not tested. Pin 8 (Orange) is output wire to solenoid regulator.
  5. Connect a voltmeter (-) lead to pin 8, and (+) lead to battery voltage (pin 5, Red). Voltage should vary between zero and 12 when accelerating engine. Voltage should be stable between 1.5-5 volts when choke is pulled out, even with engine accelerating.
  6. If control unit readings are incorrect, check source of signal and all wire connections. Replace oxygen sensor if voltage is incorrect. Check and adjust choke switch if voltage is not correct. If all other items are operational, replace electronic control unit.