LEMON Manuals: Even more car manuals for everyone: 1960-2025
Home >> Saab >> 1974 >> 99 Base >> Repair and Diagnosis >> General Information >> Specifications Index >> Wheel Alignment - Specifications & Adjustments >> Toe-In >> All Models
April 5, 2026: LEMON Manuals is launched! Read the announcement.

All Models

With wheels in straight-ahead position, loosen steering link (tie rod) lock nut and turn adjustable sleeve until correct toe-in is obtained. Tighten lock nuts and recheck toe-in.

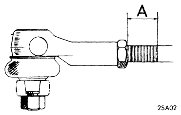
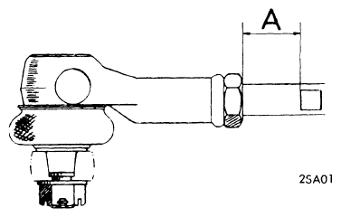
NOTE: After adjustment of toe-in, measurement A (see Fig 1) of tie rod must not exceed 7.6" (with key grip) or 7.2" (without key grip). For tie rods opposite to each other the difference between the measurements A must not exceed 0.08".
Fig 1: CHECKING LENGTH OF TIE ROD WITH KEY GRIP
G09322206Courtesy of SAAB-SCANIA OF AMERICA, INC.
Fig 2: CHECKING LENGTH OF TIE ROD WITHOUT KEY GRIP
G09322207Courtesy of SAAB-SCANIA OF AMERICA, INC.
WHEEL ALIGNMENT SPECIFICATIONS

Application Caster (Degrees) Camber (Degrees) Toe-In (Inches) Toe-Out On Turns (Degrees)
Inner Outer
Sonett 97 2±1/2 0±1/4 0 to 5/64 21 to 24 20
Saab 99 1±1/2 1/2±1/2 -5/64 to 5/64 21 1/2 20