LEMON Manuals: Even more car manuals for everyone: 1960-2025
Home >> Saab >> 1976 >> 99 GLE >> Repair and Diagnosis >> Maintenance >> Procedures >> Wheel Alignment Specifications & Adjustments >> SAAB >> Adjustment >> Toe-In >> All Models
April 5, 2026: LEMON Manuals is launched! Read the announcement.

All Models

With wheels in straight-ahead position, loosen steering link (tie rod) lock nut and turn adjustable sleeve until correct toe-in is obtained. Tighten lock nuts and recheck toe-in.

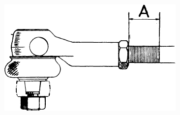
NOTE: After adjustment of toe-in, measurement "A" (Fig 1) of tie rod must not exceed 1.0" (25 mm). For tie rods opposite to each other, the difference between measurement "A" must not exceed 0.08" (2 mm).
Fig 1: View Showing Where to Measure Tie Rod Length
G09338449Courtesy of SAAB-SCANIA OF AMERICA, INC.