LEMON Manuals: Even more car manuals for everyone: 1960-2025
Home >> Saab >> 2001 >> 9-3 Base, 2D Hatchback, Automatic >> Repair and Diagnosis >> Brakes >> Traction Control >> TC/Abs System Version 5.3 - Repair >> Technical Description Control >> Switch, TCS ON/OFF >> Notes
April 5, 2026: LEMON Manuals is launched! Read the announcement.

Switch, TCS ON/OFF: Notes

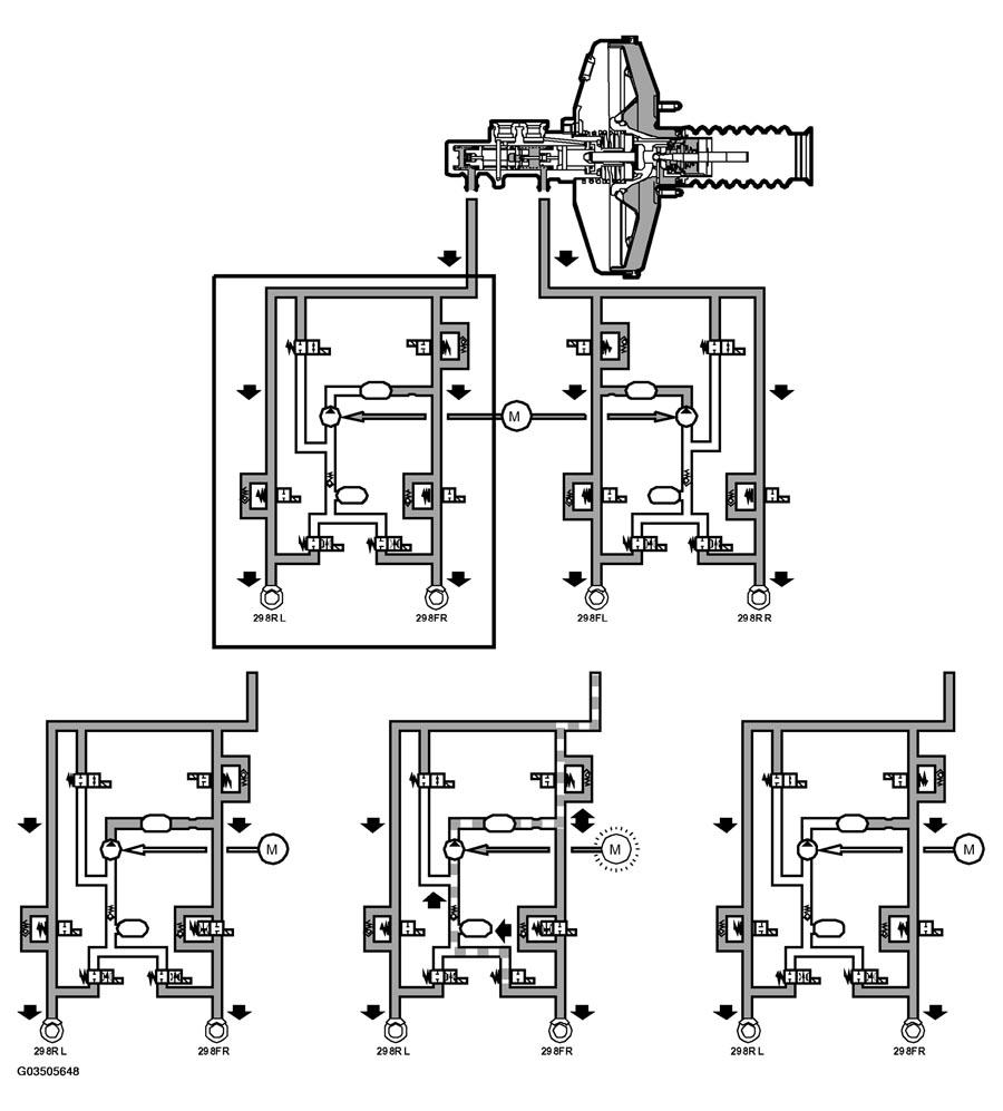
Fig 1: Other Brake Functioning - Pressure Flow Diagram (Braking Phase)
G03505648Courtesy of SAAB-SCANIA OF AMERICA, INC.
Fig 2: TCS Switch ON/OFF - Communication Diagram
G03505649Courtesy of SAAB-SCANIA OF AMERICA, INC.

The TCS function can be turned ON/OFF by means of a spring-loaded switch on the dashboard to the right of the steering wheel. Turning the TCS function off causes the TCS OFF lamp on the main instrument unit to light up.

The switch is connected to the TC/ABS control module pin 31 and to grounding point G33P (LHD) or G34S (RHD). The TC/ABS control module supplies B+ from pin 31 and when the button is depressed, the circuit is grounded and the TCS function will be engaged or disengaged depending on the current state.

The switch can be used to disengage the TCS function at speeds below 60 km/h (37.5 mph) or to engage it at an optional speed. The TCS function is always engaged when the ignition is turned ON.

The TCS OFF lamp is turned on via a bus message to MIU when TCS is disengaged.