LEMON Manuals: Even more car manuals for everyone: 1960-2025
Home >> Saab >> 2001 >> 9-3 Base, 2D Hatchback, Automatic >> Repair and Diagnosis >> Quick Lookups >> Technical Bulletins >> Campaigns >> Engine Control Systems >> Campaign 157 03 - Cable Protection, Diesel Control Module (248-2296)
April 5, 2026: LEMON Manuals is launched! Read the announcement.

Campaign 157 03 - Cable Protection, Diesel Control Module (248-2296)

Publication date: 2001-05-01
Reference number: 248-2296

CAMPAIGN 157 03 - CABLE PROTECTION, DIESEL CONTROL MODULE

CAMPAIGN 157 03 - CABLE PROTECTION, DIESEL CONTROL MODULE

SERVICE CAMPAIGN BULLETIN

Reference Number(s): 248-2296, Date of Issue:  May 2001
SAAB: 9-3 diesel
MARKET: See separate list

SUBJECT

Cable protection, diesel control module

Fig 1: Diesel Engine Fuel Pump And Chafing Guard
G00415986

SERVICE CAMPAIGN 157 03

Cars in stock must be rectified before delivery.

Cars already delivered must be rectified in connection with a scheduled visit to the workshop for service or repairs.

CARS AFFECTED

Saab 9-3 with diesel engines and VIN interval 12020001-12047951

BACKGROUND

Analysis has shown that DTCs P0606 and P0607 can be set not only by internal control module malfunction, but also when the cables between the diesel pump cover and the cable network are damaged.

SYMPTOMS

CHECK ENGINE lamp lights.

PARTS REQUIRED

53 35 161 Chafing guard

PROCEDURE

Before proceeding, check box B4 of the modification identity plate. If the box is not marked, continue as follows.

  1. Remove the upper engine cover.
  2. Fig 2: Coolant Hose For EGR
    G00415987
  3. Pull up the dipstick, bend aside the coolant hose for EGR as in Fig 2 and put the dipstick back in place.
  4. Hold down the left-hand cable guide under the connector slightly with your hand.
  5. Use a needle nose pliers to hold the chafing guard by its edge. Coat the surfaces with vaseline. The side with the raised edge should be up.
  6. Fig 3: Installing Chafing Guard
    G00415988
  7. Press the chafing guard into the opening between the engine control module cover and the cable guide. The pliers must be inserted behind the cable network.
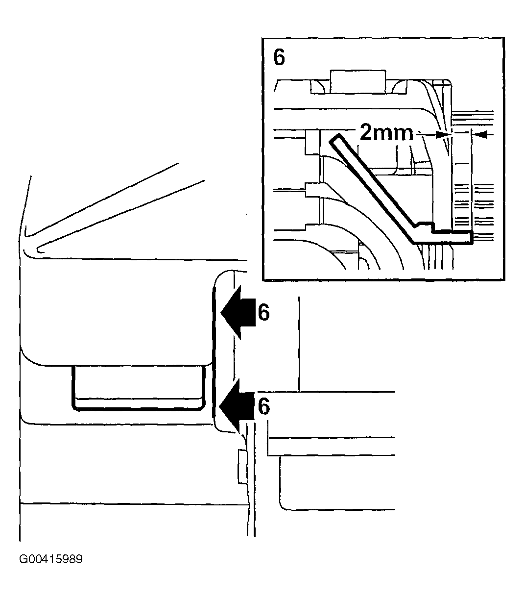
  8. Press in so that only approx. 2 mm of the chafing guard is visible and the raised edge snaps in place. The chafing guard should be fitted parallel to the diesel pump. Remove the pliers.
  9. Fig 4: Chafing Guard Exposure
    G00415989
  10. Put the EGR valve's coolant hose back in place and wipe away any oil. Replace the dipstick.
  11. Fig 5: EGR Valve's Coolant Hose
    G00415990
  12. Fit the upper engine cover.

MARKING THE MODIFICATION IDENTITY PLATE

On completion of the necessary procedure, box B4 of the modification identity plate must be marked. If the work was carried out by the importer, mark the box with a "7". If done by a dealer, mark with an "8".

STANDARD TIMES/WARRANTY INFORMATION

See separate information.