LEMON Manuals: Even more car manuals for everyone: 1960-2025
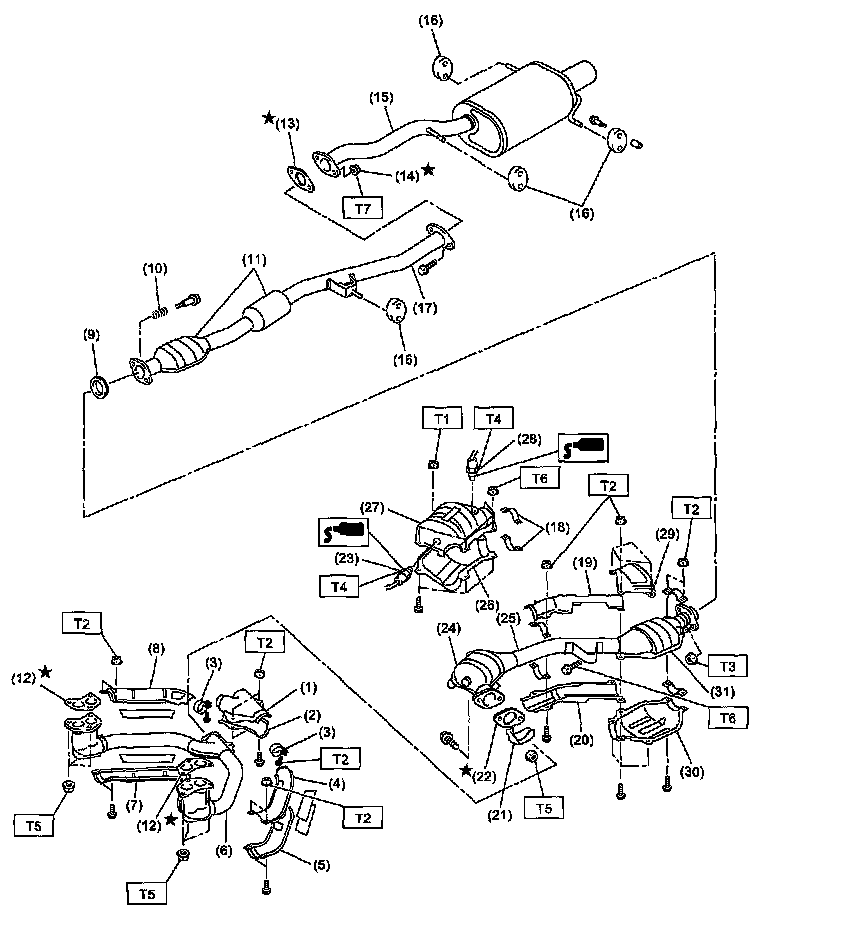
Home >> Saab >> 2005 >> 9-2X F4-2.5L >> Repair and Diagnosis >> Diagrams >> Exploded Views >> Exhaust System
April 5, 2026: LEMON Manuals is launched! Read the announcement.

Exhaust System