LEMON Manuals: Even more car manuals for everyone: 1960-2025
Home >> Saab >> 2005 >> 9-5 Linear, Automatic >> Repair and Diagnosis >> Transmission >> Automatic Trans >> Automatic Transmission >> Technical description >> Control module power supply >> Diagnostics
April 5, 2026: LEMON Manuals is launched! Read the announcement.

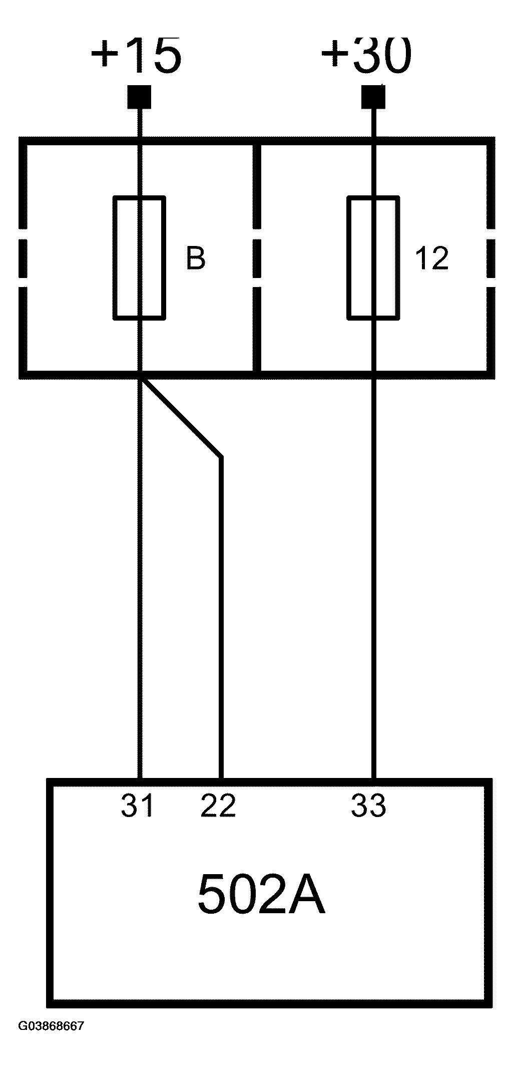
Control module power supply: Diagnostics

Should the power supply drop below 9 V or exceed 16 V for at least 0.5 seconds, diagnostic trouble code P0560 will be generated and the TCM will go into Limp-Home mode.

Fig 1: Identifying Connection Diagram
G03868667Courtesy of SAAB-SCANIA OF AMERICA, INC.