LEMON Manuals: Even more car manuals for everyone: 1960-2025
Home >> Saab >> 2006 >> 9-2X F4-2.5L Turbo >> Repair and Diagnosis >> Powertrain Management >> Emission Control Systems >> Description and Operation >> Ignition Control System
April 5, 2026: LEMON Manuals is launched! Read the announcement.

Ignition Control System

Ignition Control System




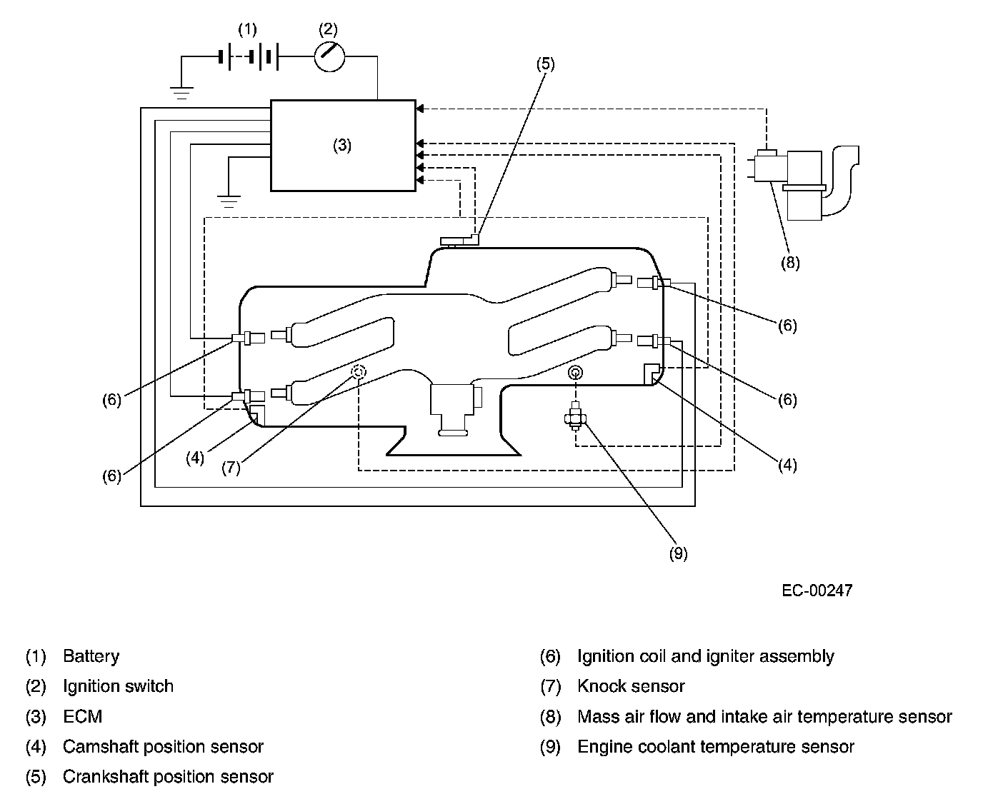
^ The ignition system is controlled by the ECM.
The ECM monitors the operating condition of the engine using the signals from the sensors and switches shown in the figure and determines the ignition timing most appropriate for each engine operating condition. Then it sends a signal to the igniter, commanding generation of a spark at that timing .
^ The ECM uses a preprogrammed map for a "closed-loop" control which provides its ignition timing control with excellent transient characteristics, i.e., highly responsive ignition timing control.