LEMON Manuals: Even more car manuals for everyone: 1960-2025
Home >> Saab >> 2010 >> 9-5 >> Repair and Diagnosis >> Engine Mechanical >> Mechanical >> Basic Engine, V6 >> Adjustment Replacement >> Thread Repair >> Recessed Thread Repair
April 5, 2026: LEMON Manuals is launched! Read the announcement.

Recessed Thread Repair

Fig 1: Identifying Hole Counterbore And Insert Flange
G09438977Courtesy of SAAB-SCANIA OF AMERICA, INC.

Refer to SAFETY GLASSES WARNING .

NOTE:
  • The use of a cutting type fluid, WD 40® or equivalent is recommended when performing the drilling, counterboring and tapping procedures. Refer to ADHESIVES, FLUIDS, LUBRICANTS, AND SEALERS  for recommended cutting fluid.
  • Do NOT remove the original stop collar from a counterbore drill.

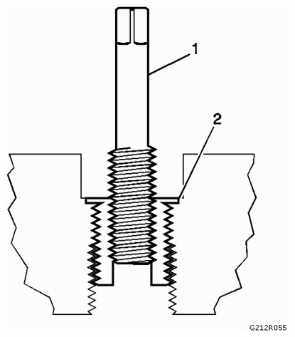
When installed to the proper depth, the flange of the insert (1) will be seated against the counterbore (2) of the drilled/tapped hole.

  1. Install a stop collar (2) on the counterbore drill (1), if required.
    Fig 2: Installing Stop Collar On Counterbore Drill
    G09438978Courtesy of SAAB-SCANIA OF AMERICA, INC.
  2. NOTE:
    • During the drilling process, it is necessary to repeatedly remove the drill and clean chips from the hole and the flutes of the drill.
    • Drill the hole until the stop collar contacts the surface of the base material.

    Drill out the threads of the damaged hole.

    Fig 3: Drilling Out Damaged Hole Threads
    G09438979Courtesy of SAAB-SCANIA OF AMERICA, INC.
  3. NOTE: All chips must be removed from the drilled hole prior to tapping.

    Using compressed air, clean out any chips.

    Fig 4: Removing Drilled Hole Chips Using Compressed Air
    G09438980Courtesy of SAAB-SCANIA OF AMERICA, INC.
  4. NOTE:
    • During the tapping process, it is necessary to repeatedly remove the tap and clean chips from the hole and the flutes of the tap.
    • Ensure the tap has created full threads at least to the depth equal to the insert length.

    Using a suitable tapping wrench, tap the threads of the drilled hole by hand only.

    Fig 5: Tapping Drilled Hole Threads Using Tapping Wrench
    G09438981Courtesy of SAAB-SCANIA OF AMERICA, INC.
  5. NOTE: All chips must be removed from the tapped hole prior to insert installation.

    Using compressed air, clean out any chips.

    Fig 6: Removing Drilled Hole Chips Using Compressed Air
    G09438982Courtesy of SAAB-SCANIA OF AMERICA, INC.
  6. Spray cleaner into the tapped hole. Refer to ADHESIVES, FLUIDS, LUBRICANTS, AND SEALERS  for recommended cleaner.
    Fig 7: Spraying Cleaner Into Tapped Hole
    G09438983Courtesy of SAAB-SCANIA OF AMERICA, INC.
  7. NOTE: All chips must be removed from the tapped hole prior to insert installation.

    Using compressed air, clean out any chips.

    Fig 8: Removing Drilled Hole Chips Using Compressed Air
    G09438984Courtesy of SAAB-SCANIA OF AMERICA, INC.
  8. NOTE: Do not allow oil or other foreign material to contact the outside diameter (OD) of the insert.

    Lubricate the threads of the driver installation tool (2) with the EN 42385-110 (1).

    Fig 9: Lubricating Driver Installation Tool Threads
    G09438985Courtesy of SAAB-SCANIA OF AMERICA, INC.
  9. Install the insert (2) onto the driver installation tool (1).
    Fig 10: Installing Insert Onto Driver Installation Tool
    G09438986Courtesy of SAAB-SCANIA OF AMERICA, INC.
  10. Apply threadlock sealant, EN 42385-109, LOCTITE 277® or equivalent (1) to the insert OD threads (2). Refer to ADHESIVES, FLUIDS, LUBRICANTS, AND SEALERS  for the recommended sealant.
    Fig 11: Applying Threadlock Sealant To Insert OD Threads
    G09438987Courtesy of SAAB-SCANIA OF AMERICA, INC.
  11. Install the insert (2) into the tapped hole by hand only.
    Fig 12: Installing Insert Into Tapped Hole
    G09438988Courtesy of SAAB-SCANIA OF AMERICA, INC.
  12. NOTE: If the insert will not thread down until the flange contacts the counterbored surface, remove the insert immediately with a screw extracting tool and inspect the tapped hole for any remaining chips and/or improper tapping.

    Install the insert until the flange (2) of the insert contacts the counterbored surface.

    Fig 13: Installing Insert Until Flange Of Insert Contacts Counterbored Surface
    G09438989Courtesy of SAAB-SCANIA OF AMERICA, INC.
  13. NOTE: The driver installation tool will tighten up before screwing completely through the insert. This is acceptable. The threads at the bottom of the insert are being formed and the insert is mechanically locking the insert into the base material threads.

    Continue to rotate the driver installation tool (1) through the insert (2).

    Fig 14: Rotating Driver Installation Tool Through Insert
    G09438990Courtesy of SAAB-SCANIA OF AMERICA, INC.
  14. Inspect the insert (1) for proper installation (2) into the tapped hole.
    Fig 15: Identifying Insert Installation Position Into Tapped Hole
    G09438991Courtesy of SAAB-SCANIA OF AMERICA, INC.
  15. Any installed insert that restricts or blocks an oil or engine coolant passage (3) will need to have the oil or engine coolant passage drilled out (4) to the original size of the oil or engine coolant passage. After drilling the restriction or blockage, clean out any chips and thread the installation driver tool through the insert again to remove any burrs caused by the drilling of the oil or engine coolant passage.
Fig 16: Identifying Engine Coolant Passage And Insert Installation Position
G09438992Courtesy of SAAB-SCANIA OF AMERICA, INC.