LEMON Manuals: Even more car manuals for everyone: 1960-2025
Home >> Saab >> 2011 >> 9-3X Automatic >> Repair and Diagnosis >> Engine Performance >> TRIONIC T8 Fuel Control System >> Component Locator >> Crimp J26, engine harness, Trionic >> Notes
April 5, 2026: LEMON Manuals is launched! Read the announcement.

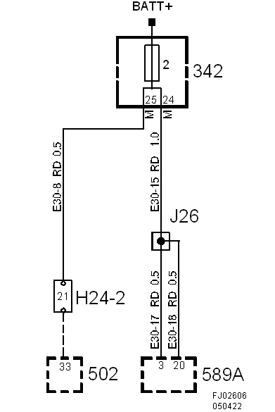
Crimp J26, engine harness, Trionic: Notes

Location:  Approx. 170 mm from branching connector H24-2 towards the engine control module

Fig 1: Crimp J26, Engine Harness, Trionic - Circuit Diagram
G06230731Courtesy of SAAB-SCANIA OF AMERICA, INC.