LEMON Manuals: Even more car manuals for everyone: 1960-2025
Home >> Saturn >> 2001 >> SC2 Standard, MP2 >> Repair and Diagnosis >> Engine Performance >> System >> Engine Control System - System Testing & Engine Component Tests >> Computerized Engine Controls >> Pcm Power & Ground Check >> PCM Harness Resistance
April 5, 2026: LEMON Manuals is launched! Read the announcement.

PCM Harness Resistance

Turn ignition switch to LOCK position. Disconnect PCM and related component harness connectors. Check for open or short circuits between PCM harness connector terminal and component harness connector terminal. See Fig 1. See WIRING DIAGRAMS article. If harness is open or shorted, repair as necessary.

Fig 1: Identifying Powertrain Control Module Harness Connector Terminals (Except Saturn 3.0L)
G98F00864Courtesy of GENERAL MOTORS CORP.
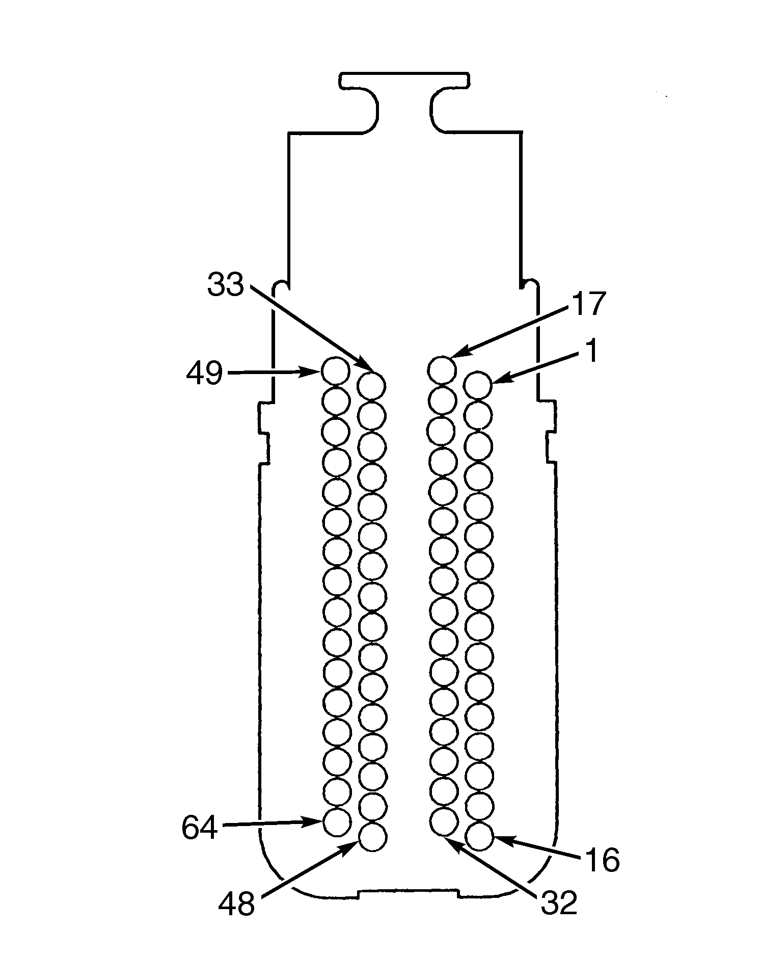
Fig 2: Identifying Powertrain Control Module Harness Connector Terminals (J1) (Saturn 1.9L)
G00530323Courtesy of GENERAL MOTORS CORP.
Fig 3: Identifying Powertrain Control Module Harness Connector Terminals (J2) (Saturn 1.9L)
G00530324Courtesy of GENERAL MOTORS CORP.
Fig 4: Identifying Powertrain Control Module Harness Connector Terminals (J1) (Saturn 3.0L)
G00531717Courtesy of GENERAL MOTORS CORP.
Fig 5: Identifying Powertrain Control Module Harness Connector Terminals (J2) (Saturn 3.0L)
G00531718Courtesy of GENERAL MOTORS CORP.