LEMON Manuals: Even more car manuals for everyone: 1960-2025
Home >> Saturn >> 2002 >> L100 L4-2.2L VIN F >> Repair and Diagnosis >> Specifications >> Mechanical Specifications >> Engine >> Cylinder Block Assembly >> System Specifications
April 5, 2026: LEMON Manuals is launched! Read the announcement.

System Specifications

Engine Torque Specifications

















L61 Specifications

Tightening Sequence

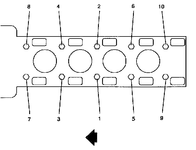
Cylinder Head Tightening Sequence:





Cylinder Head

IMPORTANT: Always use new cylinder head bolts.

- Install and tighten cylinder head bolts in sequence.
- Cylinder Head Bolts: 30 Nm (22 ft. lbs.) + 155 degrees

Intake Manifold
- Install intake manifold.
- Install intake manifold bolts and nuts. Tighten by starting from center bolt and working outward.
Intake Manifold-to-Cylinder Head Bolts: 10 Nm (89 inch lbs.)
Intake Manifold-to-Cylinder Head Nuts: 10 Nm (89 inch lbs.)





Camshaft Bearing Caps
- Install camshaft bearing caps in correct order and hand start camshaft cap bolts.





- The timing chain sprocket alignment notch on the camshaft should be oriented to the eleven o'clock position.
- Tighten camshaft bearing cap bolts in increments of three turns until they are seated.
- Camshaft Bearing Cap Bolts: 10 Nm (89 inch lbs.)





- Apply a 5 mm (13/64 inch) bead of Loctite Anaerobic Gasket Maker 518- to rear intake camshaft bearing cap.
- Install rear intake camshaft bearing cap bolts.
- Intake Camshaft Rear Bearing Cap Bolts: 25 Nm (18 ft. lbs.)





Exhaust Manifold
- Install new exhaust manifold gasket.
- Install exhaust manifold to cylinder head.
- Install exhaust manifold to cylinder head retaining nuts. Tighten nuts starting from the center and working outward.
Exhaust Manifold-to-Cylinder Head Nuts: 12 Nm (9 ft. lbs.)

Design Specifications

















General Data