LEMON Manuals: Even more car manuals for everyone: 1960-2025
Home >> Saturn >> 2002 >> L300 >> Repair and Diagnosis >> Engine Performance >> Fuel Delivery >> Fuel System >> Diagnostics >> Fuel System Testing
April 5, 2026: LEMON Manuals is launched! Read the announcement.

Fuel System Testing

The fuel system tests outlined in Figure and Figure , and detailed procedures (TEST 1  -TEST 7  ) provide a systematic approach to determining whether the fuel system, from fuel pump to fuel injectors, is functioning as intended.

For the engine to operate as designed, the fuel supply system must:

In addition, the fuel injectors must deliver the precise quantity of fuel at exactly the correct intervals with no leakage of fuel when the injector is turned off.

The tests outlined in the FUEL SYSTEM DIAGNOSIS - FUEL SUPPLY CHART  are designed to evaluate all the performance characteristics. Symptoms or complaints related to the fuel system include:

Diagnostic trouble codes associated with fuel supply problems include P0171, P0172, P0174 and P0175.

IMPORTANT:  The performance of the fuel pump (pressure and flow) is very dependent on supply voltage. The voltage must be above 12 volts when running any of the diagnostic tests. Test specifications cover the range of system operation from 12.0 to 14.0 volts, but are biased towards the lower voltages (12.0 - 12.7 volts) since all tests are run with the engine Off. All accessory loads should be Off when running any tests (DRL's, interior lights, radio, etc.) to provide maximum available voltage for the tests. If voltage is below 12.0, battery must be charged before running tests.

1 - FUEL PUMP OPERATIONAL TEST 

Test to establish whether fuel pump is operating and providing fuel to the injectors.

2 - FUEL SYSTEM PRESSURE TEST 

Basic integrity test of the fuel system to determine whether regulated operating pressure is achieved under low load conditions.

3 - FUEL FLOW/PRESSURE TESTS 

Actually a series of four tests (3A, 3B, 3C and 3D) to determine if fuel pressure is within operating limits while simulating the flow demand of the engine running at wide open throttle. These tests are run with the engine Off and provide a means (based on testing at four points in the system) of determining if the fuel feed line, fuel pump, and fuel filter are operating to design specifications.

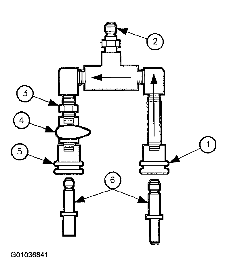
Testing is performed using the fuel flow/pressure test adapter (SA9127E-7) which incorporates a precision orifice to meter 50 liters/hr at a delivery pressure of 300 kPa (44psi) for the 3.0 liter (L81).

Fig 1: Identifying Fuel Flow/Pressure Test Adaptor Components
G01036841Courtesy of GENERAL MOTORS CORP.

The flow/pressure adapter consists of:

  1. Female, quick connect inlet fitting
  2. Male, quick connect fitting (to pressure gauge)
  3. Precision orifice fitting
  4. On/Off flow control valve

    IMPORTANT:  Flow control valve rotates 90 degrees from On (handle in-line with fitting) position to Off.

  5. Female, quick connect outlet fitting
  6. Adapter fittings - male 10 mm (3/8 in.) and 8 mm (5/16 in.) quick-connects for fuel lines to 6 mm (1/4 in.) quick-connects on test adapter.

It is connected with inlet side to fuel feed, outlet side to fuel return (or drain), and gauge port to pressure gauge or cap. The ON/OFF control valve provides a means to control fuel flow for pressure and leakdown testing.

The test criteria is the fuel pressure read while the fuel pump is energized (refer to ENERGIZING THE FUEL PUMP  ) with the engine Off. If the pressure measured is within specification then the fuel supply is capable of meeting all volume requirements of the engine.

Test 4 - Fuel Pressure Regulator and Return Line(s) Integrity Test 

Actually a series of three tests (4A, 4B, and 4C) to determine if fuel pressure regulator or fuel return lines are operating properly.

5 - FUEL SYSTEM LEAKDOWN TESTS 

Actually a series of three tests (5A, 5B, and 5C) to determine if fuel system will maintain pressure after engine and fuel pump are shut-off. Fuel pressure must be maintained after shut-off to ensure quick restarts and prevent fuel vapor from forming at the fuel rail (causing hard or extended cranks). The tests are arranged to allow isolating the problem component(s) or area by evaluating components in sequence.

6 - FUEL SUPPLY PRESSURE TESTS 

Actually a series of two tests (6A and 6B) used to determine the cause of low fuel pressure. The two tests are designed to isolate faulty components (fuel pressure regulator, fuel pump or fuel filter). This is accomplished by measuring pressure using the fuel flow/pressure adapter (SA9127E-7) in two locations.

7 - FUEL INJECTOR TIP LEAKAGE TEST 

This test determines if fuel injector(s) are leaking fuel into intake system. Leaking fuel injector(s) can cause problems with extended cranks, hard starting, and rich running conditions (DTC P0172 and/or P0175).