LEMON Manuals: Even more car manuals for everyone: 1960-2025
Home >> Saturn >> 2002 >> SC2 Automatic, MP6 >> Repair and Diagnosis >> Electrical >> Body Electrical >> OEM Connector End Views >> Connector End Views >> Lighting Systems Connector End View
April 5, 2026: LEMON Manuals is launched! Read the announcement.

Lighting Systems Connector End View

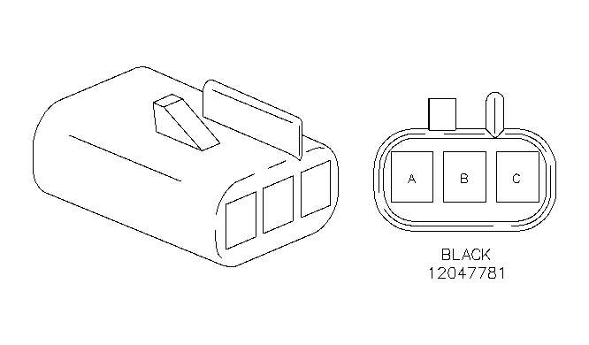
Lighting Systems

GM884274Courtesy of GENERAL MOTORS CORP.
Connector Part Information
  • Driver
  • 12047781
  • BLK
Pin Wire Color Circuit No. Function
A GRY/BLK 745 Chime Module
B - - Not Used
C BLK 550 Ground


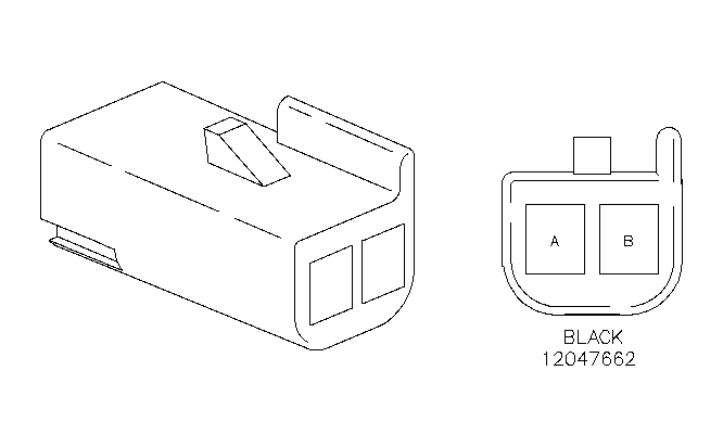
Lighting Systems

GM884414Courtesy of GENERAL MOTORS CORP.
Connector Part Information
  • Driver
  • 12047662
  • BLK
Pin Wire Color Circuit No. Function
A LT BLU/BLK 747 Chime Module
B BLK 550 Ground


Lighting Systems

GM884421Courtesy of GENERAL MOTORS CORP.
Connector Part Information
  • Front Passenger
  • 12077900
  • BLK
Pin Wire Color Circuit No. Function
A GRY 295 IPFB Lock Relay
B TAN 294 IPFB Unlock Relay


Lighting Systems

GM884421Courtesy of GENERAL MOTORS CORP.
Connector Part Information
  • Left Rear/Right Rear
  • 12077900
  • BLK
Pin Wire Color Circuit No. Function
A TAN 294 IPFB Unlock Relay
B GRY 295 IPFB Lock Relay


Lighting Systems

GM884617Courtesy of GENERAL MOTORS CORP.
Connector Part Information
  • Left
  • 12059183
  • BLK
Pin Wire Color Circuit No. Function
A ORN 40 UHFB Headlamp Fuse - B+
B PNK 1200 UHFB - HI Beam Control


Lighting Systems

GM884619Courtesy of GENERAL MOTORS CORP.
Connector Part Information
  • Left
  • 12059181
  • BLK
Pin Wire Color Circuit No. Function
A ORN 40 UHFB - Left Headlamp Fuse - B+
B DK BLU 1201 UHFB - Low Beam Control


Lighting Systems

GM884622Courtesy of GENERAL MOTORS CORP.
Connector Part Information
  • 15332152
  • NAT
Pin Wire Color Circuit No. Function
A YEL 18 I/P - Tail Lamp - Left
B BRN 9 I/P - Tail Lamp - Left
C LT BLU 1717 Hazard Switch
D PPL 16 I/P - Flasher Model
E DK GRN 19 I/P - Tail Lamp - Right
F DK BLU 1201 I/P - Tail Lamp - Right
G PNK 1200 BCM - High Beam Switch - Right
H PNK 1200 UHFB - High Beam Switch - Left
J ORN 240 Park Lamp Fuse
K BLK 350 I/P Splice Pack #2 Ground