LEMON Manuals: Even more car manuals for everyone: 1960-2025
Home >> Saturn >> 2002 >> SL2 Automatic, MP6 >> Repair and Diagnosis >> External Pages >> Different car >> Section 175 (Entertainment System) >> Repair Instructions >> Remote CD Changer Replacement >> Installation Procedure
April 5, 2026: LEMON Manuals is launched! Read the announcement.

Installation Procedure

WARNING: This page is about a different car, the 2004 Chevrolet Corvette. However, it is still accessible from the selected car via links, so may be relevant.
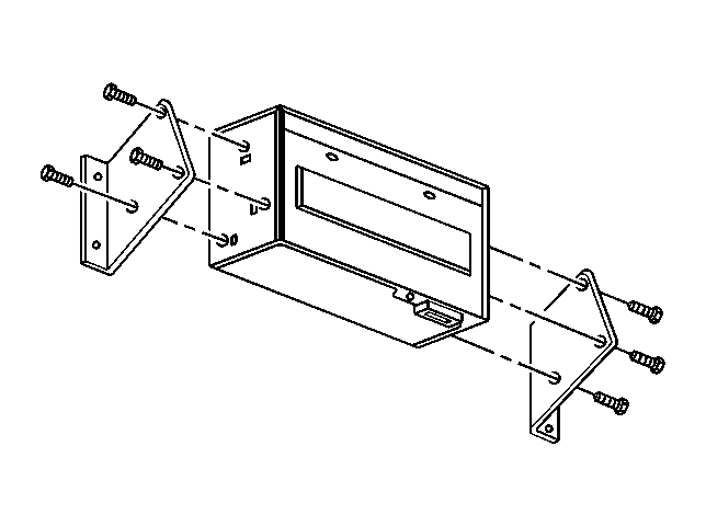
    Fig 1: CD Mounting Brackets & Bolts
    GM65120Courtesy of GENERAL MOTORS CORP.
  1. Remove the transportation pin from the remote CD changer, if installed prior.
  2. Install the mounting brackets to the remote CD changer.
  3. NOTE: Refer to Fastener Notice in Cautions and Notices.
  4. Install the remote CD changer mounting bracket bolts.

    Tighten:  Tighten the remote CD changer mounting bracket bolts to 1.9 N.m (17 lb in).

  5. Fig 2: Remote CD Changer & Mounting Nuts
    GM337876Courtesy of GENERAL MOTORS CORP.
  6. Position the remote CD changer to the studs on the center rear storage compartment rear wall.
  7. Install the nuts mounting the remote CD changer to the rear compartment wall.

    Tighten:  Tighten the remote CD changer mounting nuts to 12 N.m (106 lb in).

  8. Fig 3: Electrical/Audio Connector At Remote CD Changer
    GM171887Courtesy of GENERAL MOTORS CORP.
  9. Connect the electrical/audio connector to the remote CD changer.
  10. Position the carpet in the center rear storage compartment to cover the base of the remote compact disc (CD) changer.
  11. Install the center rear storage compartment cover.
  12. Close the rear lift window panel.
  13. Install the RDO/CD MiniFuse® #5 to the I/P electrical center.
  14. Install the cover to the I/P electrical center.
  15. Install the front floor kick -up panel. Refer to Kick -Up Panel Replacement - Front Floor in Interior Trim.