LEMON Manuals: Even more car manuals for everyone: 1960-2025
Home >> Saturn >> 2003 >> VUE L4-2.2L VIN D >> Repair and Diagnosis >> Diagrams >> Connector Views >> Engine Control Module >> C1
April 5, 2026: LEMON Manuals is launched! Read the announcement.

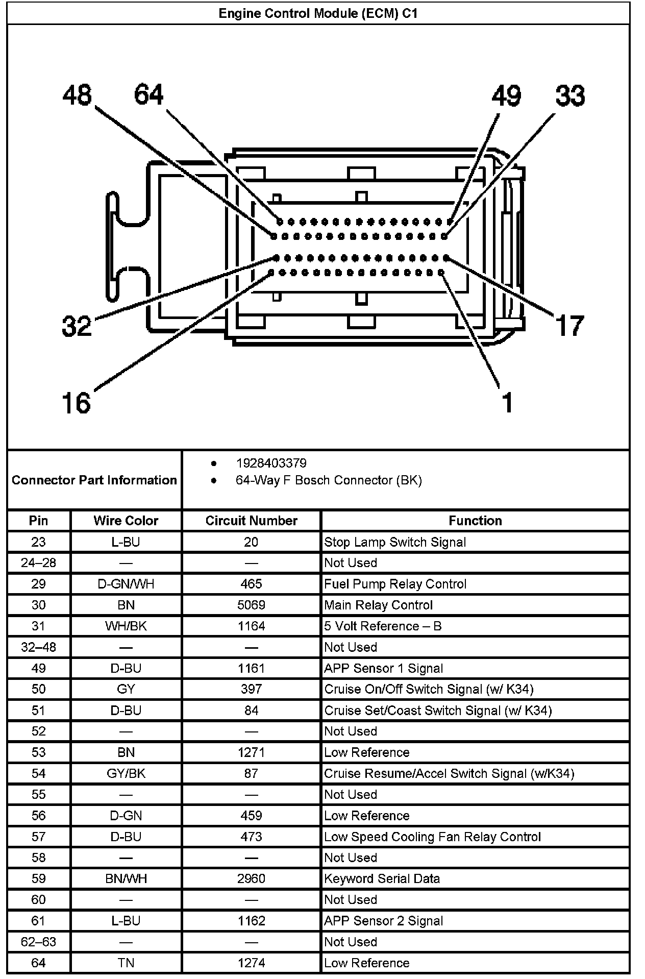
C1

Engine Control Module (ECM) C1 Part 1:




Engine Control Module (ECM) C1 Part 2: