LEMON Manuals: Even more car manuals for everyone: 1960-2025
Home >> Saturn >> 2003 >> VUE L4-2.2L VIN D >> Repair and Diagnosis >> Transmission and Drivetrain >> Continuously Variable Transmission/Transaxle >> Control Module >> Technical Service Bulletins >> All Technical Service Bulletins >> Campaign - VTi Trans. Software Upgrade/Modified Wiring >> Service Procedure
April 5, 2026: LEMON Manuals is launched! Read the announcement.

Service Procedure

1. Inspect vehicle VIN and verify customer satisfaction program involvement through your AS400 system.

2. If the vehicle is involved, it will be necessary to reprogram the transaxle control module (TCM).

Important
Saturn Service Stall System software version titled Saturn SPS Update (October 2002), mailed to retail facilities on October 15, 2002, is required to reprogram the TCM. Subsequent releases of the Saturn Service Stall System will have a different numbering convention that follows the month of release, e.g., data CD11 will be released in November and data CD12 will be released in December. Any CD release greater than or equal to data CD11 will also have the necessary files required to program the TCM. To verify current software version from within TIS2000, select "help," and then "about TIS 2000."

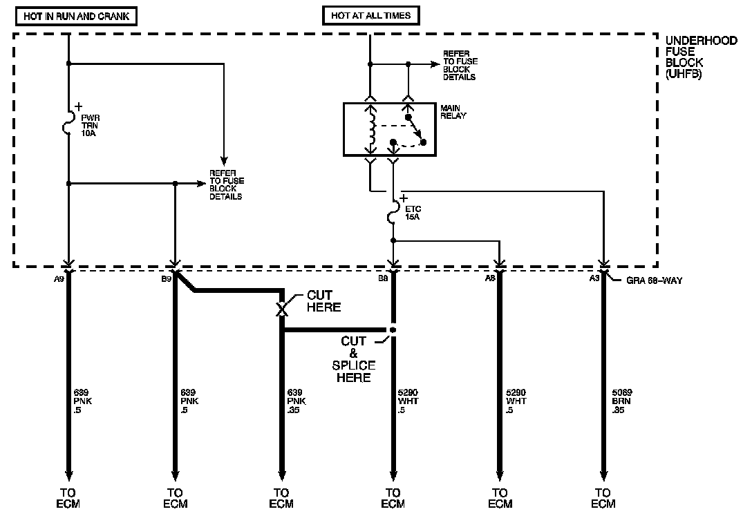
3. Reprogram the TCM with new TCM calibration. Refer to Reprogramming in the Service Programming System section of the SSS/Tech 2 User Guide for programming procedures. Underhood Fuse Block Removal (UHFB).

4. Remove the battery box cover.

5. Disconnect the negative battery cable.

6. Disconnect the positive battery cable.

7. Remove the underhood fuse block (UHFB) cover.

8. Remove the positive battery cable and electric power steering (EPS) wire from the B+ terminal at the UHFB.

9. Release the fuse block retaining clips from the battery box.

10. Release the engine harness clips from the battery box.

11. Loosen the retaining bolts at the J-2 engine harness connector from the UHFB (purple cover).

12. Unfasten the UHFB J-2 engine harness connector from the battery box and disconnect the UHFB.

13. Remove the purple cover from the J-2 engine harness connector.

14. Remove the black electrical tape from the engine wire harness, near the J-2 engine harness connector. Terminal Removal.

15. Remove the terminal position assurance (TPA) from the J-2 engine harness connector.





16. Insert the terminal lock release tool, tool number 12094430, into cavity B-8 circuit 5290A, to release 0.5 mm white wire and pull the wire out of the back of the connector.





17. Insert terminal lock release tool, tool number 12094430, into cavity B-9 circuit 639 A and B, to release 0.35 mm and 0.5 mm pink wires and pull the wires out of the back of the connector. Wire splicing.





18. From the B-9 terminal, select the larger of the two pink wires that are spliced together and cut the larger (0.5 mm) (1) of the two pink wires as close to the terminal as possible.

19. Cut off 25.4 mm (1 in) (2) from the larger 0.5 mm pink wire that was in cavity B-9 and discard it.

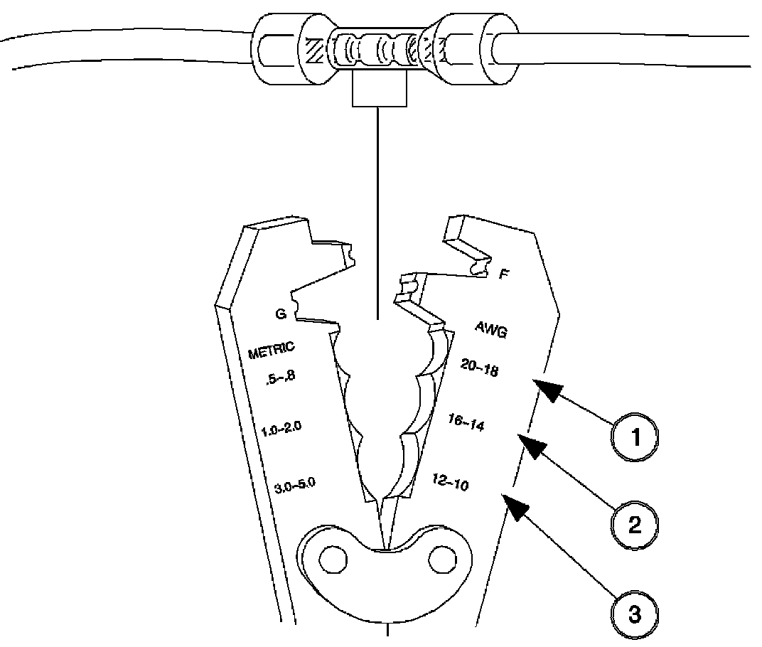
20. Strip 6.35 mm (1/4 in) (2) of insulation from the larger 0.5 mm pink wire that was removed from cavity B-9. Caution must be used to prevent cutting the wire strands.





21. From the B-8 terminal, select the white wire and cut it approximately 2 inches from the terminal end. Do not discard the 2 inch section of wire and terminal end.

22. Strip 6.35 mm (1/4 in) of insulation from the 0.5 mm white wire that was removed from cavity B-8. Caution must be used to prevent cutting the wire strands.

23. Twist together the 0.5 mm white wire circuit 5290A and 0.5 mm pink wire circuit 639A.

24. Insert the twisted pair of wires into one side of the splice sleeve, P/N 12089189, until the wires hit the stop in the center of splice sleeve.





25. Using an appropriate crimping tool, hand crimp the one side of the splice sleeve that houses the twisted pair of wires. Gently tug on wires after crimping to ensure they are secure.

26. Strip 6.35 mm (1/4 in) of insulation from the 2 inch section of 0.5 mm white wire circuit 5290A and insert it into the other end of the splice sleeve.

27. Using an appropriate crimping tool, hand crimp the other side of the splice sleeve that houses the 0.5 mm white wire circuit 5290A. Gently tug on wires after crimping to ensure they are secure.





Caution
DO NOT USE A MATCH OR OPEN FLAME TO APPLY HEAT TO SPLICE SLEEVE.





28. Apply heat using Ultratorch(R), heat gun or equivalent device, heating to 175°C (347°F) until glue flows around edges of the sleeve.

29. Insert the terminal with the single 0.35 mm pink wire into cavity B-9. Ensure the terminal locking tab is engaged by tugging on the wire.

30. Insert the terminal with the twisted pair of wires, 0.5 mm pink and 0.5 mm white, into cavity B-8. Ensure the terminal locking tab is engaged by gently tugging on the wire.

31. Reinstall the TPA into the J-2 engine harness connector. Underhood Fuse Block Installation.

32. Using electrical tape, re-tape the J-2 wire harness close to the fuse block connector.

33. Re-install the purple fuse block connector cover on to the J-2 engine harness connector.

34. Connect the J-2 engine harness connector and attach it into UHFB housing.

35. Install UHFB connector retaining bolt.

Tighten

Tighten the harness connector retainer to 4 Nm (35 lbs in).

36. Install the UHFB into the battery box.

37. Secure the engine harness into the battery box retaining clips.

38. Attach the positive battery cable and electric power steering wire to the B+ terminal at the UHFB.

Tighten

Tighten the UHFB B+ terminal nut to 10 Nm (89 lbs in).

39. Connect the positive battery cable.

Tighten

Tighten the battery terminal bolt to 17 Nm (11 lbs ft).

40. Connect the negative battery cable.

Tighten

Tighten the battery terminal bolt to 17 Nm (11 lbs ft).

41. Install the UHFB cover.

42. Install the battery box cover.

43. Affix the Identification Label on a clean and dry surface of the radiator core support, in an area clearly visible when the hood is raised. For more information, refer to IDENTIFICATION LABEL in this bulletin.