LEMON Manuals: Even more car manuals for everyone: 1960-2025
Home >> Saturn >> 2004 >> ION L4-2.0L SC VIN P >> Repair and Diagnosis >> Specifications >> Mechanical Specifications >> Engine >> Thread Repair Specifications
April 5, 2026: LEMON Manuals is launched! Read the announcement.

Thread Repair Specifications





Thread Repair Specifications

Engine Block - Front View










Engine Block - Back View










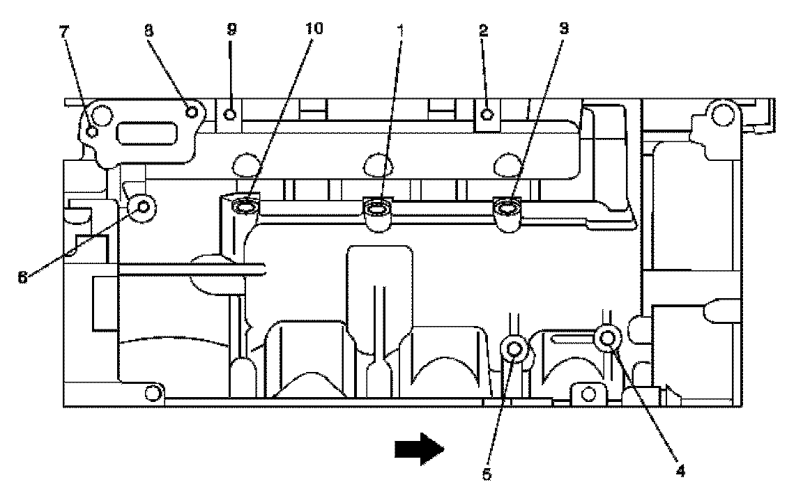
Engine Block - Left Side View










Engine Block - Bottom View














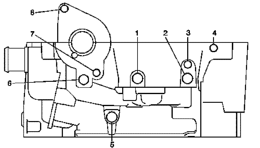
Engine Block - Right Side View










Engine Block - Top View










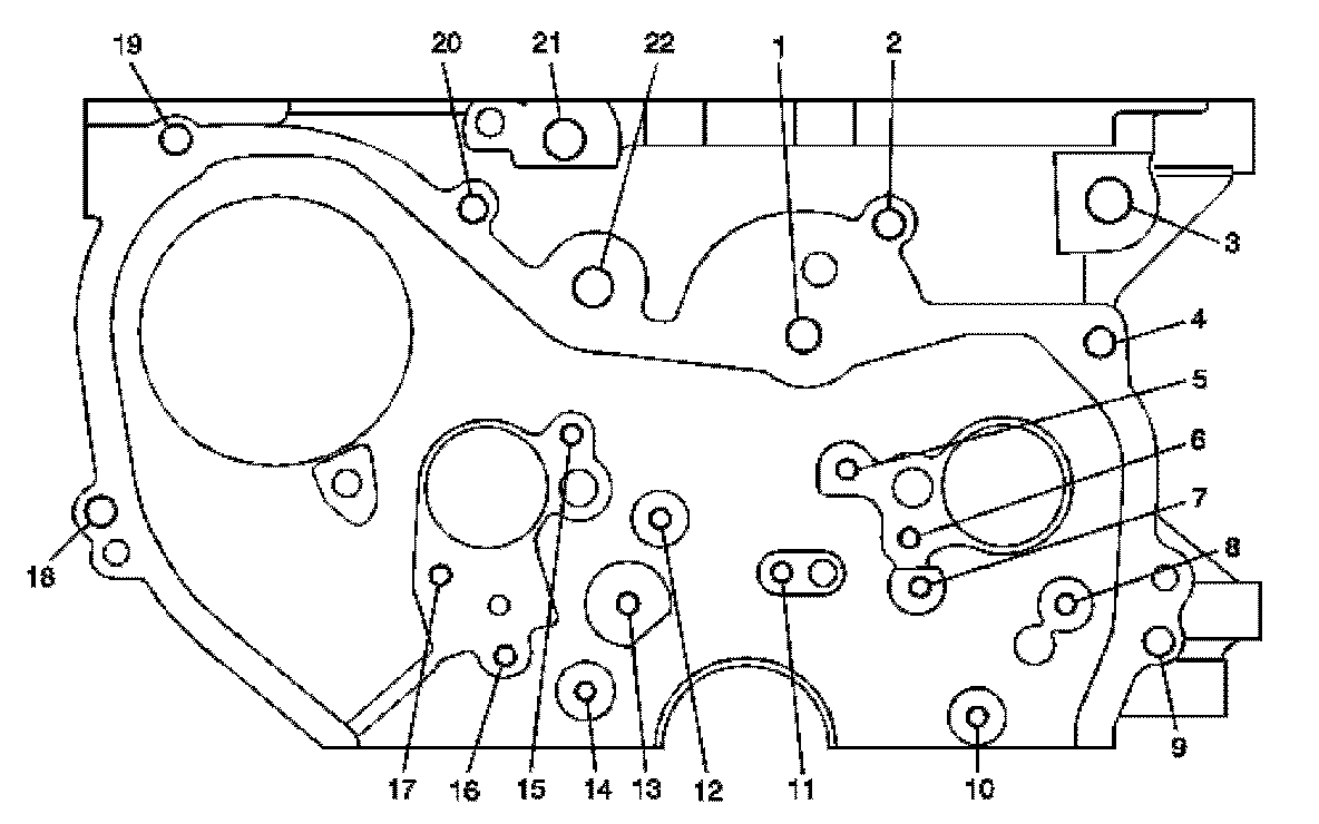
Lower Crankcase - Front View










Lower Crankcase - Back View










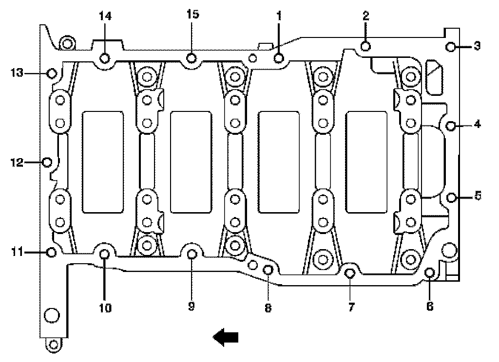
Lower Crankcase - Bottom View










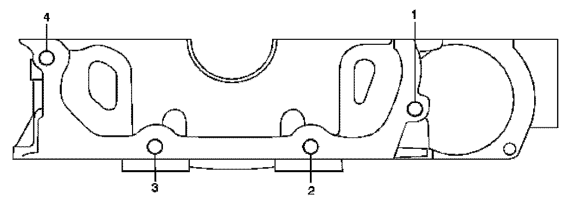
Lower Crankcase - Left View










Lower Crankcase - Right View










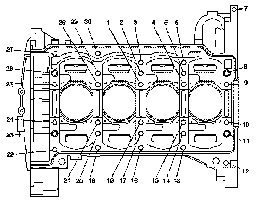
Cylinder Head - Top View


















Cylinder Head - Intake Manifold Deck View










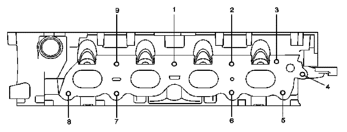
Cylinder Head - Exhaust Manifold Deck View










Cylinder Head - Front View










Cylinder Head - Back View










Cylinder Head - Bottom View