LEMON Manuals: Even more car manuals for everyone: 1960-2025
Home >> Saturn >> 2004 >> Ion 1 Automatic >> Repair and Diagnosis >> Engine Performance >> System >> Engine Controls (Introduction) >> Component Locator >> Engine Controls Connector End Views
April 5, 2026: LEMON Manuals is launched! Read the announcement.

Engine Controls Connector End Views

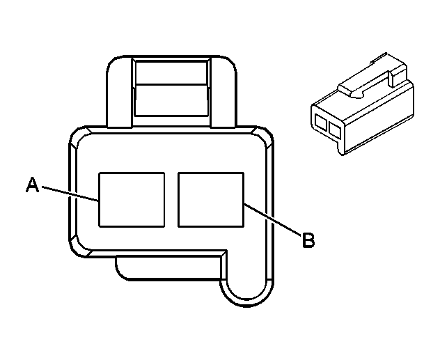
Crankshaft Position (CKP) Sensor Connector End View

GM666646Courtesy of GENERAL MOTORS CORP.
Connector Part Information
  • 15336024
  • 2-Way F Metri-Pack 150 Series GT (BK)
Pin Wire Color Circuit No. Function
1 PU 574 Low Reference
2 YE 573 CKP Sensor Signal
Engine Coolant Temperature (ECT) Sensor Connector End View

GM666646Courtesy of GENERAL MOTORS CORP.
Connector Part Information
  • 15336024
  • 2-Way F Metri-Pack 150 Series GT (BK)
Pin Wire Color Circuit No. Function
1 BK 2761 Low Reference
2 YE 410 ECT Sensor Signal
Evaporative Emission (EVAP) Canister Purge Solenoid Connector End View

GM684795Courtesy of GENERAL MOTORS CORP.
Connector Part Information
  • 12052643
  • 2-Way F Metri-Pack 150 Series Sealed (RD)
Pin Wire Color Circuit No. Function
A PK 439 Ignition 1 Voltage
B D-GN/WH 428 EVAP Canister Purge Solenoid Control
Evaporative Emission (EVAP) Canister Vent Solenoid Connector End View

GM684795Courtesy of GENERAL MOTORS CORP.
Connector Part Information
  • 12052643
  • 2-Way F Metri-Pack 150 Series Sealed (RD)
Pin Wire Color Circuit No. Function
A PK 439 Ignition 1 Voltage
B WH 1310 EVAP Canister Vent Solenoid Control
Fuel Injector 1 Connector End View

GM366123Courtesy of GENERAL MOTORS CORP.
Connector Part Information
  • 15326181
  • 2-Way F (BK)
Pin Wire Color Circuit No. Function
A PK 139 Ignition 1 Voltage
B BK 1744 Fuel Injector 1 Control
Fuel Injector 2 Connector End View

GM366123Courtesy of GENERAL MOTORS CORP.
Connector Part Information
  • 15326181
  • 2-Way F (BK)
Pin Wire Color Circuit No. Function
A PK 139 Ignition 1 Voltage
B L-GN/BK 1745 Fuel Injector 2 Control
Fuel Injector 3 Connector End View

GM366123Courtesy of GENERAL MOTORS CORP.
Connector Part Information
  • 15326181
  • 2-Way F (BK)
Pin Wire Color Circuit No. Function
A PK 139 Ignition 1 Voltage
B PK/BK 1746 Fuel Injector 3 Control
Fuel Injector 4 Connector End View

GM366123Courtesy of GENERAL MOTORS CORP.
Connector Part Information
  • 15326181
  • 2-Way F (BK)
Pin Wire Color Circuit No. Function
A PK 139 Ignition 1 Voltage
B L-BU/BK 844 Fuel Injector 4 Control
Fuel Pump Connector End View

GM872554Courtesy of GENERAL MOTORS CORP.
Connector Part Information
  • 776127-2
  • 2-Way F AMP (BK)
Pin Wire Color Circuit No. Function
1 PK/BK 120 Fuel Pump Supply Voltage
2 BK 650 Ground
Fuel Tank Pressure (FTP) Sensor Connector End View

GM516611Courtesy of GENERAL MOTORS CORP.
Connector Part Information
  • 12059595
  • 3-Way Metri-Pack 150 Series Sealed (BK)
Pin Wire Color Circuit No. Function
A RD/PK 469 Low Reference
B GY/RD 890 Fuel Tank Pressure Sensor Signal
C BN/WH 416 5-Volt Reference
Heated Oxygen Sensor (HO2S) 1 Connector End View

GM518981Courtesy of GENERAL MOTORS CORP.
Connector Part Information
  • 12160482
  • 4-Way F Metri-Pack 150 Series Sealed (BK)
Pin Wire Color Circuit No. Function
A TN 1667 HO2S Low Signal Sensor 1
B PU 1666 HO2S High Signal Sensor 1
C D-GN 676 HO2S Heater Low Control Sensor 1
D PK 439 Ignition 1 Voltage
Heated Oxygen Sensor (HO2S) 2 Connector End View

GM280761Courtesy of GENERAL MOTORS CORP.
Connector Part Information
  • 12160825
  • 4-Way M Metri-Pack 150 Series (BK)
Pin Wire Color Circuit No. Function
A TN/WH 1669 HO2S Low Signal Sensor 2
B PU/WH 1668 HO2S High Signal Sensor 2
C BK/WH 1423 HO2S Heater Low Control Sensor 2
D PK 439 Ignition 1 Voltage
Idle Air Control (IAC) Valve Connector End View

GM684948Courtesy of GENERAL MOTORS CORP.
Connector Part Information
  • 15354716
  • 4-Way F GT 150 Sealed 3.2 X 4.0 (BLK)
Pin Wire Color Circuit No. Function
A L-GN/BK 444 IAC Coil B Low Control
B L-GN/WH 1749 IAC Coil B High Control
C L-BU/BK 1748 IAC Coil A Low Control
D L-BU/WH 1747 IAC Coil A High Control
Ignition Control Module (ICM) Connector End View

GM877917Courtesy of GENERAL MOTORS CORP.
Connector Part Information
  • 15329032
  • 9-Way F (BK)
Pin Wire Color Circuit No. Function
A PK 239 Ignition 1 Voltage
B WH 423 IC Timing Control
C-D - - Not Used
E BK/WH 451 Ground
F BN/WH 633 CMP Sensor Signal
G OG 406 IC Timing Control (B)
H-J - - Not Used
Intake Air Temperature (IAT) Sensor Connector End View

GM646180Courtesy of GENERAL MOTORS CORP.
Connector Part Information
  • 12162199
  • 2-Way F Metri-Pack 150.2 Series Pull To Seat (BK)
Pin Wire Color Circuit No. Function
A TN 472 IAT Sensor Signal
B BK 2760 Low Reference
Knock Sensor (KS) Connector End View

GM684799Courtesy of GENERAL MOTORS CORP.
Connector Part Information
  • 12052643
  • 2-Way F Metri-Pack 280 Series (BK)
Pin Wire Color Circuit No. Function
A D-BU 496 Knock Sensor Signal
B GY 1716 Low Reference
Manifold Absolute Pressure (MAP) Sensor Connector End View

GM684840Courtesy of GENERAL MOTORS CORP.
Connector Part Information
  • 12129946
  • 3-Way F Metri-Pack 150 Series Sealed (M-GY)
Pin Wire Color Circuit No. Function
A OG/BK 469 Low Reference
B L-GN 432 MAP Sensor Signal
C GY 2704 5-Volt Reference
Stop Lamp Switch-Lower (K34) Connector End View

GM287957Courtesy of GENERAL MOTORS CORP.
Connector Part Information
  • 12041433
  • 2-Way F Metri-Pack 280 Series (BK)
Pin Wire Color Circuit No. Function
A PK 339 Ignition 1 Voltage
B PU 420 Stop Lamp Switch Signal
Stop Lamp Switch-Lower (w/o K34) Connector End View

GM40397Courtesy of GENERAL MOTORS CORP.
Connector Part Information
  • 12033706
  • 4-Way F Metri-Pack 280 Series (BU)
Pin Wire Color Circuit No. Function
A PK 339 Ignition 1 Voltage
B PU 420 Stop Lamp Switch Signal
C-D - - Not Used
Throttle Position (TP) Sensor Connector End View

GM646415Courtesy of GENERAL MOTORS CORP.
Connector Part Information
  • 15326808
  • 3-Way F GT 150 Sealed 4.5 (BK)
Pin Wire Color Circuit No. Function
A GY 2701 5-Volt Reference
B BK 2752 Low Reference
C D-BU 417 TP Sensor Signal