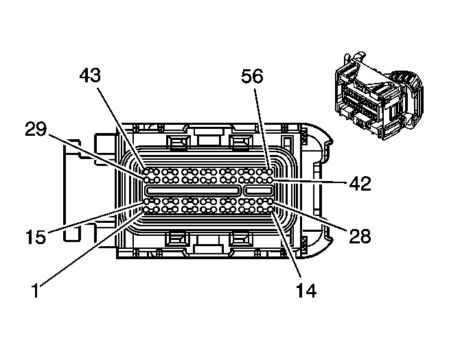
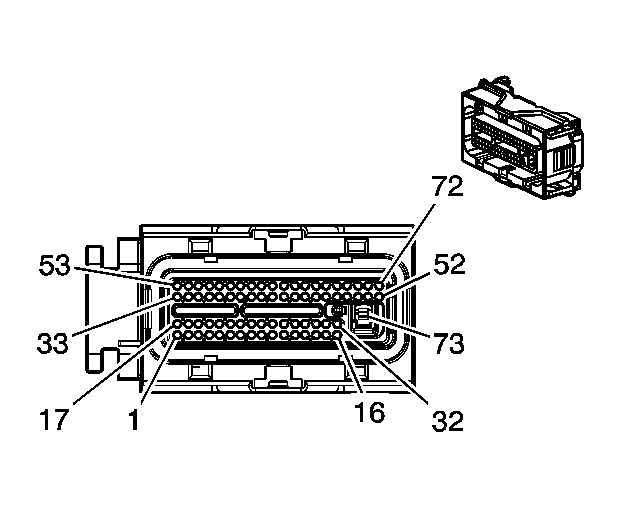
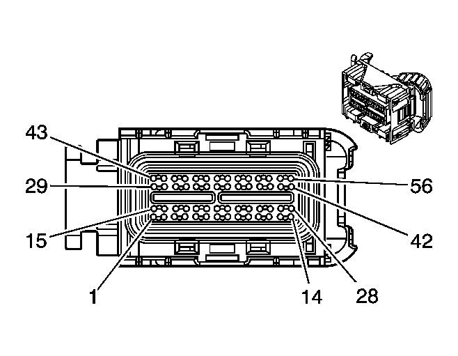
Powertrain Control Module (PCM) Connector End Views
Powertrain Control Module (PCM) C1 Terminal Identification
| Connector Part Information |
|
||
|---|---|---|---|
| Pin | Wire Color | Circuit No. | Function |
| 1-5 | - | - | Not Used |
| 6 | D-GN/WH | 459 | A/C Compressor Clutch Relay Control |
| 7 | BN | 1271 | Low Reference |
| 8 | PU | 1272 | Low Reference |
| 9 | - | - | Not Used |
| 10 | D-BU | 473 | High Speed Cooling Fan Relay Control |
| 11 | - | - | Not Used |
| 12 | PU | 1589 | Fuel Level Sensor Signal - Primary |
| 13 | PK/BK | 5290 | Ignition 1 Voltage |
| 14 | L-BU | 6118 | IAT 2 Sensor Signal |
| 15 | PU | 1807 | ECM Class 2 Serial Data |
| 16 | PU | 1807 | ECM Class 2 Serial Data |
| 17 | GY | 2700 | 5-Volt Reference |
| 18 | BN | 4 | Accessory Voltage |
| 19 | YE | 1139 | Ignition 1 Voltage |
| 20 | OG | 480 | Load Management Control |
| 21 | - | - | Not Used |
| 22 | WH | 1310 | EVAP Canister Vent Solenoid Control |
| 23 | - | - | Not Used |
| 24 | D-GN | 890 | Fuel Tank Pressure Sensor Signal |
| 25 | - | - | Not Used |
| 26 | RD/BK | 380 | A/C Refrigerant Pressure Sensor Signal |
| 27 | D-BU | 1161 | APP Sensor 1 Signal |
| 28 | - | - | Not Used |
| 29 | BK | 2759 | Low Reference |
| 30 | WH/BK | 1164 | 5-Volt Reference |
| 31 | - | - | Not Used |
| 32 | L-BU | 20 | Stop Lamp Supply Voltage/Stop Lamp Switch Signal |
| 33 | - | - | Not Used |
| 34 | PK | 2014 | Coolant Pump Relay Control |
| 35-36 | - | - | Not Used |
| 37 | D-GN/WH | 465 | Fuel Pump Relay Control - Primary |
| 38 | BN | 5069 | Main Relay Control |
| 39 | - | - | Not Used |
| 40 | BN/WH | 419 | MIL Control |
| 41 | L-BU | 1162 | APP Sensor 2 Signal |
| 42 | - | - | Not Used |
| 43 | TN | 1274 | 5-Volt Reference |
| 44 | GY | 1884 | Cruise Control Set/Coast and Resume/Accelerate Switch Signal |
| 45 | - | - | Not Used |
| 46 | PU | 420 | TCC Brake Switch/Cruise Control Release Signal |
| 47 | GY | 705 | 5-Volt Reference |
| 48 | YE | 447 | Starter Relay Coil Control |
| 49-50 | - | - | Not Used |
| 51 | D-GN | 335 | Low Speed Cooling Fan Relay Control |
| 52 | - | - | Not Used |
| 53 | BN/WH | 379 | CPP Switch Signal |
| 54 | D-GN | 1433 | PNP/Clutch Start Switch Signal |
| 55 | - | - | Not Used |
| 56 | BK | 2751 | Low Reference |
Powertrain Control Module (PCM) C2 Terminal Identification
| Connector Part Information |
|
||
|---|---|---|---|
| Pin | Wire Color | Circuit No. | Function |
| 1 | RD | 225 | Generator Turn On Signal |
| 2 | D-GN | 485 | TP Sensor 1 Signal |
| 3 | - | - | Not Used |
| 4 | GY | 596 | 5-Volt Reference |
| 5 | GY | 2704 | 5-Volt Reference |
| 6 | GY | 2701 | A/C Refrigerant Pressure Sensor Signal (C60) |
| 7 | PU | 486 | TP Sensor 2 Signal |
| 8 | D-GN | 6291 | 5-Volt Reference |
| 9 | L-BU/BK | 1688 | 5-Volt Reference |
| 10-15 | - | - | Not Used |
| 16 | PU | 6413 | Low Reference |
| 17 | YE | 573 | CKP Sensor 1 Signal |
| 18 | PU | 574 | Low Reference |
| 19 | - | - | Not Used |
| 20 | D-GN/WH | 6292 | Low Reference |
| 21 | PK/BK | 632 | Low Reference |
| 22-24 | - | - | Not Used |
| 25 | TN/WH | 1669 | HO2S Low Signal Bank 1 Sensor X |
| 26 | BN/WH | 633 | Camshaft Position Signal |
| 27-28 | - | - | Not Used |
| 29 | GY | 1724 | Boost Control Solenoid Control |
| 30 | OG/BK | 469 | Low Reference |
| 31 | - | - | Not Used |
| 32 | TN | 1667 | HO2S Low Signal Bank 2 Sensor 1 |
| 33 | BK | 1744 | Fuel Injector 1 Control |
| 34 | - | - | Not Used |
| 35 | YE | 410 | ECT Sensor Signal |
| 36 | BK/WH | 1704 | Low Reference |
| 37 | GY | 6337 | MAP Sensor Signal |
| 38 | L-GN | 432 | SCIP Sensor Signal |
| 39 | BK | 2752 | Low Reference |
| 40 | BN/WH | 6405 | IC 1 Signal |
| 41 | YE | 492 | MAF Sensor Signal |
| 42 | D-GN/WH | 6407 | IC 4 Signal |
| 43 | BK/WH | 1423 | HO2S Heater Low Control Bank 1 Sensor 2 |
| 44 | - | - | Not Used |
| 45 | GY | 23 | Generator Field Duty Cycle Signal |
| 46 | PU/WH | 1668 | HO2S High Signal Bank 1 Sensor X |
| 47 | - | - | Not Used |
| 48 | PU | 1666 | HO2S High Signal Bank 2 Sensor 1 |
| 49-50 | - | - | Not Used |
| 51 | TN | 472 | IAT Sensor Signal |
| 52 | BK | 2761 | Low Reference |
| 53 | L-GN/BK | 1745 | Fuel Injector 2 Control |
| 54 | L-BU/BK | 844 | Fuel Injector 4 Control |
| 55 | PK/BK | 1746 | Fuel Injector 3 Control |
| 56-57 | - | - | Not Used |
| 58 | D-GN | 676 | HO2S Heater High Control Bank 1 Sensor 1 |
| 59 | D-BU/WH | 6406 | IC 3 Signal |
| 60 | L-BU/WH | 6408 | IC 2 Signal |
| 61-63 | - | - | Not Used |
| 64 | BK | 2760 | Low Reference |
| 65 | BN | 582 | TAC Motor Control 2 |
| 66 | YE | 581 | TAC Motor Control 1 |
| 67 | - | - | Not Used |
| 68 | D-BU | 496 | Knock Sensor 1 Signal |
| 69 | GY | 1716 | Low Reference |
| 70-72 | - | - | Not Used |
| 73 | BK/WH | 451 | Ground |
Powertrain Control Module (PCM) C3 Terminal Identification
| Connector Part Information |
|
||
|---|---|---|---|
| Pin | Wire Color | Circuit No. | Function |
| 1-14 | - | - | Not Used |
| 15 | TN/BK | 231 | Oil Pressure Switch Signal |
| 16-21 | - | - | Not Used |
| 22 | WH/BK | 2932 | 5-Volt Reference |
| 23-30 | - | - | Not Used |
| 31 | GY/BK | 433 | BARO Sensor Signal |
| 32-35 | - | - | Not Used |
| 36 | OG/BK | 6014 | Low Reference |
| 37 | D-GN/WH | 428 | EVAP Canister Purge Solenoid Control |
| 38-43 | - | - | Not Used |
| 44 | PU | 401 | Signal Low - Front/VSS Low Signal/OSS Low Signal |
| 45 | YE | 400 | Signal High - Front/VSS High Signal/OSS High Signal |
| 46-56 | - | - | Not Used |