LEMON Manuals: Even more car manuals for everyone: 1960-2025
Home >> Saturn >> 2004 >> Ion Red Line >> Repair and Diagnosis >> Engine Performance >> System >> Engine Controls (Introduction) >> Repair Instructions >> Fuel Level Sensor Replacement >> Removal Procedure
April 5, 2026: LEMON Manuals is launched! Read the announcement.

Removal Procedure

CAUTION: Refer to Gasoline/Gasoline Vapors Caution in Cautions and Notices.
  1. Remove the fuel pump module assembly. Refer to Fuel Pump Module Replacement .
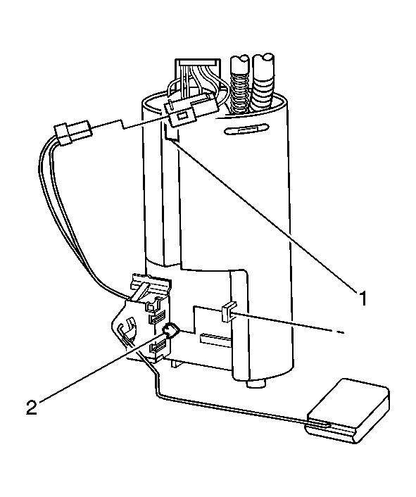
  2. Release the fuel level sensor wiring harness from the molded-in tab (1) on the pump module bowl.
  3. Disconnect the fuel level sensor electrical connector from the pump module.
  4. Depress the retaining tab (2) on the sensor and begin to slide the level sensor away from the pump module.
  5. Carefully slide the level sensor the rest of the way off of the pump module.
  6. Fig 1: View Of Fuel Level Sensor Tabs
    GM889989Courtesy of GENERAL MOTORS CORP.