LEMON Manuals: Even more car manuals for everyone: 1960-2025
Home >> Saturn >> 2004 >> Ion Red Line >> Repair and Diagnosis >> External Pages >> Different car >> Section 103 (Lighting System) >> Component Locator >> Lighting Systems Component Views
April 5, 2026: LEMON Manuals is launched! Read the announcement.

Lighting Systems Component Views

WARNING: This page is about a different car, the 2007 Saturn Ion Red Line, 2007 Saturn Ion 3, and 2007 Saturn Ion 2. However, it is still accessible from the selected car via links, so may be relevant.
Fig 1: Top Of I/P Component View
GM897561Courtesy of GENERAL MOTORS CORP.
Callout Component Name
1 Ambient Light Sensor (T82)
Fig 2: Center Console Of Vehicle (M43 or M75) Component View
GM897547Courtesy of GENERAL MOTORS CORP.
Callout Component Name
1 A/T Shift Lock Control Solenoid
2 Ignition Lock Cylinder Control Switch
3 A/T Shift Indicator Lamp
4 C351
Fig 3: Driver Door Component View
GM1538473Courtesy of GENERAL MOTORS CORP.
Callout Component Name
1 Driver Outside Rearview Mirror
2 LF Door Tweeter Speaker (UZ6)
3 Driver Door Jamb Switch
4 Instrument Panel (I/P) Dimmer Switch
5 Fog Lamp Switch (T37)
6 Rear Compartment Lid Release Switch
7 LF Door Speaker
8 Outside Rearview Mirror Switch (DG7)
9 Window Switch - Driver (A31)
10 Door Lock Switch - Driver (AU3)
Fig 4: Front Passenger Door Component View
GM1538474Courtesy of GENERAL MOTORS CORP.
Callout Component Name
1 Radio
2 Passenger Door Jamb Switch
3 RF Door Tweeter Speaker (UZ6)
4 Radio Antenna
5 Passenger Outside Rearview Mirror
6 Front Passenger Door Lock Switch (AU3)
7 Front Passenger Window Switch (A31)
8 RF Door Speaker
Fig 5: Luggage Compartment Component View
GM1538475Courtesy of GENERAL MOTORS CORP.
Callout Component Name
1 LR Speaker
2 Audio Amplifier (UZ6)
3 Rear Compartment Courtesy Lamp
4 RR Speaker
Fig 6: Headliner Component View
GM1538477Courtesy of GENERAL MOTORS CORP.
Callout Component Name
1 Courtesy/Reading Lamp (C74)
2 Sunroof Switch (CF5)
3 Sunroof (CF5)
4 Dome Lamp
Fig 7: Rear Of Passenger Compartment Component View
GM1538491Courtesy of GENERAL MOTORS CORP.
Callout Component Name
1 Dome Lamp
2 Center High Mounted Stop Lamp (CHMSL)
3 Rear Window Defogger Grid
Fig 8: Left Rear End Of Vehicle Component View
GM897595Courtesy of GENERAL MOTORS CORP.
Callout Component Name
1 Tail/Turn Signal Lamp - Left
2 Tail/Stop Lamp - Left
3 Backup Lamp - Left
Fig 9: Right Rear End Of Vehicle Component View
GM897588Courtesy of GENERAL MOTORS CORP.
Callout Component Name
1 Tail/Turn Signal Lamp - Right
2 Tail/Stop Lamp - Right
3 Backup Lamp - Right
Fig 10: Right Rear Door Jamb Switch In B-Pillar Component View - Sedan
GM897782Courtesy of GENERAL MOTORS CORP.
Callout Component Name
1 Door Jamb Switch - RR, LR Similar
Fig 11: Left Front Side Of Vehicle Component View
GM897835Courtesy of GENERAL MOTORS CORP.
Callout Component Name
1 Windshield Washer Fluid Pump
2 Horn
3 Fog Lamp - LF
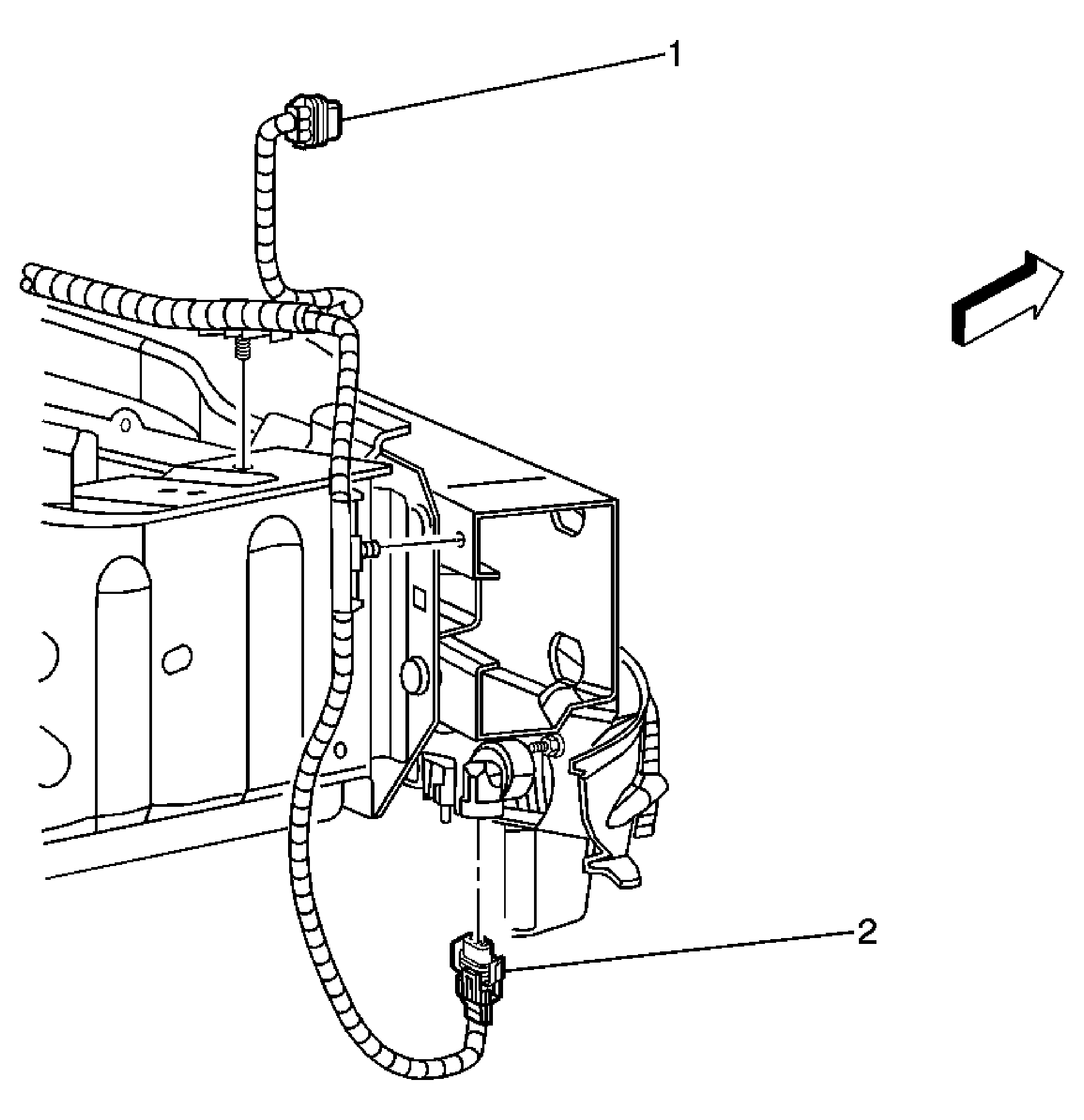
Fig 12: Right Front Of Vehicle (T37) Component View
GM897608Courtesy of GENERAL MOTORS CORP.
Callout Component Name
1 C110
2 Fog Lamp RF
Fig 13: Instrument Panel Component Views
GM1538303Courtesy of GENERAL MOTORS CORP.
Callout Component Name
1 Turn Signal/Multifunction Switch
2 Windshield Wiper/Washer Switch
3 Hazard Switch
4 Instrument Panel Cluster (IPC)
5 Traction Control Switch (NW7)
6 Radio
7 A/T Shifter (MN5)
8 HVAC Control Assembly
9 Steering Wheel Controls - Right (K34)
10 Steering Wheel Controls - Left (K34)
11 Rear Compartment Lid Release Switch
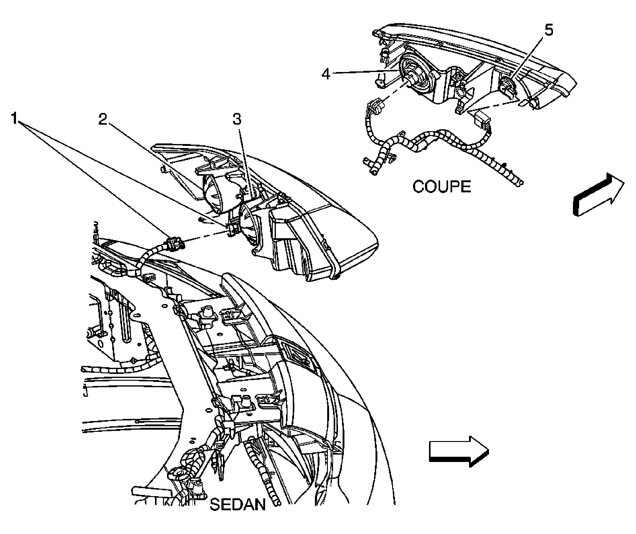
Fig 14: Left Front Of Vehicle Component View
GM897864Courtesy of GENERAL MOTORS CORP.
Callout Component Name
1 C111 (Sedan), C110 Similar on Right
2 Park/Turn Signal Lamp - LF (Sedan), RF Similar
3 Headlamp - Left (Sedan), Right Similar
4 Headlamp - Left (Coupe), Right Similar
5 Park/Turn Signal Lamp - LF (Coupe), RF Similar
Fig 15: Left Side Of I/P, Under Tie Bar (T82) Component View
GM1547344Courtesy of GENERAL MOTORS CORP.
Callout Component Name
1 I/P Tie Bar
2 Data Link Connector (DLC)
3 Headlamp Relay
Fig 16: Vehicle Rear Gate Component View
GM897671Courtesy of GENERAL MOTORS CORP.
Callout Component Name
1 Rear Component Lid Latch
2 License Lamp
3 C401
Fig 17: Left Front Side Of Vehicle Component View (Coupe)
GM897937Courtesy of GENERAL MOTORS CORP.
Callout Component Name
1 Marker Lamp - LF, RF Similar
Fig 18: Lower Left Front Of I/P Component View
GM898038Courtesy of GENERAL MOTORS CORP.
Callout Component Name
1 Stop Lamp Switch - Upper
2 Stop Lamp Switch - Lower
Fig 19: Rear Of Engine Component View (2.2L)
GM897816Courtesy of GENERAL MOTORS CORP.
Callout Component Name
1 Backup Lamp Switch (M86)
2 Engine Coolant Tempareture Sensor (ECT)
3 Heated Oxygen Sensor (HO2S)1
4 Heated Oxygen Sensor (HO2S)2 Connector
Fig 20: Top Of Transmission (MU3) Component View
GM1540077Courtesy of GENERAL MOTORS CORP.
Callout Component Name
1 Backup Lamp Switch