LEMON Manuals: Even more car manuals for everyone: 1960-2025
Home >> Saturn >> 2004 >> Ion Red Line >> Repair and Diagnosis >> External Pages >> Different car >> Section 164 (Engine Cooling System) >> Component Locator >> Cooling System Component Views
April 5, 2026: LEMON Manuals is launched! Read the announcement.

Cooling System Component Views

WARNING: This page is about a different car, the 2007 Saturn Ion Red Line, 2007 Saturn Ion 3, and 2007 Saturn Ion 2. However, it is still accessible from the selected car via links, so may be relevant.
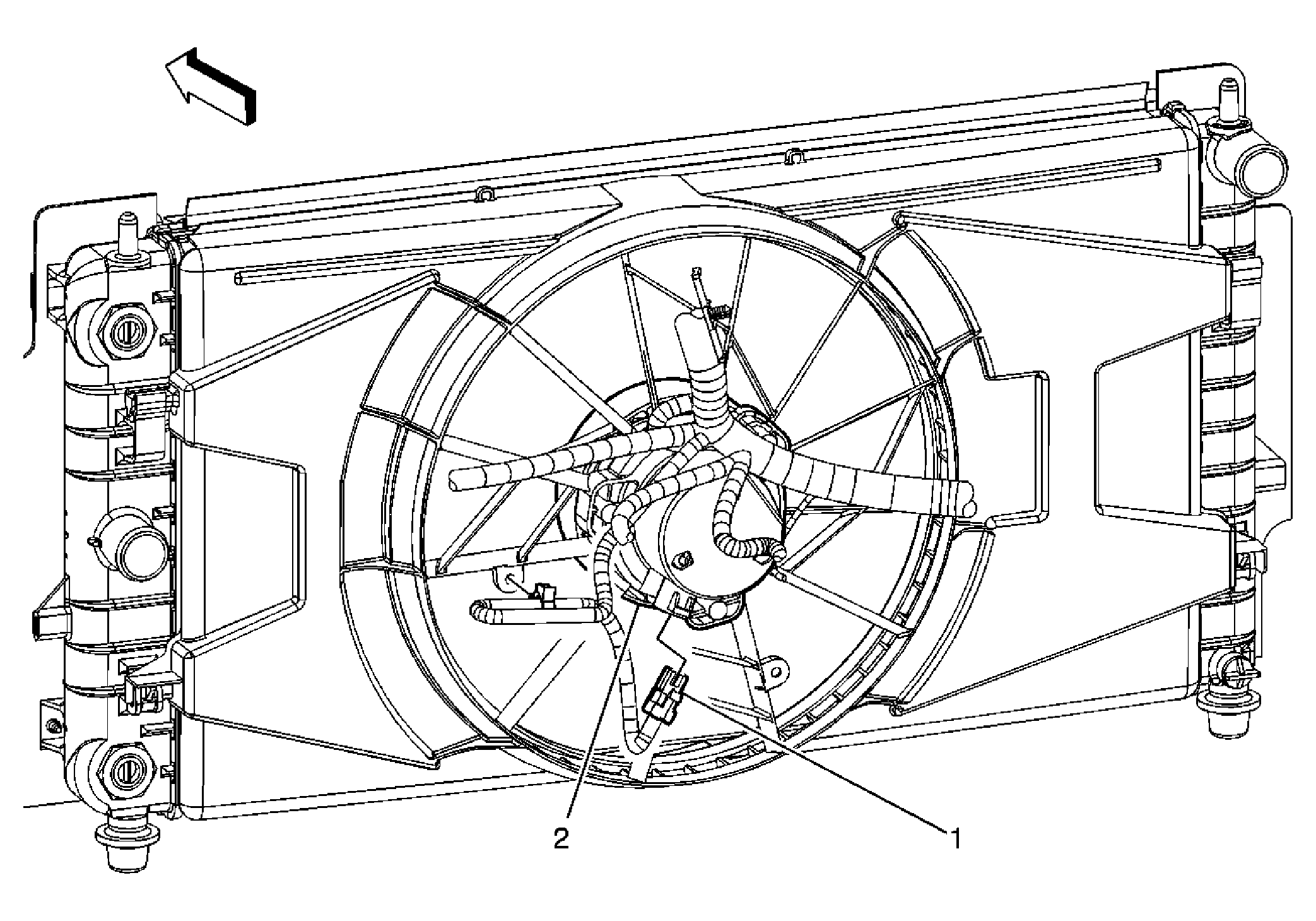
Fig 1: Front Of Engine Compartment Component View (2.2L)
GM1402788Courtesy of GENERAL MOTORS CORP.
Callout Component Name
1 Cooling Fan Connector
2 Cooling Fan
Fig 2: Front Of Engine Compartment Component View (2.0L)
GM1402791Courtesy of GENERAL MOTORS CORP.
Callout Component Name
1 Cooling Fan 1 Connector
2 Cooling Fan 1
3 Cooling Fan S/P Relay
4 Cooling Fan 2
5 Cooling Fan 2 Relay
6 Cooling Fan 2 Connector
Fig 3: Front of Engine Compartment View
GM1614946Courtesy of GENERAL MOTORS CORP.
Callout Component Name
1 A/C Compressor
2 A/C Refrigerant Pressure Sensor
3 Cooling Fan Resistor
4 Cooling Fan 2 Relay
5 Cooling Fan Connector
6 Engine Harness
Fig 4: LR Of Engine Compartment Component View
GM1402792Courtesy of GENERAL MOTORS CORP.
Callout Component Name
1 Radiator Surge Tank
2 Coolant Level Switch Connector