LEMON Manuals: Even more car manuals for everyone: 1960-2025
Home >> Saturn >> 2004 >> Ion Red Line >> Repair and Diagnosis >> Quick Lookups >> Wiring Diagrams >> OEM Connector End Views >> Connector End Views >> Transmission Control Module Harness 64-way Connector End View C2
April 5, 2026: LEMON Manuals is launched! Read the announcement.

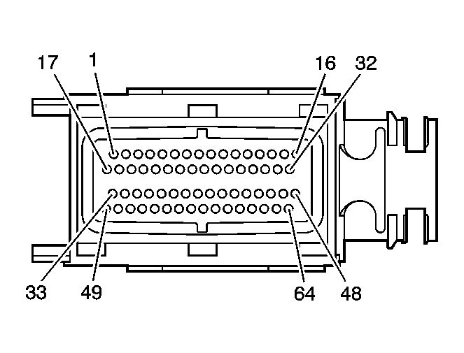
Transmission Control Module Harness 64-way Connector End View C2

Transmission Control Module Harness 64-way Connector End View C2

GM884060Courtesy of GENERAL MOTORS CORP.
Connector Part
Information
  • 1928403386
  • CONN 64F Micro 64 Series (BK)
Cavity Wire Color Circuit No. Function
1 - - Not Used
2 YE 657 Transmission Fluid Pressure Sensor Signal
3-5 - - Not Used
6 PU 401 OSS Low Signal
7-10 - - Not Used
11 PU/WH 5506 Ratio Control Motor B1 Low Control
12 - - Not Used
13 D-GN 5507 Ratio Control Motor A2 Low Control
14 L-GN/WH 5505 Ratio Control Motor A1 Low Control
15 - - Not Used
16 D-BU/ WH 5502 TCC Enable Solenoid Valve Low Control
17 - - Not Used
18 BK/WH 771 Transmission Range Switch Signal A
19 - - Not Used
20 OG/BK 586 Transmission Fluid Temperature Sensor Low Reference
21-28 - - Not Used
29 BK 452 Low Reference
30 PK/ BK 5501 TCC Enable Solenoid Valve High Control
31 OG/BK 5504 Ratio Control Motor B2 Low Control
32-43 - - Not Used
44 YE/ BK 5500 TCC Pressure Control Solenoid Valve Low Control
45 BN 418 TCC Pressure Control Solenoid Valve High Control
46-48 - - Not Used
49 WH 776 Transmission Range Switch Signal P
50 WH 5503 Line Pressure Control Solenoid Valve Low Control
51 D-BU 1530 Line Pressure Control Solenoid Valve High Control
52 GY 773 Transmission Range Switch Signal C
53 - - Not Used
54 YE 400 OSS High Signal
55 D-BU/WH 1231 ISS Low Signal
56 TN/WH 585 Transmission Fluid Temperature Sensor Signal
57 GY 596 5-Volt Reference
58 RD/BK 1230 ISS High Signal
59 YE 772 Transmission Range Switch Signal B
60-64 - - Not Used