LEMON Manuals: Even more car manuals for everyone: 1960-2025
Home >> Saturn >> 2004 >> Vue Red Line, AWD >> Repair and Diagnosis >> Transmission >> Automatic Trans >> Automatic Transmission, 5AT (Introduction) >> Description and Operation >> Transmission Component and System Description >> Electronic Control System >> Shift Control
April 5, 2026: LEMON Manuals is launched! Read the announcement.

Shift Control

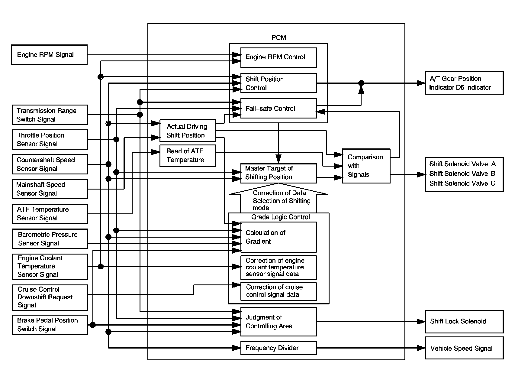
The PCM instantly determines which gear should be selected by various signals sent from sensors and switches, and it actuates the SS valves A, B, and C to control shifting.

Grade logic control system has been adopted to control shifting in the D, I and L positions. The PCM compares actual driving conditions with memorized driving conditions, based on the input from the throttle position sensor, the engine coolant temperature sensor, the barometric pressure sensor, the brake pedal position switch signal, and the shift lever position signal, to control shifting while the vehicle is ascending or descending a slope.

Fig 1: Shift Control
GM1254634Courtesy of GENERAL MOTORS CORP.