LEMON Manuals: Even more car manuals for everyone: 1960-2025
Home >> Saturn >> 2005 >> ION L4-2.2L VIN F >> Repair and Diagnosis >> Body and Frame >> Frame >> Subframe >> Front Subframe >> Service and Repair >> Suspension Support Replacement - Front
April 5, 2026: LEMON Manuals is launched! Read the announcement.

Suspension Support Replacement - Front

Suspension Support Replacement - Front

Removal Procedure

CAUTION:
- To avoid personal injury when exposed to welding flashes or to galvanized (Zinc Oxide) metal toxic fumes while grinding/cutting on any type of metal or sheet molded compound, you must work in a properly ventilated area, wearing an approved respirator, eye protection, earplugs, welding gloves, and protective clothing.
- When performing service on or near the SIR components or the SIR wiring, the SIR system must be disabled. Refer to SIR Disabling and Enabling Zones. Failure to observe the correct procedure could cause deployment of the SIR components, personal injury, or unnecessary SIR system repairs.





1. Disable the SIR system.

CAUTION: Before servicing any electrical component, the ignition key must be in the OFF or LOCK position and all electrical loads must be OFF, unless instructed otherwise in these procedures. If a tool or equipment could easily come in contact with a live exposed electrical terminal, also disconnect the negative battery cable. Failure to follow these precautions may cause personal injury and/or damage to the vehicle or its components.

2. Disconnect the negative battery cable.
3. Remove all related panels and components.
4. Repair as much of the damage as possible.
5. Remove the sealers and anti-corrosion materials from the repair area, as necessary.

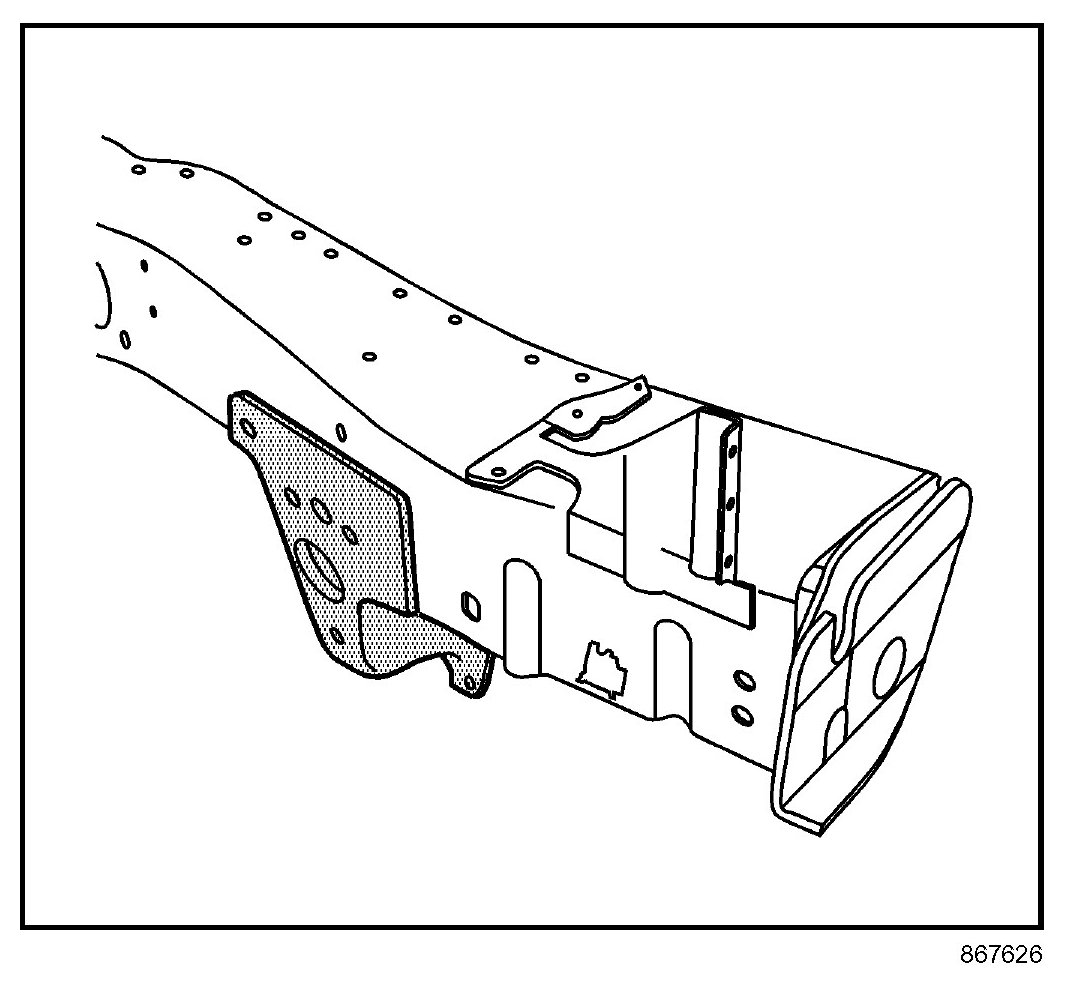
IMPORTANT: Note the number and location of the factory welds for installation of the front suspension support.




6. Locate and drill out all the necessary factory welds.




7. Remove the front suspension support.

Installation Procedure

IMPORTANT: If the location of the original plug weld holes can not be determined, space the plug weld holes every 40 mm (1 1/2 in) apart.




1. Drill 8 mm (5/16 in) plug weld holes in the service part as necessary in the locations noted from the original panel.
2. Prepare all mating surfaces as necessary.
3. Apply 3M Weld-Thru Coating P/N 05916 or equivalent to all mating surfaces.




4. Position the front suspension support to the vehicle using 3-dimensional measuring equipment. Clamp the support into place.




5. Plug weld accordingly.
6. Clean and prepare all of the welded surfaces.
7. Install all of the related panels and components.
8. Apply the sealers and anti-corrosion materials to the repair area, as necessary.
9. Paint the repaired area.
10. Connect the negative battery cable.
11. Enable the SIR system.